TOP
|
特許
|
意匠
|
商標
特許ウォッチ
Twitter
他の特許を見る
10個以上の画像は省略されています。
公開番号
2025156630
公報種別
公開特許公報(A)
公開日
2025-10-14
出願番号
2025135195,2021069020
出願日
2025-08-14,2021-04-15
発明の名称
変倍光学系、光学機器、および変倍光学系の製造方法
出願人
株式会社ニコン
代理人
個人
,
個人
,
個人
,
個人
,
個人
主分類
G02B
15/20 20060101AFI20251002BHJP(光学)
要約
【課題】小型でありながら良好な光学性能を有する変倍光学系を提供する。
【解決手段】変倍光学系ZLは、負の屈折力を有する第1レンズ群G1と、少なくとも1つのレンズ群を有する後群GRとからなり、変倍の際に、隣り合う各レンズ群の間隔が変化し、後群GRにおけるいずれかのレンズ群の少なくとも一部は、合焦の際に光軸に沿って移動する正の屈折力を有する合焦群GFであり、以下の条件式を満足する。
0.50<ft/fF<10.00
但し、ft:望遠端状態における変倍光学系ZLの焦点距離
fF:合焦群GFの焦点距離
【選択図】図1
特許請求の範囲
【請求項1】
光軸に沿って物体側から順に並んだ、負の屈折力を有する第1レンズ群と、少なくとも1つのレンズ群を有する後群とからなり、
変倍の際に、隣り合う各レンズ群の間隔が変化し、
前記後群の前記少なくとも1つのレンズ群におけるいずれかのレンズ群の少なくとも一部は、合焦の際に光軸に沿って移動する正の屈折力を有する合焦群であり、
以下の条件式を満足する変倍光学系。
0.30<fw/fF<7.00
但し、fw:広角端状態における前記変倍光学系の焦点距離
fF:前記合焦群の焦点距離
続きを表示(約 1,100 文字)
【請求項2】
前記後群の前記少なくとも1つのレンズ群は、前記後群の最も物体側に配置された正の屈折力を有する第2レンズ群を含み、
以下の条件式を満足する請求項1に記載の変倍光学系。
1.30<f2/(-X2)<2.50
但し、f2:前記第2レンズ群の焦点距離
X2:広角端状態から望遠端状態への変倍の際の前記第2レンズ群の移動量(像側への移動量を正の値とする)
【請求項3】
以下の条件式を満足する請求項1または2に記載の変倍光学系。
1.00<βRt/βRw<2.25
但し、βRt:望遠端状態における前記後群の横倍率
βRw:広角端状態における前記後群の横倍率
【請求項4】
以下の条件式を満足する請求項1~3のいずれか一項に記載の変倍光学系。
0.30<(-fFRw)/fF<7.00
但し、fFRw:広角端状態における前記合焦群よりも像側に配置されたレンズで構成されるレンズ群の焦点距離
【請求項5】
以下の条件式を満足する請求項1~4のいずれか一項に記載の変倍光学系。
0.30<(-fFRt)/fF<7.00
但し、fFRt:望遠端状態における前記合焦群よりも像側に配置されたレンズで構成されるレンズ群の焦点距離
【請求項6】
以下の条件式を満足する請求項1~5のいずれか一項に記載の変倍光学系。
0.20<fRPF/fF<3.00
但し、fRPF:前記後群の前記少なくとも1つのレンズ群のうち、正の屈折力を有するレンズ群で最も物体側のレンズ群の焦点距離
【請求項7】
以下の条件式を満足する請求項1~6のいずれか一項に記載の変倍光学系。
0.15<fRw/fF<4.00
但し、fRw:広角端状態における前記後群の焦点距離
【請求項8】
以下の条件式を満足する請求項1~7のいずれか一項に記載の変倍光学系。
0.15<fRt/fF<5.00
但し、fRt:望遠端状態における前記後群の焦点距離
【請求項9】
前記後群の前記少なくとも1つのレンズ群が複数のレンズ群である請求項1~8のいずれか一項に記載の変倍光学系。
【請求項10】
前記後群の前記少なくとも1つのレンズ群は、前記後群の最も物体側に配置された正の屈折力を有する第2レンズ群を含む請求項1~9のいずれか一項に記載の変倍光学系。
(【請求項11】以降は省略されています)
発明の詳細な説明
【技術分野】
【0001】
本発明は、変倍光学系、光学機器、および変倍光学系の製造方法に関する。
続きを表示(約 2,300 文字)
【背景技術】
【0002】
従来から、写真用カメラ、電子スチルカメラ、ビデオカメラ等に適した変倍光学系が提案されている(例えば、特許文献1を参照)。このような変倍光学系においては、小型にしつつ良好な光学性能を得ることが難しい。
【先行技術文献】
【特許文献】
【0003】
国際公開第2020/012638号
【発明の概要】
【0004】
本発明に係る変倍光学系は、光軸に沿って物体側から順に並んだ、負の屈折力を有する第1レンズ群と、少なくとも1つのレンズ群を有する後群とからなり、変倍の際に、隣り合う各レンズ群の間隔が変化し、前記後群の前記少なくとも1つのレンズ群におけるいずれかのレンズ群の少なくとも一部は、合焦の際に光軸に沿って移動する正の屈折力を有する合焦群であり、以下の条件式を満足する。
0.30<fw/fF<7.00
但し、fw:広角端状態における前記変倍光学系の焦点距離
fF:前記合焦群の焦点距離
【0005】
本発明に係る光学機器は、上記変倍光学系を備えて構成される。
【0006】
第2の本発明に係る変倍光学系の製造方法は、光軸に沿って物体側から順に並んだ、負の屈折力を有する第1レンズ群と、少なくとも1つのレンズ群を有する後群とからなる変倍光学系の製造方法であって、変倍の際に、隣り合う各レンズ群の間隔が変化し、前記後群の前記少なくとも1つのレンズ群におけるいずれかのレンズ群の少なくとも一部は、合焦の際に光軸に沿って移動する正の屈折力を有する合焦群であり、以下の条件式を満足するように、レンズ鏡筒内に各レンズを配置する。
0.30<fw/fF<7.00
但し、fw:広角端状態における前記変倍光学系の焦点距離
fF:前記合焦群の焦点距離
【図面の簡単な説明】
【0007】
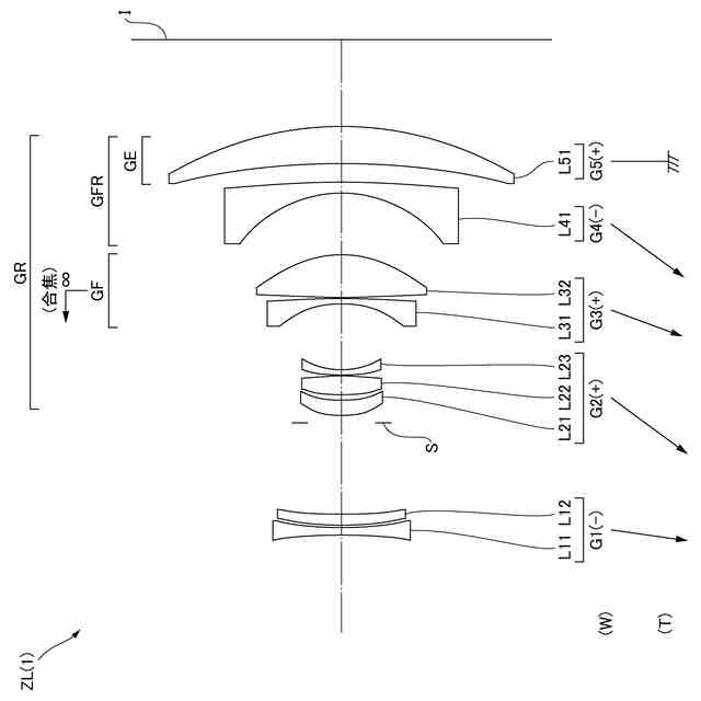
第1実施例に係る変倍光学系のレンズ構成を示す図である。
図2(A)、図2(B)はそれぞれ、第1実施例に係る変倍光学系の広角端状態、望遠端状態における無限遠合焦時の諸収差図である。
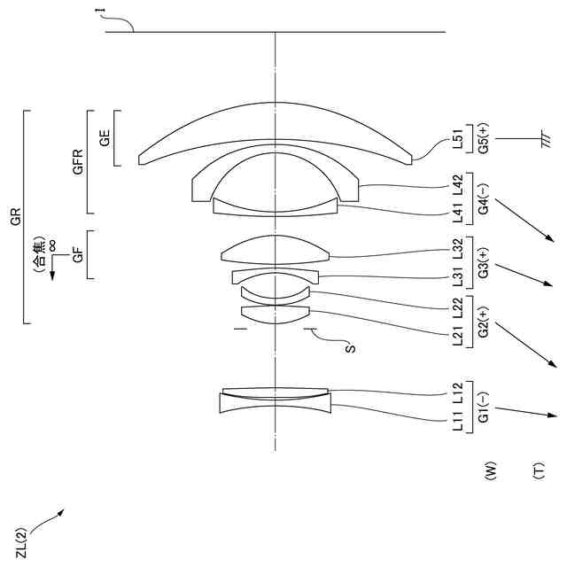
第2実施例に係る変倍光学系のレンズ構成を示す図である。
図4(A)、図4(B)はそれぞれ、第2実施例に係る変倍光学系の広角端状態、望遠端状態における無限遠合焦時の諸収差図である。
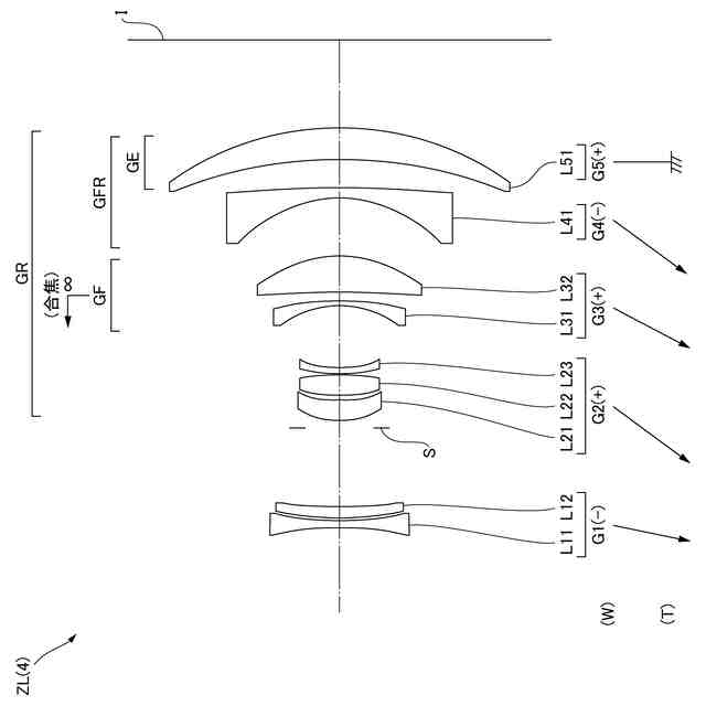
第3実施例に係る変倍光学系のレンズ構成を示す図である。
図6(A)、図6(B)はそれぞれ、第3実施例に係る変倍光学系の広角端状態、望遠端状態における無限遠合焦時の諸収差図である。
第4実施例に係る変倍光学系のレンズ構成を示す図である。
図8(A)、図8(B)はそれぞれ、第4実施例に係る変倍光学系の広角端状態、望遠端状態における無限遠合焦時の諸収差図である。
第5実施例に係る変倍光学系のレンズ構成を示す図である。
図10(A)、図10(B)はそれぞれ、第5実施例に係る変倍光学系の広角端状態、望遠端状態における無限遠合焦時の諸収差図である。
各実施形態に係る変倍光学系を備えたカメラの構成を示す図である。
各実施形態に係る変倍光学系の製造方法を示すフローチャートである。
【発明を実施するための形態】
【0008】
以下、本発明に係る好ましい実施形態について説明する。まず、各実施形態に係る変倍光学系を備えたカメラ(光学機器)を図11に基づいて説明する。このカメラ1は、図11に示すように、本体2と、本体2に装着される撮影レンズ3により構成される。本体2は、撮像素子4と、デジタルカメラの動作を制御する本体制御部(不図示)と、液晶画面5とを備える。撮影レンズ3は、複数のレンズ群からなる変倍光学系ZLと、各レンズ群の位置を制御するレンズ位置制御機構(不図示)とを備える。レンズ位置制御機構は、レンズ群の位置を検出するセンサと、レンズ群を光軸に沿って前後に移動させるモータと、モータを駆動する制御回路などにより構成される。
【0009】
被写体からの光は、撮影レンズ3の変倍光学系ZLにより集光されて、撮像素子4の像面I上に到達する。像面Iに到達した被写体からの光は、撮像素子4により光電変換され、デジタル画像データとして不図示のメモリに記録される。メモリに記録されたデジタル画像データは、ユーザの操作に応じて液晶画面5に表示することが可能である。なお、このカメラは、ミラーレスカメラでも、クイックリターンミラーを有した一眼レフタイプのカメラであっても良い。また、図11に示す変倍光学系ZLは、撮影レンズ3に備えられる変倍光学系を模式的に示したものであり、変倍光学系ZLのレンズ構成はこの構成に限定されるものではない。
【0010】
次に、第1実施形態に係る変倍光学系について説明する。第1実施形態に係る変倍光学系(ズームレンズ)ZLの一例としての変倍光学系ZL(1)は、図1に示すように、光軸に沿って物体側から順に並んだ、負の屈折力を有する第1レンズ群G1と、少なくとも1つのレンズ群を有する後群GRとから構成される。変倍の際に、隣り合う各レンズ群の間隔が変化する。また、後群GRの少なくとも1つのレンズ群における、いずれかのレンズ群の少なくとも一部は、合焦の際に光軸に沿って移動する正の屈折力を有する合焦群GFである。
(【0011】以降は省略されています)
この特許をJ-PlatPat(特許庁公式サイト)で参照する
関連特許
株式会社ニコン
撮像装置
1か月前
株式会社ニコン
撮像装置
1か月前
株式会社ニコン
撮像素子
1か月前
株式会社ニコン
撮像素子
24日前
株式会社ニコン
撮像素子
22日前
株式会社ニコン
カメラボディ
1か月前
株式会社ニコン
カメラシステム
3日前
株式会社ニコン
光学系および光学機器
1か月前
株式会社ニコン
撮像素子及び撮像装置
3日前
株式会社ニコン
撮像素子および撮像装置
22日前
株式会社ニコン
撮像素子および撮像装置
11日前
株式会社ニコン
撮像素子および撮像装置
24日前
株式会社ニコン
眼科装置及び眼科撮影方法
24日前
株式会社ニコン
眼科用光学系及び眼科装置
11日前
株式会社ニコン
撮像ユニットおよび撮像装置
3日前
株式会社ニコン
加工システム及び検査システム
1か月前
株式会社ニコン
リレー光学系、及びアタッチメント
11日前
株式会社ニコン
フォトマスク用基板の製造方法、フォトマスクブランクスの製造方法、フォトマスクの製造方法、フォトマスク用基板の再利用方法、フォトマスク用基板、フォトマスクブランクス、フォトマスク、石英ガラス基板の加工装置
25日前
株式会社ニコン
フッ化バリウム焼結体、フッ化ランタンドープフッ化バリウム焼結体、フッ化バリウム粒子の製造方法、フッ化バリウム焼結体の製造方法、フッ化ランタンドープフッ化バリウム粒子の製造方法、フッ化ランタンドープフッ化バリウム焼結体の製造方法、光学素子、光学系、交換レンズおよび光学装置
24日前
住友化学株式会社
偏光板
1か月前
カンタツ株式会社
光学系
1か月前
株式会社シグマ
結像光学系
22日前
株式会社シグマ
結像光学系
1か月前
住友化学株式会社
垂直偏光板
1か月前
日本精機株式会社
ミラーユニット
1か月前
古河電気工業株式会社
融着機
1か月前
日本電気株式会社
光モジュール
1か月前
日東電工株式会社
導光部材
22日前
個人
多方向視差効果のための微細穴加工
1か月前
株式会社コシナ
投射ズームレンズ
15日前
豊田合成株式会社
調光装置
9日前
京セラ株式会社
光学系
1か月前
個人
眼鏡装着位置変更具および眼鏡
1か月前
三菱電機株式会社
レンズモジュール
1か月前
日東電工株式会社
光学積層体
24日前
日本精機株式会社
ヘッドアップディスプレイ
22日前
続きを見る
他の特許を見る