TOP
|
特許
|
意匠
|
商標
特許ウォッチ
Twitter
他の特許を見る
10個以上の画像は省略されています。
公開番号
2025163279
公報種別
公開特許公報(A)
公開日
2025-10-28
出願番号
2025135096,2024507743
出願日
2025-08-14,2023-03-03
発明の名称
光学系および光学機器
出願人
株式会社ニコン
代理人
個人
,
個人
,
個人
,
個人
主分類
G02B
13/00 20060101AFI20251021BHJP(光学)
要約
【課題】小型でありながら、良好な光学性能を有する光学系を提供する。
【解決手段】光学系OLは、正の屈折力を有する物体側レンズ群GAと、正の屈折力を有する少なくとも1つの合焦レンズ群GF1,GF2と、後続レンズ群GRとからなり、物体側レンズ群は、最も物体側に配置されて負の屈折力を有する第1レンズL11と、第1レンズの像側に隣接して配置されて負の屈折力を有する第2レンズL12とを有し、物体側レンズ群は最も像面側に配置された接合レンズCLを有し、この接合レンズは、互いに接合された負レンズL19と正レンズL110とを有し、合焦の際、合焦レンズ群が光軸に沿って移動し、物体側レンズ群と後続レンズ群とが像面に対して固定され、物体側レンズ群よりも像面側に配置された開口絞りSをさらに有し、以下の条件式を満足する光学系。
1.00<Da/f<2.00
1.70<(-fa)/f<4.00
0.03<Dn/Dp<0.30
【選択図】図1
特許請求の範囲
【請求項1】
光軸に沿って物体側から順に並んだ、正の屈折力を有する物体側レンズ群と、正の屈折力を有する少なくとも1つの合焦レンズ群と、後続レンズ群とからなり、
前記物体側レンズ群は、最も物体側に配置されて負の屈折力を有する第1レンズと、前記第1レンズの像側に隣接して配置されて負の屈折力を有する第2レンズとを有し、
前記物体側レンズ群は、前記物体側レンズ群の最も像面側に配置された接合レンズを有し、
前記接合レンズは、互いに接合された負レンズと正レンズとを有し、
合焦の際、前記少なくとも1つの合焦レンズ群が光軸に沿って移動し、前記物体側レンズ群と前記後続レンズ群とが像面に対して固定され、
前記物体側レンズ群よりも像面側に配置された開口絞りをさらに有し、
以下の条件式を満足する光学系。
1.00<Da/f<2.00
1.70<(-fa)/f<4.00
0.03<Dn/Dp<0.30
但し、f:無限遠合焦状態における前記光学系の焦点距離
Da:無限遠合焦状態における前記開口絞りから像面までの光軸上の距離
fa:前記第1レンズの焦点距離
Dn:前記接合レンズにおける前記負レンズの光軸上の厚さ
Dp:前記接合レンズにおける前記正レンズの光軸上の厚さ
続きを表示(約 950 文字)
【請求項2】
以下の条件式を満足する請求項1に記載の光学系。
1.00<f1/f<4.40
但し、f1:前記物体側レンズ群の焦点距離
【請求項3】
以下の条件式を満足する請求項1に記載の光学系。
1.00<(-fb)/f<30.00
但し、fb:前記第2レンズの焦点距離
【請求項4】
前記物体側レンズ群は、複数の正レンズを有する請求項1に記載の光学系。
【請求項5】
以下の条件式を満足する請求項4に記載の光学系。
15.0<νp1<35.0
但し、νp1:前記物体側レンズ群における前記複数の正レンズのうち、アッベ数が最も小さい正レンズのアッベ数
【請求項6】
以下の条件式を満足する請求項4に記載の光学系。
15.0<νp2<40.0
但し、νp2:前記物体側レンズ群における前記複数の正レンズのうち、アッベ数が2番目に小さい正レンズのアッベ数
【請求項7】
以下の条件式を満足する請求項4に記載の光学系。
0.30<fp1/fp2<2.20
但し、fp1:前記物体側レンズ群における前記複数の正レンズのうち、アッベ数が最も小さい正レンズの焦点距離
fp2:前記物体側レンズ群における前記複数の正レンズのうち、アッベ数が2番目に小さい正レンズの焦点距離
【請求項8】
以下の条件式を満足する請求項4に記載の光学系。
0.10<fp1/(-fa)<2.80
但し、fp1:前記物体側レンズ群における前記複数の正レンズのうち、アッベ数が最も小さい正レンズの焦点距離
【請求項9】
以下の条件式を満足する請求項4に記載の光学系。
0.10<fp2/(-fa)<2.80
但し、fp2:前記物体側レンズ群における前記複数の正レンズのうち、アッベ数が2番目に小さい正レンズの焦点距離
【請求項10】
前記少なくとも1つの合焦レンズ群における少なくとも2つのレンズ面が非球面である請求項1に記載の光学系。
(【請求項11】以降は省略されています)
発明の詳細な説明
【技術分野】
【0001】
本発明は、光学系および光学機器に関する。
続きを表示(約 2,400 文字)
【背景技術】
【0002】
従来から、写真用カメラ、電子スチルカメラ、ビデオカメラ等に適した光学系が提案されている(例えば、特許文献1を参照)。このような光学系においては、小型にしつつ、良好な光学性能を得ることが難しい。
【先行技術文献】
【特許文献】
【0003】
特開2021-63966号公報
【発明の概要】
【0004】
本発明に係る光学系は、光軸に沿って物体側から順に並んだ、正の屈折力を有する物体側レンズ群と、正の屈折力を有する少なくとも1つの合焦レンズ群と、後続レンズ群とからなり、前記物体側レンズ群は、最も物体側に配置されて負の屈折力を有する第1レンズと、前記第1レンズの像側に隣接して配置されて負の屈折力を有する第2レンズとを有し、前記物体側レンズ群は、前記物体側レンズ群の最も像面側に配置された接合レンズを有し、前記接合レンズは、互いに接合された負レンズと正レンズとを有し、合焦の際、前記少なくとも1つの合焦レンズ群が光軸に沿って移動し、前記物体側レンズ群と前記後続レンズ群とが像面に対して固定され、前記物体側レンズ群よりも像面側に配置された開口絞りをさらに有する。
【0005】
本発明に係るこの光学系は、さらに、以下の条件式を満足する。
1.00<Da/f<2.00
1.70<(-fa)/f<4.00
0.03<Dn/Dp<0.30
但し、f:無限遠合焦状態における前記光学系の焦点距離
Da:無限遠合焦状態における前記開口絞りから像面までの光軸上の距離
fa:前記物体側レンズ群の最も物体側に配置された第1レンズの焦点距離
Dn:前記接合レンズにおける前記負レンズの光軸上の厚さ
Dp:前記接合レンズにおける前記正レンズの光軸上の厚さ
【0006】
本発明に係る光学機器は、上記光学系を備えて構成される。
【図面の簡単な説明】
【0007】
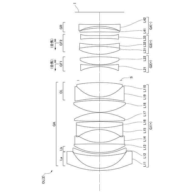
第1実施例に係る光学系のレンズ構成を示す図である。
図2(A)、図2(B)はそれぞれ、第1実施例に係る光学系の無限遠合焦時、近距離合焦時の諸収差図である。
第2実施例に係る光学系のレンズ構成を示す図である。
図4(A)、図4(B)はそれぞれ、第2実施例に係る光学系の無限遠合焦時、近距離合焦時の諸収差図である。
第3実施例に係る光学系のレンズ構成を示す図である。
図6(A)、図6(B)はそれぞれ、第3実施例に係る光学系の無限遠合焦時、近距離合焦時の諸収差図である。
第4実施例に係る光学系のレンズ構成を示す図である。
図8(A)、図8(B)はそれぞれ、第4実施例に係る光学系の無限遠合焦時、近距離合焦時の諸収差図である。
第5実施例に係る光学系のレンズ構成を示す図である。
図10(A)、図10(B)はそれぞれ、第5実施例に係る光学系の無限遠合焦時、近距離合焦時の諸収差図である。
第6実施例に係る光学系のレンズ構成を示す図である。
図12(A)、図12(B)はそれぞれ、第6実施例に係る光学系の無限遠合焦時、近距離合焦時の諸収差図である。
本実施形態に係る光学系を備えたカメラの構成を示す図である。
本実施形態に係る光学系の製造方法を示すフローチャートである。
【発明を実施するための形態】
【0008】
以下、本発明に係る好ましい実施形態について説明する。まず、本実施形態に係る光学系を備えたカメラ(光学機器)を図13に基づいて説明する。このカメラ1は、図13に示すように、本体2と、本体2に装着される撮影レンズ3により構成される。本体2は、撮像素子4と、デジタルカメラの動作を制御する本体制御部(不図示)と、液晶画面5とを備える。撮影レンズ3は、複数のレンズ群からなる光学系OLと、各レンズ群の位置を制御するレンズ位置制御機構(不図示)とを備える。レンズ位置制御機構は、レンズ群の位置を検出するセンサと、レンズ群を光軸に沿って前後に移動させるモータと、モータを駆動する制御回路などにより構成される。
【0009】
被写体からの光は、撮影レンズ3の光学系OLにより集光されて、撮像素子4の像面I上に到達する。像面Iに到達した被写体からの光は、撮像素子4により光電変換され、デジタル画像データとして不図示のメモリに記録される。メモリに記録されたデジタル画像データは、ユーザの操作に応じて液晶画面5に表示することが可能である。なお、このカメラは、ミラーレスカメラでも、クイックリターンミラーを有した一眼レフタイプのカメラであっても良い。また、図13に示す光学系OLは、撮影レンズ3に備えられる光学系を模式的に示したものであり、光学系OLのレンズ構成はこの構成に限定されるものではない。
【0010】
次に、本実施形態に係る光学系について説明する。本実施形態に係る光学系OLの一例としての光学系OL(1)は、図1に示すように、光軸に沿って物体側から順に並んだ、正の屈折力を有する物体側レンズ群GAと、正の屈折力を有する少なくとも1つの合焦レンズ群(GF1,GF2)と、後続レンズ群GRとを有して構成される。合焦の際、前記少なくとも1つの合焦レンズ群が光軸に沿って移動し、物体側レンズ群GAと後続レンズ群GRとが像面Iに対して固定される。また、本実施形態に係る光学系OLは、物体側レンズ群GAよりも像面側に配置された開口絞りSをさらに有している。
(【0011】以降は省略されています)
この特許をJ-PlatPat(特許庁公式サイト)で参照する
関連特許
株式会社ニコン
撮像素子
1か月前
株式会社ニコン
撮像素子
24日前
株式会社ニコン
撮像装置
1か月前
株式会社ニコン
撮像素子
22日前
株式会社ニコン
撮像装置
1か月前
株式会社ニコン
レンズ鏡筒
1か月前
株式会社ニコン
変倍光学系
1か月前
株式会社ニコン
カメラボディ
1か月前
株式会社ニコン
カメラシステム
3日前
株式会社ニコン
光学系および光学機器
1か月前
株式会社ニコン
撮像素子及び撮像装置
3日前
株式会社ニコン
撮像素子および撮像装置
24日前
株式会社ニコン
撮像素子および撮像装置
22日前
株式会社ニコン
撮像素子および撮像装置
11日前
株式会社ニコン
眼科装置及び眼科撮影方法
24日前
株式会社ニコン
眼科用光学系及び眼科装置
11日前
株式会社ニコン
測定システム、及び測定方法
1か月前
株式会社ニコン
撮像ユニットおよび撮像装置
3日前
株式会社ニコン
加工システム及び検査システム
1か月前
株式会社ニコン
リレー光学系、及びアタッチメント
11日前
株式会社ニコン
システム、情報処理装置、及びプログラム
1か月前
株式会社ニコン
光学系、光学機器および光学系の製造方法
1か月前
株式会社ニコン
変倍光学系、光学機器、および変倍光学系の製造方法
1か月前
株式会社ニコン
変倍光学系、光学機器、および変倍光学系の製造方法
1か月前
株式会社ニコン
画像処理方法、画像処理装置、及び画像処理プログラム
1か月前
株式会社ニコン
フォトマスク用基板の製造方法、フォトマスクブランクスの製造方法、フォトマスクの製造方法、フォトマスク用基板の再利用方法、フォトマスク用基板、フォトマスクブランクス、フォトマスク、石英ガラス基板の加工装置
25日前
株式会社ニコン
フッ化バリウム焼結体、フッ化ランタンドープフッ化バリウム焼結体、フッ化バリウム粒子の製造方法、フッ化バリウム焼結体の製造方法、フッ化ランタンドープフッ化バリウム粒子の製造方法、フッ化ランタンドープフッ化バリウム焼結体の製造方法、光学素子、光学系、交換レンズおよび光学装置
24日前
個人
立体像表示装置
1か月前
カンタツ株式会社
光学系
1か月前
住友化学株式会社
偏光板
1か月前
株式会社シグマ
結像光学系
1か月前
株式会社シグマ
結像光学系
22日前
住友化学株式会社
垂直偏光板
1か月前
東レ株式会社
貼合体の製造方法
1か月前
東レ株式会社
赤外線遮蔽構成体
1か月前
日本精機株式会社
ミラーユニット
1か月前
続きを見る
他の特許を見る