TOP
|
特許
|
意匠
|
商標
特許ウォッチ
Twitter
他の特許を見る
10個以上の画像は省略されています。
公開番号
2025168552
公報種別
公開特許公報(A)
公開日
2025-11-07
出願番号
2025148050,2021042400
出願日
2025-09-08,2021-03-16
発明の名称
撮像素子
出願人
株式会社ニコン
代理人
個人
,
個人
,
個人
主分類
H10F
39/18 20250101AFI20251030BHJP()
要約
【課題】画素間のスペースを有効活用することができる撮像素子を提供する。
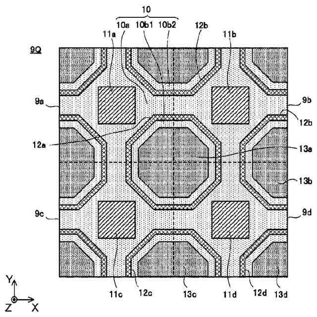
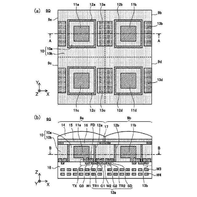
【解決手段】撮像素子は、光を電荷に変換する複数の光電変換部を有する第1半導体基板を備える撮像素子であって、前記第1半導体基板は、前記複数の光電変換部のうち第1光電変換部が配置された第1半導体部と、第1導電型の第1トランジスタを含み、前記第1光電変換部で変換された電荷を転送する転送部と、前記第1半導体部と、前記複数の光電変換部のうち、前記第1光電変換部の隣に並ぶ第2光電変換部が配置された第2半導体部との間に位置する半導体部であって、前記第1導電型とは異なる第2導電型の第2トランジスタを含む第1回路が配置される第3半導体部と、前記第1半導体部と前記第3半導体部とを電気的に分離する第1分離部と、前記第2半導体部と前記第3半導体部とを電気的に分離する第2分離部とを有する。
【選択図】図3
特許請求の範囲
【請求項1】
光を電荷に変換する複数の光電変換部を有する第1半導体基板を備える撮像素子であって、
前記第1半導体基板は、
前記複数の光電変換部のうち第1光電変換部が配置された第1半導体部と、
第1導電型の第1トランジスタを含み、前記第1光電変換部で変換された電荷を転送する転送部と、
前記第1半導体部と、前記複数の光電変換部のうち、前記第1光電変換部の隣に並ぶ第2光電変換部が配置された第2半導体部との間に位置する半導体部であって、前記第1導電型とは異なる第2導電型の第2トランジスタを含む第1回路が配置される第3半導体部と、
前記第1半導体部と前記第3半導体部とを電気的に分離する第1分離部と、
前記第2半導体部と前記第3半導体部とを電気的に分離する第2分離部と
を有する、
撮像素子。
発明の詳細な説明
【技術分野】
【0001】
本発明は、撮像素子に関する。
続きを表示(約 1,900 文字)
【背景技術】
【0002】
市松状の一方の位置に相対的に感度の高い大面積の画素を配置し、市松状の他方の位置に相対的に感度の低い小面積の画素を配置した撮像素子が知られている(例えば特許文献1)。従来より、画素間のスペースを有効活用することが求められている。
【先行技術文献】
【特許文献】
【0003】
特開2005-286104号公報
【発明の概要】
【0004】
本発明の第1の態様によると、撮像素子は、光を電荷に変換する複数の光電変換部を有する第1半導体基板を備える撮像素子であって、前記第1半導体基板は、前記複数の光電変換部のうち第1光電変換部が配置された第1半導体部と、第1導電型の第1トランジスタを含み、前記第1光電変換部で変換された電荷を転送する転送部と、前記第1半導体部と、前記複数の光電変換部のうち、前記第1光電変換部の隣に並ぶ第2光電変換部が配置された第2半導体部との間に位置する半導体部であって、前記第1導電型とは異なる第2導電型の第2トランジスタを含む第1回路が配置される第3半導体部と、前記第1半導体部と前記第3半導体部とを電気的に分離する第1分離部と、前記第2半導体部と前記第3半導体部とを電気的に分離する第2分離部とを有する。
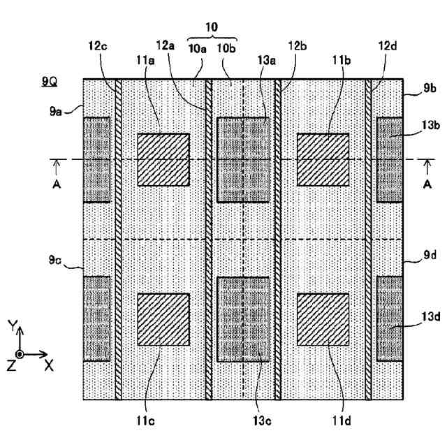
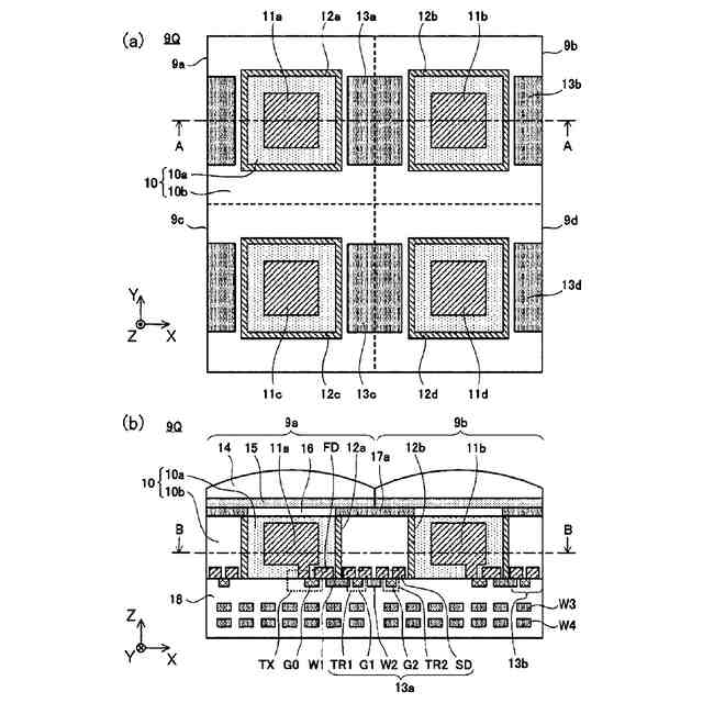
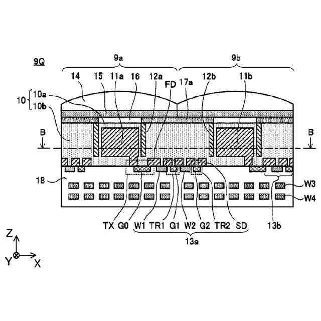
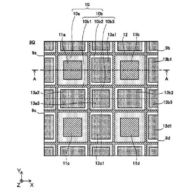
【図面の簡単な説明】
【0005】
第1実施形態の撮像装置の構成を模式的に示す断面図。
第1実施形態の撮像素子の概要を示す図。
第1実施形態の撮像素子の部分拡大断面図。
撮像素子の変形例1の部分拡大断面図。
撮像素子の変形例2の部分拡大断面図。
第2実施形態の撮像素子の部分拡大断面図。
第3実施形態の撮像素子の部分拡大断面図。
第4実施形態の撮像素子の部分拡大断面図。
第5実施形態の撮像素子の部分拡大断面図。
第6実施形態の撮像素子の部分拡大断面図。
【発明を実施するための形態】
【0006】
(撮像装置の第1実施形態)
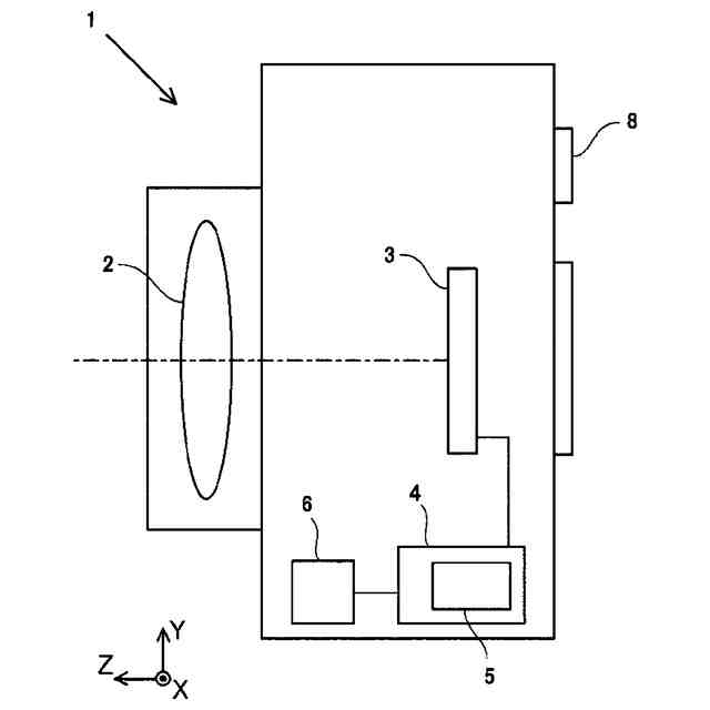
図1は、撮像装置の第1実施形態であるカメラ1の構成例を示す図である。
図1に矢印で示したX方向、Y方向、およびZ方向は、その矢印の指し示す方向を+方向とする。X方向、Y方向、およびZ方向は、相互に直交する方向である。また、以降の各図に示したX方向、Y方向、およびZ方向も、図1に示したX方向、Y方向、およびZ方向と同一の方向である。
【0007】
カメラ1は、撮影光学系(結像光学系)2、撮像素子3、撮像制御部4、メモリ6、表示部7、及び操作部8を備える。撮影光学系2は、焦点調節レンズ(フォーカスレンズ)を含む複数のレンズ及び開口絞りを有し、撮像素子3に被写体像を結像する。なお、撮影光学系2は、カメラ1から着脱可能にしても良い。
【0008】
撮像素子3は、CMOSイメージセンサ、CCDイメージセンサ等の撮像素子である。撮像素子3は、撮影光学系2を通過した光束を受光し、撮影光学系2により形成される被写体像を撮像する。後述するように、撮像素子3には、光電変換部を有する複数の画素が二次元状(行方向及び列方向)に配置される。光電変換部は、フォトダイオード(PD)によって構成される。撮像素子3は、受光した光を光電変換して信号を生成し、生成した信号を撮像制御部4に出力する。
【0009】
メモリ6は、メモリカード等の記録媒体である。メモリ6には、画像データ、制御プログラム等が記録される。メモリ6へのデータの書き込み、及びメモリ6からのデータの読み出しは、撮像制御部4によって制御される。表示部7は、画像データに基づく画像、シャッター速度、絞り値等の撮影に関する情報、及びメニュー画面等を表示する。操作部8は、レリーズボタン、電源スイッチ、各種モードを切り替えるためのスイッチ等の各種設定スイッチ等を含み、それぞれの操作に基づく信号を撮像制御部4へ出力する。
【0010】
撮像制御部4は、CPU、FPGA、ASIC等のプロセッサ、及びROM、RAM等のメモリにより構成され、制御プログラムに基づきカメラ1の各部を制御する。撮像制御部4は、撮像素子3を制御する信号を撮像素子3に供給して、撮像素子3の動作を制御する。撮像制御部4は、静止画撮影を行う場合、動画撮影を行う場合、または表示部6に被写体のスルー画像(ライブビュー画像)を表示する場合等において、撮像素子3に被写体像を撮像させて信号を出力させる。
(【0011】以降は省略されています)
この特許をJ-PlatPat(特許庁公式サイト)で参照する
関連特許
株式会社ニコン
撮像素子
今日
株式会社ニコン
電子機器
今日
株式会社ニコン
撮像素子
28日前
株式会社ニコン
カメラシステム
9日前
株式会社ニコン
撮像素子及び撮像装置
今日
株式会社ニコン
撮像素子及び撮像装置
9日前
株式会社ニコン
撮像素子および撮像装置
28日前
株式会社ニコン
撮像素子および撮像装置
1か月前
株式会社ニコン
撮像素子および撮像装置
17日前
株式会社ニコン
撮像素子、および撮像装置
2日前
株式会社ニコン
眼科装置及び眼科撮影方法
1か月前
株式会社ニコン
眼科用光学系及び眼科装置
17日前
株式会社ニコン
撮像ユニットおよび撮像装置
9日前
株式会社ニコン
レンズ保護部材、及び撮像装置
2日前
株式会社ニコン
リレー光学系、及びアタッチメント
17日前
株式会社ニコン
露光装置、及び電子デバイスの製造方法
2日前
株式会社ニコン
フッ化バリウム焼結体、フッ化ランタンドープフッ化バリウム焼結体、フッ化バリウム粒子の製造方法、フッ化バリウム焼結体の製造方法、フッ化ランタンドープフッ化バリウム粒子の製造方法、フッ化ランタンドープフッ化バリウム焼結体の製造方法、光学素子、光学系、交換レンズおよび光学装置
1か月前
個人
積和演算用集積回路
29日前
サンケン電気株式会社
半導体装置
28日前
日機装株式会社
半導体発光装置
23日前
旭化成株式会社
発光素子
1か月前
ローム株式会社
半導体装置
7日前
ローム株式会社
抵抗チップ
1か月前
株式会社半導体エネルギー研究所
表示装置
7日前
三菱電機株式会社
半導体装置
15日前
富士電機株式会社
半導体装置
1か月前
株式会社東芝
半導体装置
15日前
三菱電機株式会社
半導体装置
2日前
三菱電機株式会社
半導体装置
1か月前
日亜化学工業株式会社
発光装置
1か月前
ローム株式会社
半導体集積回路
1か月前
株式会社半導体エネルギー研究所
発光デバイス
23日前
サンケン電気株式会社
半導体装置
15日前
ローム株式会社
窒化物半導体装置
1か月前
ローム株式会社
半導体装置
28日前
株式会社半導体エネルギー研究所
発光デバイス
1か月前
続きを見る
他の特許を見る