TOP
|
特許
|
意匠
|
商標
特許ウォッチ
Twitter
他の特許を見る
10個以上の画像は省略されています。
公開番号
2025176207
公報種別
公開特許公報(A)
公開日
2025-12-03
出願番号
2025158636,2020172954
出願日
2025-09-25,2020-10-14
発明の名称
レンズ保護部材、及び撮像装置
出願人
株式会社ニコン
代理人
弁護士法人クレオ国際法律特許事務所
主分類
G03B
11/04 20210101AFI20251126BHJP(写真;映画;光波以外の波を使用する類似技術;電子写真;ホログラフイ)
要約
【課題】レンズ保護部材の被写体像への映り込みを適切に防止して、撮像品質に優れる被写体像を取得可能できる撮像装置を提供する。
【解決手段】撮像装置100は、被写体側に突出する複数の広角レンズ14A,14Bと、広角レンズ14A,14Bにより結像される被写体像を撮像する撮像素子12A,12Bと、これらを保持する撮像装置本体10と、広角レンズ14A,14Bを保護するレンズ保護部材20と、を備える。レンズ保護部材20は、広角レンズ14A,14Bの少なくとも一部を保護する保護位置と、すべての撮像素子12A,12Bの撮像領域におけるイメージサークルの外側又は撮像領域の外側の退避位置との間を移動するカバー部21A,21Bを有する。
【選択図】図1
特許請求の範囲
【請求項1】
複数のレンズと、
前記複数のレンズにより結像される被写体像をそれぞれ撮像する複数の撮像素子と、
前記複数のレンズの少なくとも一つを保護するレンズ保護部材と、
を備え、
前記レンズ保護部材は、前記レンズの少なくとも一部を保護する保護位置と、すべての前記撮像素子の撮像領域内におけるイメージサークルの外側又は前記撮像領域の外側の退避位置との間を移動する
ことを特徴とする撮像装置。
発明の詳細な説明
【技術分野】
【0001】
本開示は、レンズ保護部材、及び撮像装置に関するものである。
続きを表示(約 3,000 文字)
【背景技術】
【0002】
画角が180°のパノラマ画像や360°の全天球パノラマ画像等、広い範囲の被写体像を撮影することができる撮像装置は、レンズ前面が被写体側に突出する曲面を有する超広角レンズを備えている。このため、超広角レンズの曲面がボディよりも外方に飛び出す構造となり、非撮影時や保管の際に前面が露出したままでは傷や汚れが付くおそれがある。そこで、超広角レンズのレンズ前面を保護すべく、現状では、撮像装置本体とは別部品として、レンズ形状に合わせて形成されたキャップ形の保護カバーが用いられている。
【0003】
このような撮像装置本体とは別部品の保護カバーでは、撮影が終わる度に装着するのは手間であった。このような不具合を解消すべく、広角レンズの曲面よりも被写体側に突出する少なくとも2つの突出部を設けた技術が公知である(例えば特許文献1参照)。
【先行技術文献】
【特許文献】
【0004】
特開2013-242364号公報
【0005】
しかしながら、上述の特許文献1に開示された技術では、突出部が広角レンズの画角内に配置されているため、突出部が被写体像に映り込むことがあり、改良の余地があった。
【発明の概要】
【0006】
第1の態様によれば、撮像装置は、複数のレンズと、前記複数のレンズにより結像される被写体像をそれぞれ撮像する複数の撮像素子と、前記複数のレンズの少なくとも一つを保護するレンズ保護部材と、を備え、前記レンズ保護部材は、前記レンズの少なくとも一部を保護する保護位置と、すべての前記撮像素子の撮像領域内におけるイメージサークルの外側又は前記撮像領域の外側の退避位置との間を移動する。
第2の態様によれば、撮像装置は、レンズと、前記レンズにより結像される被写体像を撮影する撮像素子と、前記レンズ及び前記撮像素子を保持する撮像装置本体と、前記レンズを保護するレンズ保護部材と、を備え、前記レンズ保護部材は、前記レンズの少なくとも一部を保護する保護位置と、前記撮像装置本体の領域、又は前記撮像装置本体の外側の領域のうち、前記撮像素子に映り込む部分に配置される退避位置との間を移動する。
第3の態様によれば、撮像装置は、複数のレンズと、前記複数のレンズにより結像される被写体像を撮像する複数の撮像素子と、前記複数の少なくとも一つレンズを保護するレンズ保護部材と、を備え、前記レンズ保護部材は、前記レンズの少なくとも一部を保護する保護位置と、前記複数の撮像素子の撮像領域が重複する領域に対応する退避位置との間を移動する。
第4の態様によれば、レンズ保護部材は、複数のレンズと、前記複数のレンズにより結像される被写体像をそれぞれ撮像する複数の撮像素子と、を備える撮像装置の前記複数のレンズの少なくとも一つを保護するレンズ保護部材であって、前記レンズの少なくとも一部を保護する保護位置と、すべての前記撮像素子の撮像領域内におけるイメージサークルの外側又は前記撮像領域の外側の退避位置との間を移動する。
第5の態様によれば、レンズ保護部材は、レンズと、前記レンズにより結像される被写体像を撮影する撮像素子と、前記レンズ及び前記撮像素子を保持する撮像装置本体と、を備える撮像装置の前記レンズを保護するレンズ保護部材であって、前記レンズの少なくとも一部を保護する保護位置と、前記撮像装置本体の領域、又は前記撮像装置本体の外側の領域のうち、前記撮像素子に映り込む部分に配置される退避位置との間を移動する。
第6の態様によれば、レンズ保護部材は、複数のレンズと、前記複数のレンズにより結像される被写体像を撮像する複数の撮像素子と、を備える撮像装置の前記複数のレンズの少なくとも一つを保護するレンズ保護部材であって、前記レンズの少なくとも一部を保護する保護位置と、前記複数の撮像素子の撮像領域が重複する領域に対応する退避位置との間を移動する。
【図面の簡単な説明】
【0007】
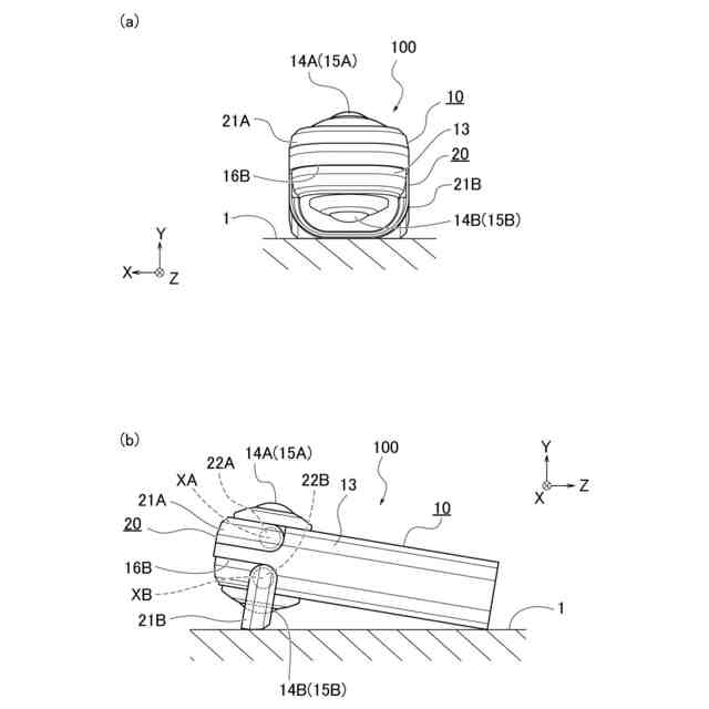
第1実施形態を示す撮像装置の概略構成図である。
第1実施形態を示す撮像装置の使用例を示す図である。
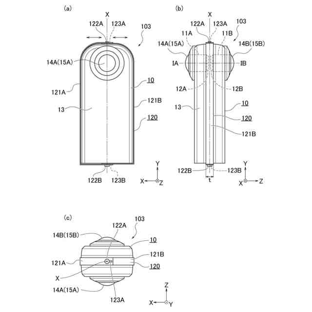
第1実施形態を示す撮像装置と画角との関係を説明するための図である。
第1実施形態を示す撮像装置のイメージサークルと撮像素子の撮像領域と退避領域との関係を説明するための図である。
第2実施形態を示す撮像装置の概略構成図である。
第2実施形態を示す撮像装置の使用例を示す図である。
第3実施形態を示す撮像装置の概略構成図である。
第3実施形態を示す撮像装置の使用例を示す図である。
第4実施形態を示す撮像装置の概略構成図である。
第4実施形態を示す撮像装置の概略構成図である。
第5実施形態を示す撮像装置の概略構成図である。
第5実施形態を示す撮像装置のレンズ保護部材のカバー部の概略構成図である。
第6実施形態を示す撮像装置の概略構成図である。
第7実施形態を示す撮像装置の概略構成図である。
第8実施形態を示す撮像装置の概略構成図である。
第9実施形態を示す撮像装置の概略構成図である。
第10実施形態を示す撮像装置の概略構成図である。
第11実施形態を示す撮像装置の概略構成図である。
第12実施形態を示す撮像装置の概略構成図である。
第13実施形態を示す撮像装置の概略構成図である。
第14実施形態を示す撮像装置の概略構成、及び撮像装置と画角との関係を説明するための図である。
【発明を実施するための形態】
【0008】
(第1の実施形態)
図1、図2を参照して、第1実施形態であるレンズ保護部材20が適用される撮像装置100について説明する。図1は、第1実施形態を示す撮像装置100の概略図である。図1において、(a)、(b)は、それぞれ撮影時の正面図、側面図であり、(c)、(d)は、それぞれ非撮影時の正面図、側面図である。図2は、第1実施形態である撮像装置100の使用例を示す図である。図1において、(a)は撮像装置100を机等に置いたときの正面図であり、(b)は側面図である。
【0009】
図1に示すように、第1実施形態の撮像装置100は、撮像装置本体10と、レンズ保護部材20と、を備える。第1実施形態の撮像装置100では、全天球型の静止画像や動画像(以下、「全天球パノラマ画像」という)を撮影する。
【0010】
撮像装置本体10は、2つの鏡筒11A,11Bと、2つの撮像素子12A,12Bと、これらを収容する縦長の直方体形の筐体13と、を備える。また、撮像装置本体10は、電源ボタン、撮影ボタン、操作ボタン、LCD、マイク、スピーカ、メモリカード挿入口、USB端子、撮像装置100全体の動作を制御する回路基板、等(何れも図示を省略)を備える。また、本実施形態では、直方体形の撮像装置本体10を縦長に置いた状態を正位置とし、直方体の長辺に沿う方向(鉛直方向)を長さ方向とし、長さ方向に直交し短辺に沿う方向(水平方向)を幅方向としている。
(【0011】以降は省略されています)
この特許をJ-PlatPat(特許庁公式サイト)で参照する
関連特許
株式会社ニコン
撮像素子
1か月前
株式会社ニコン
電子機器
今日
株式会社ニコン
撮像素子
1か月前
株式会社ニコン
撮像素子
28日前
株式会社ニコン
撮像素子
今日
株式会社ニコン
カメラシステム
9日前
株式会社ニコン
撮像素子及び撮像装置
今日
株式会社ニコン
撮像素子及び撮像装置
9日前
株式会社ニコン
撮像素子および撮像装置
17日前
株式会社ニコン
撮像素子および撮像装置
28日前
株式会社ニコン
撮像素子および撮像装置
1か月前
株式会社ニコン
眼科用光学系及び眼科装置
17日前
株式会社ニコン
撮像素子、および撮像装置
2日前
株式会社ニコン
眼科装置及び眼科撮影方法
1か月前
株式会社ニコン
撮像ユニットおよび撮像装置
9日前
株式会社ニコン
レンズ保護部材、及び撮像装置
2日前
株式会社ニコン
リレー光学系、及びアタッチメント
17日前
株式会社ニコン
露光装置、及び電子デバイスの製造方法
2日前
株式会社ニコン
フォトマスク用基板の製造方法、フォトマスクブランクスの製造方法、フォトマスクの製造方法、フォトマスク用基板の再利用方法、フォトマスク用基板、フォトマスクブランクス、フォトマスク、石英ガラス基板の加工装置
1か月前
株式会社ニコン
フッ化バリウム焼結体、フッ化ランタンドープフッ化バリウム焼結体、フッ化バリウム粒子の製造方法、フッ化バリウム焼結体の製造方法、フッ化ランタンドープフッ化バリウム粒子の製造方法、フッ化ランタンドープフッ化バリウム焼結体の製造方法、光学素子、光学系、交換レンズおよび光学装置
1か月前
個人
表示装置
1か月前
個人
雨用レンズカバー
1か月前
株式会社シグマ
絞りユニット
2か月前
日本精機株式会社
プロジェクタ
今日
日本精機株式会社
車両用投射装置
1か月前
キヤノン株式会社
撮像装置
3か月前
キヤノン株式会社
撮像装置
2か月前
キヤノン株式会社
撮像装置
7日前
キヤノン株式会社
撮像装置
1か月前
キヤノン株式会社
撮像装置
1か月前
キヤノン株式会社
撮像装置
2か月前
キヤノン株式会社
撮像装置
1か月前
株式会社リコー
画像形成装置
2か月前
株式会社リコー
画像形成装置
1か月前
株式会社リコー
画像形成装置
1か月前
株式会社リコー
画像形成装置
21日前
続きを見る
他の特許を見る