TOP
|
特許
|
意匠
|
商標
特許ウォッチ
Twitter
他の特許を見る
10個以上の画像は省略されています。
公開番号
2025172948
公報種別
公開特許公報(A)
公開日
2025-11-26
出願番号
2025148756,2024079671
出願日
2025-09-09,2021-02-17
発明の名称
撮像素子及び撮像装置
出願人
株式会社ニコン
代理人
弁理士法人RYUKA国際特許事務所
主分類
H04N
25/70 20230101AFI20251118BHJP(電気通信技術)
要約
【課題】従来の撮像装置では、回路の簡素化が望まれている。
【解決手段】1または複数の画素を含む複数の画素ブロックを有する第1基板と、複数の画素ブロックのうち第1画素ブロックに含まれる画素の露光時間を制御するための第1露光制御部を含む第1制御ブロックと、複数の画素ブロックのうち第2画素ブロックに含まれる画素の露光時間を制御するための第2露光制御部を含む第2制御ブロックとを含む制御回路部と、制御回路部の外側に配置され、複数の画素ブロックのうち少なくとも第1画素ブロックおよび第2画素ブロックにそれぞれ含まれる画素の信号読出を制御する周辺回路部とを有する第2基板と、を備える撮像素子を提供する。
【選択図】図1E
特許請求の範囲
【請求項1】
光を電荷に変換する第1光電変換部と、前記第1光電変換部で変換された電荷を転送する第1転送部と、前記第1転送部により前記第1光電変換部で変換された電荷が転送される第1蓄積部と、前記第1蓄積部に電気的に接続される第1増幅部と、前記第1増幅部に電気的に接続される第1選択部とを含む第1画素ブロックと、
光を電荷に変換する光電変換部であって行方向において前記第1光電変換部と並んで配置される第2光電変換部と、前記第2光電変換部で変換された電荷を転送する第2転送部と、前記第2転送部により前記第2光電変換部で変換された電荷が転送される第2蓄積部と、前記第2蓄積部に電気的に接続される第2増幅部と、前記第2増幅部に電気的に接続される第2選択部とを含む第2画素ブロックと
を有する第1基板と、
前記第1基板とともに積層される基板であって、
前記第1転送部を制御するための第1転送制御信号を出力する第1制御ブロックと、前記第2転送部を制御するための第2転送制御信号を出力する第2制御ブロックとを含む制御回路部と、
前記第1選択部と前記第2選択部とを制御するための選択制御信号を出力する駆動部と
を有する第2基板と
を備え、
前記第1転送部は、前記第1転送制御信号が出力される第1転送制御線に電気的に接続され、
前記第2転送部は、前記第2転送制御信号が出力される第2転送制御線に電気的に接続され、
前記第1選択部と前記第2選択部とは、前記選択制御信号が出力される選択制御線に電気的に接続される、
撮像素子。
発明の詳細な説明
【技術分野】
【0001】
本発明は、撮像素子及び撮像装置に関する。
続きを表示(約 2,000 文字)
【背景技術】
【0002】
複数の画素を有する撮像装置において、画素毎の露光時間を変化させることが知られている(例えば、特許文献1)。
特許文献1 特表2015-532797号公報
【0003】
従来の撮像装置では、回路の簡素化が望まれている。
【発明の概要】
【0004】
本発明の第1の態様においては、1または複数の画素を含む複数の画素ブロックを有する第1基板と、複数の画素ブロックのうち第1画素ブロックに含まれる画素の露光時間を制御するための第1露光制御部を含む第1制御ブロックと、複数の画素ブロックのうち第2画素ブロックに含まれる画素の露光時間を制御するための第2露光制御部を含む第2制御ブロックとを含む制御回路部と、制御回路部の外側に配置され、複数の画素ブロックのうち少なくとも第1画素ブロックおよび第2画素ブロックにそれぞれ含まれる画素の信号読出を制御する周辺回路部とを有する第2基板と、を備える撮像素子を提供する。
【0005】
本発明の第2の態様においては、第1の態様の撮像素子を備える撮像装置を提供する。
【0006】
なお、上記の発明の概要は、本発明の必要な特徴の全てを列挙したものではない。また、これらの特徴群のサブコンビネーションもまた、発明となりうる。
【図面の簡単な説明】
【0007】
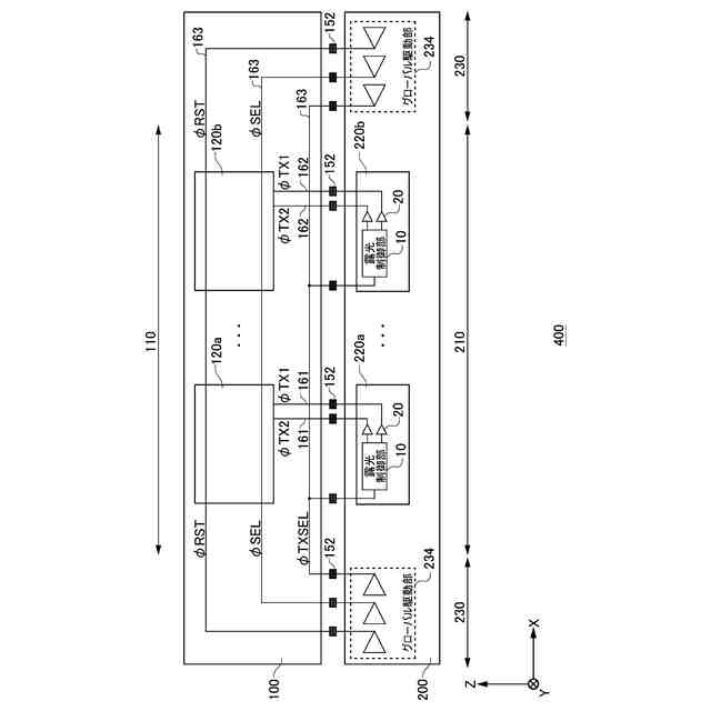
本発明の実施形態に係る撮像素子400の概要を示す図である。
画素部110の具体的な構成の一例を示す。
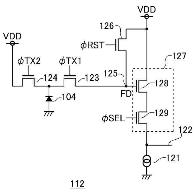
画素112の回路構成の一例を示す。
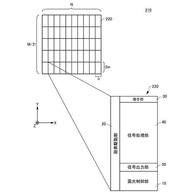
制御回路部210のより具体的な構成の一例を示す。
撮像素子400の配線方法の一例を説明するための図である。
撮像素子400の撮像動作を示すタイミングチャートの一例を示す。
撮像素子400の撮像動作を示すタイミングチャートの一例を示す。
比較例に係る撮像素子の撮像動作を示すタイミングチャートを示す。
撮像素子400が撮像する被写体の一例を示す。
撮像素子400の撮像動作を示すタイミングチャートを示す。
撮像素子400の概要を示す図である。
画素部110の具体的な構成の一例を示す。
制御回路部210のより具体的な構成の一例を示す。
画素112の回路構成の一例を示す。
撮像素子400の配線方法の一例を説明するための図である。
撮像素子400の配線方法の一例を説明するための図である。
撮像素子400の配線方法の一例を説明するための図である。
撮像素子400の画素ブロック120内での撮像動作を示すタイミングチャートの一例を示す。
画素ブロック120毎の露光タイミングの一例を示す。
他の実施形態による撮像素子800の概要を示す図である。
画素部610の具体的な構成の一例を示す。
制御回路部710のより具体的な構成の一例を示す。
画素ブロック620毎の露光タイミングの一例を示す。
撮像素子400、800の画素114の別例を示す。
画素114を用いた画素ブロック120内での撮像動作を示すタイミングチャートの例を示す。
画素114を用いた画素ブロック120毎の露光タイミングの一例を示す。
実施例に係る撮像装置500の構成例を示すブロック図である。
【発明を実施するための形態】
【0008】
以下、発明の実施の形態を通じて本発明を説明するが、以下の実施形態は特許請求の範囲にかかる発明を限定するものではない。また、実施形態の中で説明されている特徴の組み合わせの全てが発明の解決手段に必須であるとは限らない。
【0009】
本明細書において、X軸とY軸とは互いに直交し、Z軸はXY平面に直交する。XYZ軸は右手系を構成する。Z軸と平行な方向を撮像素子400の積層方向と称する場合がある。本明細書において、「上」及び「下」の用語は、重力方向における上下方向に限定されない。これらの用語は、Z軸方向における相対的な方向を指すに過ぎない。なお、本明細書では、X軸方向の配列を「行」とし、Y軸方向の配列を「列」として説明するが、行列方向はこれに限定されない。
【0010】
図1Aは、本実施形態に係る撮像素子400の概要を示す図である。撮像素子400は、被写体を撮像する。撮像素子400は、撮像された被写体の画像データを生成する。撮像素子400は、第1基板100および第2基板200を備える。図1Aに示すように、第1基板100は、第2基板200に積層されている。
(【0011】以降は省略されています)
この特許をJ-PlatPat(特許庁公式サイト)で参照する
関連特許
個人
イヤーピース
21日前
個人
イヤーマフ
1か月前
個人
監視カメラシステム
1か月前
キーコム株式会社
光伝送線路
1か月前
個人
スイッチシステム
29日前
サクサ株式会社
中継装置
1か月前
個人
スキャン式車載用撮像装置
1か月前
サクサ株式会社
中継装置
1か月前
キヤノン株式会社
撮像装置
今日
ヤマハ株式会社
放音制御装置
29日前
キヤノン電子株式会社
画像読取装置
21日前
サクサ株式会社
無線通信装置
1か月前
サクサ株式会社
無線通信装置
1か月前
サクサ株式会社
無線システム
1か月前
個人
映像表示装置、及びARグラス
1か月前
キヤノン電子株式会社
画像読取装置
29日前
キヤノン電子株式会社
画像読取装置
1か月前
株式会社リコー
画像形成装置
1か月前
キヤノン株式会社
画像処理装置
24日前
日本電気株式会社
海底分岐装置
1か月前
キヤノン電子株式会社
シート搬送装置
21日前
個人
発信機及び発信方法
1か月前
キヤノン株式会社
情報処理装置
8日前
シャープ株式会社
表示装置
21日前
株式会社NTTドコモ
端末
1か月前
シャープ株式会社
表示装置
21日前
日本セラミック株式会社
超音波送受信器
8日前
株式会社NTTドコモ
端末
1か月前
キヤノン電子株式会社
画像処理システム
1か月前
株式会社NTTドコモ
端末
1か月前
シャープ株式会社
端末装置
1か月前
株式会社NTTドコモ
端末
1か月前
株式会社NTTドコモ
端末
1か月前
ダイハツ工業株式会社
人流取得装置
1か月前
技術開発合同会社
電子拡大鏡
1か月前
個人
回動アームを構築する関節モジュール
1か月前
続きを見る
他の特許を見る