TOP
|
特許
|
意匠
|
商標
特許ウォッチ
Twitter
他の特許を見る
10個以上の画像は省略されています。
公開番号
2025164946
公報種別
公開特許公報(A)
公開日
2025-10-30
出願番号
2025144696,2023188343
出願日
2025-09-01,2019-03-29
発明の名称
撮像素子
出願人
株式会社ニコン
代理人
藤央弁理士法人
主分類
H04N
25/633 20230101AFI20251023BHJP(電気通信技術)
要約
【課題】黒レベル補正の高精度化を図ること。
【解決手段】撮像素子は、第1光電変換部と第1回路部とを含み、第1方向と第2方向とに配列された複数の第1画素と、複数の第1画素を制御する信号が出力される第1制御線と、複数の第1画素で生成された信号を出力する第1出力線と、を有する撮像領域と、遮光された第2光電変換部と第2回路部とを含み、第1方向と第2方向とに配列された複数の第2画素と、第2画素を制御する信号が出力される第2制御線と、複数の第2画素で生成された信号を出力する第2出力線と、を有する複数の遮光画素領域と、を備え、遮光画素領域は、撮像領域が有するすべての第1画素が内含される領域の外側に配置され、複数の撮像領域の各々に異なる制御条件が設定可能な撮像画素領域と、複数の遮光画素領域の各々に参照元の撮像領域と同一の制御条件が設定可能な光学的黒画素領域と、を有する。
【選択図】図6
特許請求の範囲
【請求項1】
光学系からの光を受光し電荷に変換する第1光電変換部と前記第1光電変換部に接続される第1回路部とを含み、第1方向と前記第1方向と交差する第2方向とに配列された複数の第1画素と、前記複数の第1画素に接続され、前記複数の第1画素を制御する信号が出力される第1制御線と、前記複数の第1画素に接続され、前記複数の第1画素で生成された信号を出力する第1出力線と、を有する撮像領域と、
遮光された第2光電変換部と前記第2光電変換部に接続される第2回路部とを含み、前記第1方向と前記第2方向とに配列された複数の第2画素と、前記複数の第2画素に接続され前記第2画素を制御する信号が出力される第2制御線と、前記複数の第2画素に接続され、前記複数の第2画素で生成された信号を出力する、前記第1出力線と異なる第2出力線と、を有する複数の遮光画素領域と、を備え、
前記遮光画素領域は、前記撮像領域が有する前記第1制御線に接続された、前記撮像領域が有するすべての前記第1画素が内含される領域の外側に配置され、
前記撮像領域を複数有し、複数の前記撮像領域の各々に異なる制御条件が設定可能な撮像画素領域と、
前記複数の遮光画素領域の各々に参照元の撮像領域と同一の制御条件が設定可能な光学的黒画素領域と、
を有する撮像素子。
発明の詳細な説明
【技術分野】
【0001】
本発明は、撮像素子および撮像装置に関する。
続きを表示(約 3,100 文字)
【背景技術】
【0002】
特許文献1は、フォトダイオードが配置されたオプチカルブラック領域と、フォトダイオードが配置されていないオプチカルブラック領域とを有する電荷結合素子を開示する。しかしながら、特許文献1の電荷結合素子は、異なる制御条件が設定された複数の画素領域については考慮されていない。
【先行技術文献】
【特許文献】
【0003】
特開2006‐303856号公報
【発明の概要】
【0004】
撮像素子は、光学系からの光を受光し電荷に変換する第1光電変換部と前記第1光電変換部に接続される第1回路部とを含み、第1方向と前記第1方向と交差する第2方向とに配列された複数の第1画素と、前記複数の第1画素に接続され、前記複数の第1画素を制御する信号が出力される第1制御線と、前記複数の第1画素に接続され、前記複数の第1画素で生成された信号を出力する第1出力線と、を有する撮像領域と、遮光された第2光電変換部と前記第2光電変換部に接続される第2回路部とを含み、前記第1方向と前記第2方向とに配列された複数の第2画素と、前記複数の第2画素に接続され前記第2画素を制御する信号が出力される第2制御線と、前記複数の第2画素に接続され、前記複数の第2画素で生成された信号を出力する、前記第1出力線と異なる第2出力線と、を有する複数の遮光画素領域と、を備え、前記遮光画素領域は、前記撮像領域が有する前記第1制御線に接続された、前記撮像領域が有するすべての前記第1画素が内含される領域の外側に配置され、前記撮像領域を複数有し、複数の前記撮像領域の各々に異なる制御条件が設定可能な撮像画素領域と、前記複数の遮光画素領域の各々に参照元の撮像領域と同一の制御条件が設定可能な光学的黒画素領域と、を有する。
【図面の簡単な説明】
【0005】
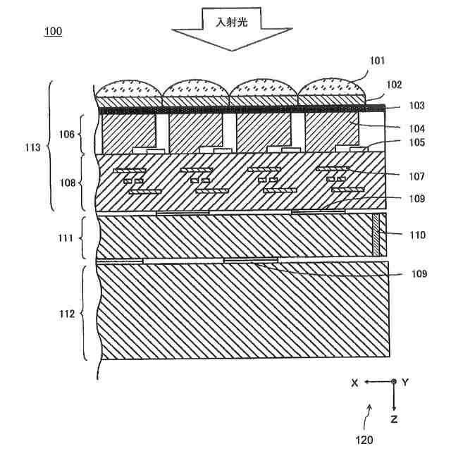
図1は、積層型撮像素子の断面図である。
図2は、撮像チップの画素配列を説明する図である。
図3は、撮像チップの回路図である。
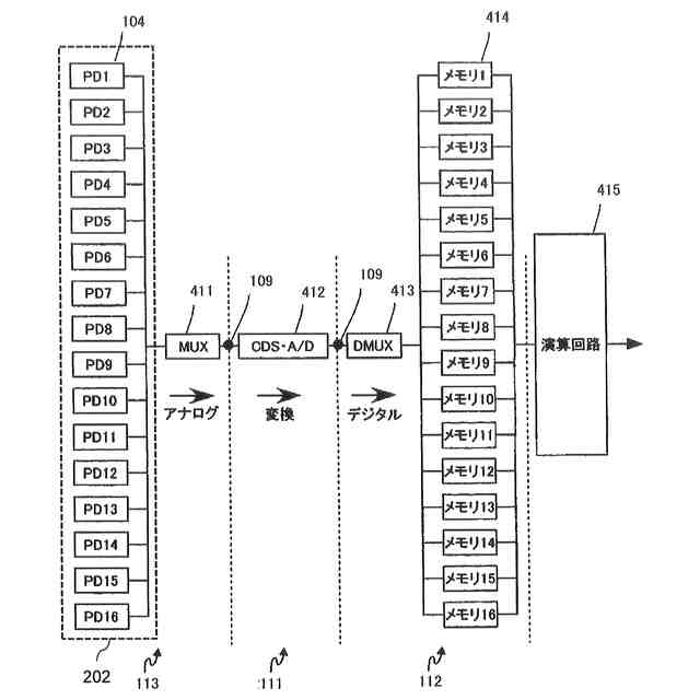
図4は、撮像素子の構成例を示すブロック図である。
図5は、電子機器のブロック構成例を示す説明図である。
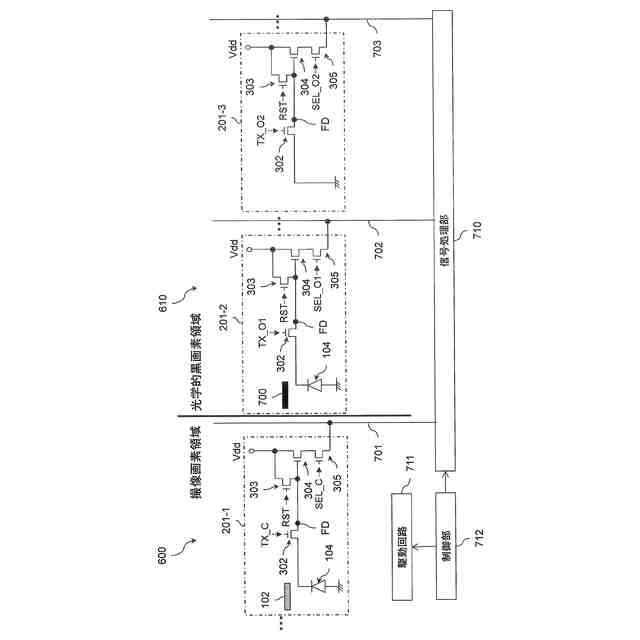
図6は、撮像画素領域の制御条件と光学的黒画素領域の制御条件との関係1を示す説明図である。
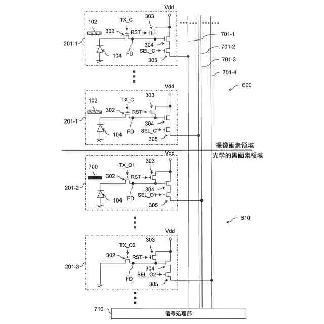
図7は、行方向における撮像画素領域と光学的黒画素領域の回路構成を示す回路図である。
図8は、列方向における撮像画素領域と光学的黒画素領域の回路構成を示す回路図である。
図9は、ブロックの動作を示すタイミングチャートである。
図10は、撮像画素領域の制御条件と光学的黒画素領域の制御条件との関係2を示す説明図である。
図11は、撮像画素領域の制御条件と光学的黒画素領域の制御条件との関係3を示す説明図である。
図12は、PD有り光学的黒画素の他の例を示すブロック図である。
図13は、実施例2にかかる撮像画素領域の制御条件と光学的黒画素領域の制御条件との関係を示す説明図である。
図14は、実施例2にかかる補正テーブルの一例を示す説明図である。
図15は、列方向における撮像画素領域と光学的黒画素領域の回路構成を示す回路図である。
図16は、実施例3にかかる撮像画素領域の制御条件と光学的黒画素領域の制御条件との関係1を示す説明図である。
図17は、実施例3にかかる撮像画素領域の制御条件と光学的黒画素領域の制御条件との関係2を示す説明図である。
図18は、実施例4にかかる撮像画素領域の制御条件と光学的黒画素領域の制御条件との関係を示す説明図である。
図19は、実施例4にかかる補正テーブルの一例を示す説明図である。
図20は、行方向における撮像画素領域と光学的黒画素領域の回路構成を示す回路図である。
図21は、実施例5にかかる撮像画素領域の制御条件と光学的黒画素領域の制御条件との関係1を示す説明図である。
図22は、実施例5にかかる撮像画素領域の制御条件と光学的黒画素領域の制御条件との関係2を示す説明図である。
図23は、実施例6にかかる撮像画素領域の制御条件と光学的黒画素領域の制御条件との関係1を示す説明図である。
図24は、実施例6にかかる撮像画素領域の制御条件と光学的黒画素領域の制御条件との関係2を示す説明図である。
図25は、実施例6にかかる補正テーブルの一例を示す説明図である。
図26は、撮像画素領域の制御条件と光学的黒画素領域の制御条件との関係を示す説明図である。
図27は、実施例7にかかる補正テーブルの一例を示す説明図である。
【発明を実施するための形態】
【0006】
<撮像素子の構成例>
本明細書の実施例に示す電子機器に搭載される撮像素子は積層型撮像素子である。この積層型撮像素子は、複数の異なる撮像領域ごとに異なる撮像条件(制御条件)が設定可能である。初めに、複数の異なる撮像領域ごとに異なる撮像条件(制御条件)が設定可能な積層型撮像素子の構造について説明する。なお、この積層型撮像素子は、本願出願人が先に出願した特願2012-139026号に記載されているものである。電子機器は、たとえば、デジタルカメラやデジタルビデオカメラなどの撮像装置である。
【0007】
図1は、積層型撮像素子100の断面図である。積層型撮像素子(以下、単に、「撮像素子」)100は、入射光に対応した画素信号を出力する裏面照射型撮像チップ(以下、単に、「撮像チップ」)113と、画素信号を処理する信号処理チップ111と、画素信号を記憶するメモリチップ112とを備える。これら撮像チップ113、信号処理チップ111およびメモリチップ112は積層されており、Cuなどの導電性を有するバンプ109により互いに電気的に接続される。
【0008】
なお、図1に示すように、入射光は主に白抜き矢印で示すZ軸プラス方向へ向かって入射する。本実施形態においては、撮像チップ113において、入射光が入射する側の面を裏面と称する。また、座標軸120に示すように、Z軸に直交する紙面左方向をX軸プラス方向、Z軸およびX軸に直交する紙面手前方向をY軸プラス方向とする。以降のいくつかの図においては、図1の座標軸120を基準として、それぞれの図の向きがわかるように座標軸120を表示する。
【0009】
撮像チップ113の一例は、裏面照射型のMOS(Metal Oxide Semiconductor)イメージセンサである。PD(フォトダイオード)層106は、配線層108の裏面側に配されている。PD層106は、二次元的に配され、入射光に応じた電荷を蓄積する複数のPD104、および、PD104に対応して設けられたトランジスタ105を有する。
【0010】
PD層106における入射光の入射側にはパッシベーション膜103を介してカラーフィルタ102が設けられる。カラーフィルタ102は、互いに異なる波長領域を透過する複数の種類を有しており、PD104のそれぞれに対応して特定の配列を有している。カラーフィルタ102の配列については後述する。カラーフィルタ102、PD104およびトランジスタ105の組が、一つの画素を形成する。
(【0011】以降は省略されています)
この特許をJ-PlatPat(特許庁公式サイト)で参照する
関連特許
株式会社ニコン
撮像素子
22日前
株式会社ニコン
撮像素子
24日前
株式会社ニコン
撮像素子
1か月前
株式会社ニコン
撮像装置
1か月前
株式会社ニコン
カメラシステム
3日前
株式会社ニコン
撮像素子及び撮像装置
3日前
株式会社ニコン
撮像素子および撮像装置
11日前
株式会社ニコン
撮像素子および撮像装置
22日前
株式会社ニコン
撮像素子および撮像装置
24日前
株式会社ニコン
眼科用光学系及び眼科装置
11日前
株式会社ニコン
眼科装置及び眼科撮影方法
24日前
株式会社ニコン
撮像ユニットおよび撮像装置
3日前
株式会社ニコン
加工システム及び検査システム
1か月前
株式会社ニコン
リレー光学系、及びアタッチメント
11日前
株式会社ニコン
フォトマスク用基板の製造方法、フォトマスクブランクスの製造方法、フォトマスクの製造方法、フォトマスク用基板の再利用方法、フォトマスク用基板、フォトマスクブランクス、フォトマスク、石英ガラス基板の加工装置
25日前
株式会社ニコン
フッ化バリウム焼結体、フッ化ランタンドープフッ化バリウム焼結体、フッ化バリウム粒子の製造方法、フッ化バリウム焼結体の製造方法、フッ化ランタンドープフッ化バリウム粒子の製造方法、フッ化ランタンドープフッ化バリウム焼結体の製造方法、光学素子、光学系、交換レンズおよび光学装置
24日前
個人
イヤーピース
22日前
個人
イヤーマフ
1か月前
個人
監視カメラシステム
1か月前
個人
スイッチシステム
1か月前
キーコム株式会社
光伝送線路
1か月前
WHISMR合同会社
収音装置
2か月前
サクサ株式会社
中継装置
1か月前
個人
スキャン式車載用撮像装置
1か月前
サクサ株式会社
中継装置
1か月前
アイホン株式会社
電気機器
2か月前
キヤノン株式会社
撮像装置
1日前
キヤノン電子株式会社
画像読取装置
22日前
株式会社リコー
画像形成装置
1か月前
キヤノン電子株式会社
画像読取装置
1か月前
サクサ株式会社
無線システム
1か月前
サクサ株式会社
無線通信装置
1か月前
サクサ株式会社
無線通信装置
1か月前
ヤマハ株式会社
放音制御装置
1か月前
個人
ワイヤレスイヤホン対応耳掛け
2か月前
キヤノン電子株式会社
画像読取装置
1か月前
続きを見る
他の特許を見る