TOP
|
特許
|
意匠
|
商標
特許ウォッチ
Twitter
他の特許を見る
公開番号
2025163307
公報種別
公開特許公報(A)
公開日
2025-10-28
出願番号
2025138715,2024033244
出願日
2025-08-22,2019-10-04
発明の名称
撮像装置
出願人
株式会社ニコン
代理人
個人
,
個人
,
個人
主分類
G03B
35/10 20210101AFI20251021BHJP(写真;映画;光波以外の波を使用する類似技術;電子写真;ホログラフイ)
要約
【課題】撮影範囲の重複量を変更可能な撮像装置を得る。
【解決手段】撮像装置は、接続部により接続され、互いの撮影範囲の重複範囲が変更される2つの撮像部と、前記互いの撮影範囲が第1の範囲で重複する第1の状態から前記互いの撮影範囲が第3の範囲で重複する第3の状態へ前記2つの撮像部の前記互いの撮影範囲の重複範囲が変更される途中の、前記互いの撮影範囲が第2の範囲で重複する第2の状態で、前記2つの撮像部に撮像を許可する制御部と、を備える。
【選択図】図4
特許請求の範囲
【請求項1】
接続部により接続され、互いの撮影範囲の重複範囲が変更される2つの撮像部と、
前記互いの撮影範囲が第1の範囲で重複する第1の状態から前記互いの撮影範囲が第3の範囲で重複する第3の状態へ前記2つの撮像部の前記互いの撮影範囲の重複範囲が変更される途中の、前記互いの撮影範囲が第2の範囲で重複する第2の状態で、前記2つの撮像部に撮像を許可する制御部と、
を備える撮像装置。
発明の詳細な説明
【技術分野】
【0001】
本発明は、撮像装置に関する。
続きを表示(約 2,000 文字)
【背景技術】
【0002】
右目用および左目用の視差画像をそれぞれ取得する複眼カメラが知られている(特許文献1参照)。複眼カメラの撮影部の撮影範囲の重複量は決まっていた。
【先行技術文献】
【特許文献】
【0003】
特開2009-188931号公報
【発明の概要】
【0004】
本発明の一態様による撮像装置は、接続部により接続され、互いの撮影範囲の重複範囲が変更される2つの撮像部と、前記互いの撮影範囲が第1の範囲で重複する第1の状態から前記互いの撮影範囲が第3の範囲で重複する第3の状態へ前記2つの撮像部の前記互いの撮影範囲の重複範囲が変更される途中の、前記互いの撮影範囲が第2の範囲で重複する第2の状態で、前記2つの撮像部に撮像を許可する制御部と、を備える。
【図面の簡単な説明】
【0005】
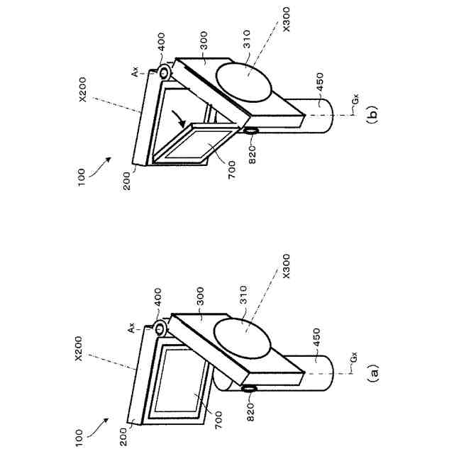
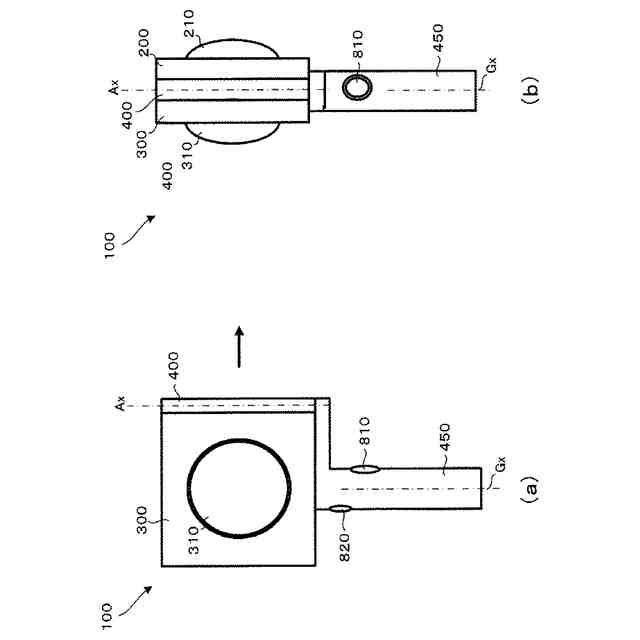
図1(a)は本実施の形態による撮像装置を正面から見た模式図、図1(b)は同撮像装置を側面から見た模式図である。
図2(a)から図2(c)は、図1の2つの撮像部を上から見た模式図であり、2つの撮像部の異なる開き状態を示す図である。
図3(a)から図3(e)は、種々の開き状態における2つの撮像部の向きを示す模式図である。
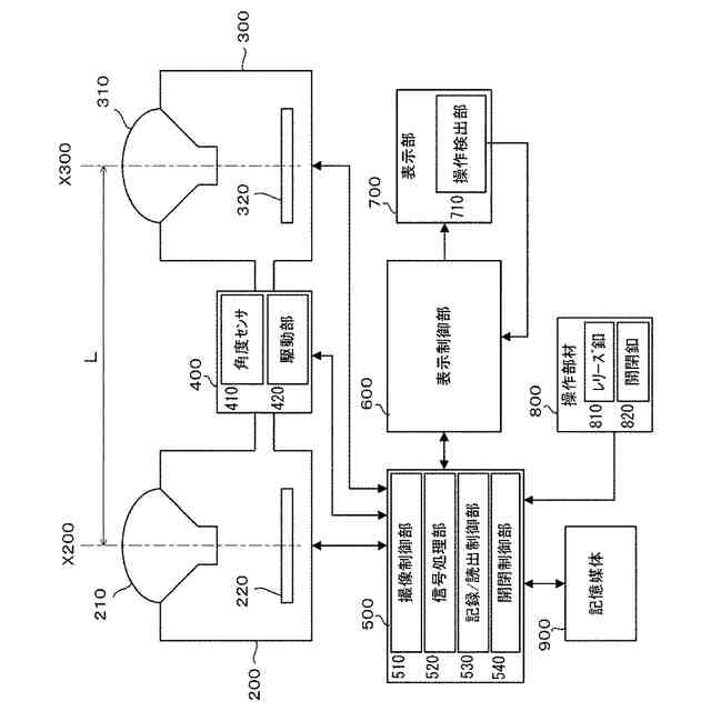
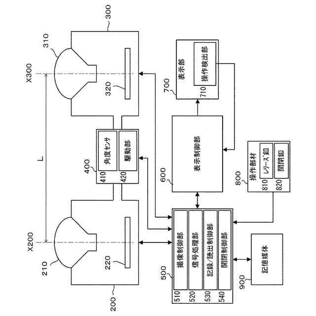
撮像装置の構成を説明する図である。
表示部の動作を説明する模式図であり、図5(a)は収納時を示す図、図5(b)は使用時を示す図である。
撮像装置と対象物を示す模式図である。
撮像装置による撮影範囲を説明する模式図である。
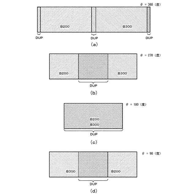
図8(a)は、開き角度θ=360度の場合の重複範囲DUPを示す図、図8(b)は開き角度θ=270度の場合の重複範囲DUPを示す図、図8(c)は、開き角度θ=180度の場合の重複範囲DUPを示す図、図8(d)は、開き角度θ=90度の場合の重複範囲DUPを示す図である。
【発明を実施するための形態】
【0006】
本発明の一実施の形態による撮像装置は、複数の撮像部を有する。各撮像部は、180度以上の範囲を撮影するためのレンズ(魚眼レンズ)と、魚眼レンズの結像面に設けられた撮像素子とを有する。各撮像部において、撮像素子が魚眼レンズによって結像された被写体像を撮像する。レンズとして180度以下の範囲しか撮影できないレンズを用いても構わない。
このような撮像装置の詳細について、図面を参照して説明する。
【0007】
<撮像装置の外観>
図1(a)は、本実施の形態による撮像装置100を正面から見た模式図であり、図1(b)は撮像装置100を側面から見た模式図である。図2(a)から図2(c)は、図1の撮像装置100の2つの撮像部を上から見た模式図であり、2つの撮像部の異なる開き状態を例示する。撮像装置100は、第1の撮像部200と第2の撮像部300とが接続部400によって支持される。接続部400は、いわゆる蝶番と同様の機能を備えており、軸Axの周りに第1の撮像部200と第2の撮像部300とが回動可能である。このように構成したので、第1の撮像部200に対する第2の撮像部300の開き状態(軸Ax周りの開き角度θ)を調節することができる。本例では、開き角度θを360度から0度の範囲で調整できる。
【0008】
図1(a)および図1(b)は、いずれも開き角度θ=360度の開き状態を例示する。図2(a)から図2(c)には、それぞれ開き角度θ=270度、θ=180度、θ=90度の開き状態を例示する。
【0009】
撮像装置100には、棒状の把持部450が設けられている。把持部450は、接続部400の軸Axと平行な軸Gxに沿って設けられている。把持部450の軸Gxを、接続部400の軸Axと同軸に設けていない理由は、把持部450を握る使用者の手が第1の撮像部200、第2の撮像部300に写り込むのを避けるためである。
【0010】
使用者は、撮像装置100を使用する時、たとえば撮像装置100の把持部450を手で把持して身体の前に構え、接続部400を主要被写体(図1(a)において矢印方向)に向ける。接続部400から見て主要被写体側(矢印方向)を前方とすると、把持部450は接続部400よりも後方に位置するので、把持部450を握る使用者の手が第1の撮像部200、第2の撮像部300に写りにくくなる。このとき、使用者は把持部450を地面(床面)に対して垂直方向に保つとともに、撮像装置100の接続部400を主要被写体の方向に向ける。
なお、把持部450を握る使用者の手が第1の撮像部200、第2の撮像部300に写り込むことが許容される場合には、把持部450の軸Gxを接続部400の軸Axと同軸に設けてもよい。
(【0011】以降は省略されています)
この特許をJ-PlatPat(特許庁公式サイト)で参照する
関連特許
株式会社ニコン
撮像素子
24日前
株式会社ニコン
撮像装置
1か月前
株式会社ニコン
撮像素子
22日前
株式会社ニコン
撮像装置
1か月前
株式会社ニコン
撮像素子
1か月前
株式会社ニコン
レンズ鏡筒
1か月前
株式会社ニコン
変倍光学系
1か月前
株式会社ニコン
カメラボディ
1か月前
株式会社ニコン
カメラシステム
3日前
株式会社ニコン
撮像素子及び撮像装置
1か月前
株式会社ニコン
光学系および光学機器
1か月前
株式会社ニコン
撮像素子及び撮像装置
3日前
株式会社ニコン
撮像素子および撮像装置
11日前
株式会社ニコン
撮像素子および撮像装置
24日前
株式会社ニコン
撮像素子および撮像装置
22日前
株式会社ニコン
眼科装置及び眼科撮影方法
24日前
株式会社ニコン
眼科用光学系及び眼科装置
11日前
株式会社ニコン
撮像ユニットおよび撮像装置
1か月前
株式会社ニコン
焦点検出装置および撮像素子
1か月前
株式会社ニコン
撮像ユニットおよび撮像装置
3日前
株式会社ニコン
測定システム、及び測定方法
1か月前
株式会社ニコン
加工システム及び検査システム
1か月前
株式会社ニコン
リレー光学系、及びアタッチメント
11日前
株式会社ニコン
光学系、光学機器および光学系の製造方法
1か月前
株式会社ニコン
システム、情報処理装置、及びプログラム
1か月前
株式会社ニコン
変倍光学系、光学機器、および変倍光学系の製造方法
1か月前
株式会社ニコン
変倍光学系、光学機器、および変倍光学系の製造方法
1か月前
株式会社ニコン
変倍光学系、光学機器、および変倍光学系の製造方法
1か月前
株式会社ニコン
画像処理方法、画像処理装置、及び画像処理プログラム
1か月前
株式会社ニコン
画像処理方法、画像処理装置、及び画像処理プログラム
1か月前
株式会社ニコン
フォトマスク用基板の製造方法、フォトマスクブランクスの製造方法、フォトマスクの製造方法、フォトマスク用基板の再利用方法、フォトマスク用基板、フォトマスクブランクス、フォトマスク、石英ガラス基板の加工装置
25日前
株式会社ニコン
フッ化バリウム焼結体、フッ化ランタンドープフッ化バリウム焼結体、フッ化バリウム粒子の製造方法、フッ化バリウム焼結体の製造方法、フッ化ランタンドープフッ化バリウム粒子の製造方法、フッ化ランタンドープフッ化バリウム焼結体の製造方法、光学素子、光学系、交換レンズおよび光学装置
24日前
個人
表示装置
1か月前
個人
雨用レンズカバー
1か月前
株式会社シグマ
絞りユニット
2か月前
キヤノン株式会社
撮像装置
2か月前
続きを見る
他の特許を見る