TOP
|
特許
|
意匠
|
商標
特許ウォッチ
Twitter
他の特許を見る
公開番号
2025159166
公報種別
公開特許公報(A)
公開日
2025-10-17
出願番号
2025136410,2024032389
出願日
2025-08-19,2021-03-04
発明の名称
光学系、光学機器および光学系の製造方法
出願人
株式会社ニコン
代理人
個人
,
個人
,
個人
,
個人
,
個人
主分類
G02B
13/02 20060101AFI20251009BHJP(光学)
要約
【課題】小型かつ軽量であって良好な結像性能を有する光学系、光学機器および光学系の製造方法を提供する。
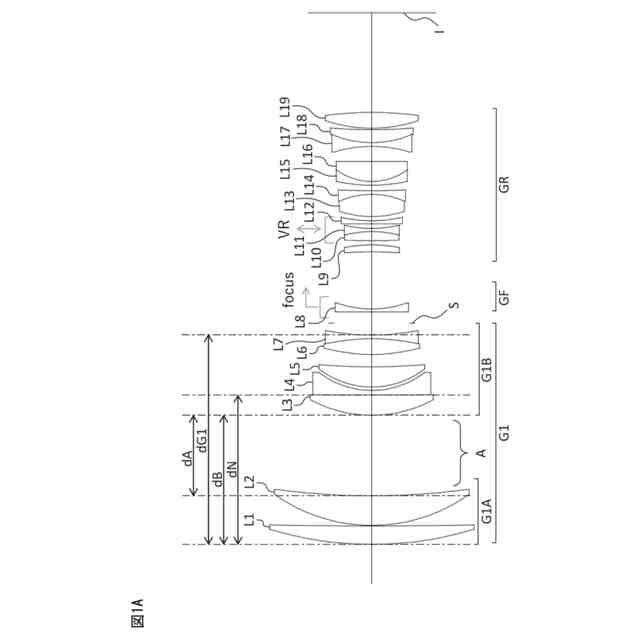
【解決手段】カメラ1等の光学機器に用いられる光学系を、物体側から順に、正の屈折力を有する第1レンズ群と、合焦の際に光軸に沿って移動する合焦群と、後群とからなり、第1レンズ群内で最も大きな空気間隔Aを隔てて物体側に配置されたレンズ群を第1Aレンズ群とし、以下に示す条件式をすべて満足するよう構成する。1.00<FNo×(TL/f)
2
<2.50および0.30<dA/dG1<0.85。但し、FNoは無限遠合焦時における光学系のF値であり、TLは無限遠合焦時における光学系の光学全長であり、fは無限遠合焦時における光学系の焦点距離であり、dAは空気間隔Aの光軸上の距離であり、dG1は第1レンズ群の光軸上の距離である。
【選択図】図1A
特許請求の範囲
【請求項1】
物体側から順に、正の屈折力を有する第1レンズ群と、
合焦の際に光軸に沿って移動する合焦群と、後群とからなり、
前記第1レンズ群内で最も大きな空気間隔Aを隔てて物体側に配置されたレンズ群を第1Aレンズ群とし、
以下の条件式のすべてを満足する光学系。
1.00 < FNo × (TL/f)
2
< 2.50
0.30 < dA/dG1 < 0.85
0.00 < (L1R2+L1R1)/(L1R2-L1R1) < 3.00
但し、
FNo:無限遠合焦時における前記光学系のF値
TL :無限遠合焦時における前記光学系の光学全長
f :無限遠合焦時における前記光学系の焦点距離
dA :前記空気間隔Aの光軸上の距離
dG1:前記第1レンズ群の光軸上の距離
L1R1:前記第1Aレンズ群内で最も物体側に配置される第1レンズの物体側の面の曲率半径
L1R2:前記第1レンズの像側の面の曲率半径
発明の詳細な説明
【技術分野】
【0001】
本発明は、光学系、光学機器および光学系の製造方法に関する。
続きを表示(約 3,600 文字)
【背景技術】
【0002】
従来、写真用カメラ、電子スチルカメラ、ビデオカメラ等に使用される光学系が提案されている(例えば特許文献1参照)。
【先行技術文献】
【特許文献】
【0003】
特開2016-200685号公報
【発明の概要】
【0004】
本開示の光学系は、物体側から順に、正の屈折力を有する第1レンズ群と、合焦の際に光軸に沿って移動する合焦群と、後群とからなり、第1レンズ群内で最も大きな空気間隔Aを隔てて物体側に配置されたレンズ群を第1Aレンズ群とし、以下の条件式のすべてを満足する。
1.00 < FNo × (TL/f)
2
< 2.50
0.30 < dA/dG1 < 0.85
但し、
FNo:無限遠合焦時における光学系のF値
TL :無限遠合焦時における光学系の光学全長
f :無限遠合焦時における光学系の焦点距離
dA :空気間隔Aの光軸上の距離
dG1:第1レンズ群の光軸上の距離
【0005】
本開示の光学系は、物体側から順に、正の屈折力を有する第1レンズ群と、合焦の際に光軸に沿って移動する合焦群と、後群とからなり、第1レンズ群内で最も大きな空気間隔Aを隔てて物体側に配置されたレンズ群を第1Aレンズ群とし、以下の条件式のすべてを満足する。
0.30 < TL/f < 0.80
0.30 < dA/dG1 < 0.85
但し、
TL :無限遠合焦時における光学系の光学全長
f :無限遠合焦時における光学系の焦点距離
dA :空気間隔Aの光軸上の距離
dG1:第1レンズ群の光軸上の距離
【0006】
本開示の光学系は、複数のレンズからなる光学系であって、物体側から順に少なくとも1枚の正レンズ成分と負レンズNとを有し、以下の条件式をすべて満足する。
1.00 < FNo × (TL/f)
2
< 2.50
0.18 < dN/TL < 0.45
但し、
FNo:無限遠合焦時における光学系のF値
TL :無限遠合焦時における光学系の光学全長
f :無限遠合焦時における光学系の焦点距離
dN :光学系の最も物体側の面から負レンズNの物体側の面までの光軸上の距離
【0007】
本開示の光学系は、複数のレンズからなる光学系であって、最も物体側に正レンズ成分を有し、正レンズ成分より像側に配置された負レンズのうち最も物体側に配置された負レンズNを有し、以下の条件式をすべて満足する。
1.00 < FNo × (TL/f)
2
< 2.50
0.18 < dN/TL < 0.45
但し、
FNo:無限遠合焦時における光学系のF値
TL :無限遠合焦時における光学系の光学全長
f :無限遠合焦時における光学系の焦点距離
dN :光学系の最も物体側の面から前記負レンズNの物体側の面までの光軸上の距離
【0008】
本開示の光学系の製造方法は、複数のレンズからなる光学系の製造方法であって、物体側から順に、正の屈折力を有する第1レンズ群と、合焦の際に光軸に沿って移動する合焦群と、後群とを配置し、第1レンズ群内で最も大きな空気間隔Aを隔てて物体側に、第1Aレンズ群を配置し、以下の条件式のすべてを満足するように配置する。
1.00 < FNo × (TL/f)
2
< 2.50
0.30 < dA/dG1 < 0.85
但し、
FNo:無限遠合焦時における光学系のF値
TL :無限遠合焦時における光学系の光学全長
f :無限遠合焦時における光学系の焦点距離
dA :空気間隔Aの光軸上の距離
dG1:第1レンズ群の光軸上の距離
【0009】
本開示の光学系の製造方法は、複数のレンズからなる光学系の製造方法であって、物体側から順に、少なくとも1枚の正レンズ成分と負レンズNとを配置し、以下の条件式をすべて満足するように配置する。
1.00 < FNo × (TL/f)
2
< 2.50
0.18 < dN/TL < 0.45
但し、
FNo:無限遠合焦時における光学系のF値
TL :無限遠合焦時における光学系の光学全長
f :無限遠合焦時における光学系の焦点距離
dN :光学系の最も物体側の面から負レンズNの物体側の面までの光軸上の距離
【図面の簡単な説明】
【0010】
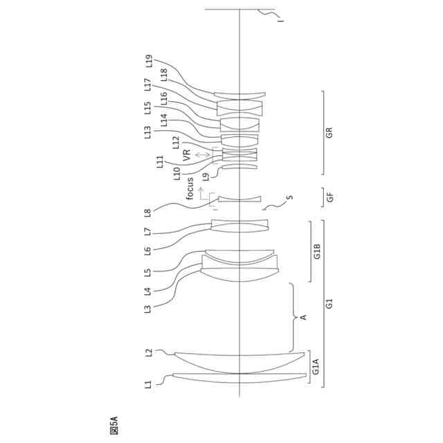
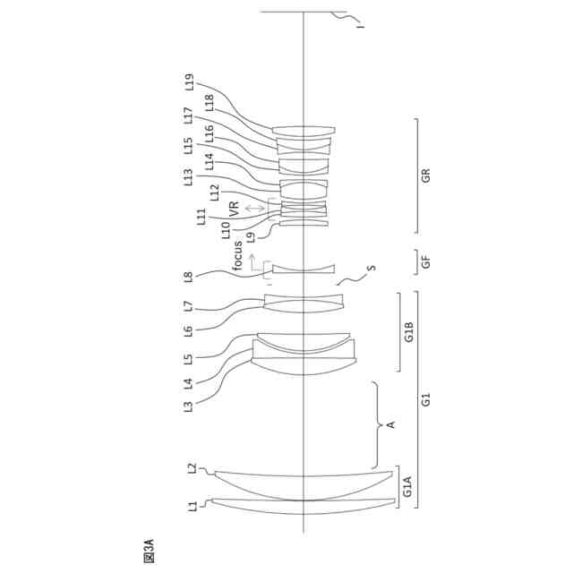
図1Aは、無限遠物体合焦時における第1実施例の光学系の断面図である。
図1Bは、近距離物体物体合焦時における第1実施例の光学系の断面図である。
図2は、無限遠物体合焦時における第1実施例の光学系の諸収差図である。
図3Aは、無限遠物体合焦時における第2実施例の光学系の断面図である。
図3Bは、近距離物体物体合焦時における第2実施例の光学系の断面図である。
図4は、無限遠物体合焦時における第2実施例の光学系の諸収差図である。
図5Aは、無限遠物体合焦時における第3実施例の光学系の断面図である。
図5Bは、近距離物体物体合焦時における第3実施例の光学系の断面図である。
図6は、無限遠物体合焦時における第3実施例の光学系の諸収差図である。
図7Aは、無限遠物体合焦時における第4実施例の光学系の断面図である。
図7Bは、近距離物体物体合焦時における第4実施例の光学系の断面図である。
図8は、無限遠物体合焦時における第4実施例の光学系の諸収差図である。
図9Aは、無限遠物体合焦時における第5実施例の光学系の断面図である。
図9Bは、近距離物体物体合焦時における第5実施例の光学系の断面図である。
図10は、無限遠物体合焦時における第5実施例の光学系の諸収差図である。
図11Aは、無限遠物体合焦時における第6実施例の光学系の断面図である。
図11Bは、近距離物体物体合焦時における第6実施例の光学系の断面図である。
図12は、無限遠物体合焦時における第6実施例の光学系の諸収差図である。
図13Aは、無限遠物体合焦時における第7実施例の光学系の断面図である。
図13Bは、近距離物体物体合焦時における第7実施例の光学系の断面図である。
図14は、無限遠物体合焦時における第7実施例の光学系の諸収差図である。
図15Aは、無限遠物体合焦時における第8実施例の光学系の断面図である。
図15Bは、近距離物体物体合焦時における第8実施例の光学系の断面図である。
図16は、無限遠物体合焦時における第8実施例の光学系の諸収差図である。
図17Aは、無限遠物体合焦時における第9実施例の光学系の断面図である。
図17Bは、近距離物体物体合焦時における第9実施例の光学系の断面図である。
図18は、無限遠物体合焦時における第9実施例の光学系の諸収差図である。
図19Aは、無限遠物体合焦時における第10実施例の光学系の断面図である。
図19Bは、近距離物体物体合焦時における第10実施例の光学系の断面図である。
図20は、無限遠物体合焦時における第10実施例の光学系の諸収差図である。
図21Aは、無限遠物体合焦時における第11実施例の光学系の断面図である。
図21Bは、近距離物体物体合焦時における第11実施例の光学系の断面図である。
図22は、無限遠物体合焦時における第11実施例の光学系の諸収差図である。
図23は、本実施形態の光学系を備えたカメラの模式図である。
図24は、本実施形態の光学系の製造方法の概略を示す第1のフローチャートである。
図25は、本実施形態の光学系の製造方法の概略を示す第2のフローチャートである。
【発明を実施するための形態】
(【0011】以降は省略されています)
この特許をJ-PlatPat(特許庁公式サイト)で参照する
関連特許
株式会社ニコン
撮像素子
14日前
株式会社ニコン
撮像素子
12日前
株式会社ニコン
撮像素子
20日前
株式会社ニコン
撮像装置
22日前
株式会社ニコン
撮像素子および撮像装置
1日前
株式会社ニコン
撮像素子および撮像装置
12日前
株式会社ニコン
撮像素子および撮像装置
14日前
株式会社ニコン
眼科用光学系及び眼科装置
1日前
株式会社ニコン
眼科装置及び眼科撮影方法
14日前
株式会社ニコン
加工システム及び検査システム
20日前
株式会社ニコン
リレー光学系、及びアタッチメント
1日前
株式会社ニコン
フォトマスク用基板の製造方法、フォトマスクブランクスの製造方法、フォトマスクの製造方法、フォトマスク用基板の再利用方法、フォトマスク用基板、フォトマスクブランクス、フォトマスク、石英ガラス基板の加工装置
15日前
株式会社ニコン
フッ化バリウム焼結体、フッ化ランタンドープフッ化バリウム焼結体、フッ化バリウム粒子の製造方法、フッ化バリウム焼結体の製造方法、フッ化ランタンドープフッ化バリウム粒子の製造方法、フッ化ランタンドープフッ化バリウム焼結体の製造方法、光学素子、光学系、交換レンズおよび光学装置
14日前
カンタツ株式会社
光学系
28日前
住友化学株式会社
偏光板
1か月前
株式会社シグマ
結像光学系
12日前
株式会社シグマ
結像光学系
22日前
住友化学株式会社
垂直偏光板
1か月前
日本精機株式会社
ミラーユニット
21日前
古河電気工業株式会社
融着機
28日前
日本電気株式会社
光モジュール
22日前
日東電工株式会社
導光部材
12日前
株式会社コシナ
投射ズームレンズ
5日前
個人
多方向視差効果のための微細穴加工
23日前
三菱電機株式会社
レンズモジュール
1か月前
京セラ株式会社
光学系
20日前
個人
眼鏡装着位置変更具および眼鏡
1か月前
日東電工株式会社
光学積層体
14日前
日本精機株式会社
ヘッドアップディスプレイ
15日前
AGC株式会社
インフィニティミラー
29日前
日本精機株式会社
ヘッドアップディスプレイ
12日前
マクセル株式会社
映像表示装置
5日前
新光電気工業株式会社
光導波路部品
1か月前
日本精機株式会社
ヘッドアップディスプレイ装置
12日前
日本精機株式会社
ヘッドアップディスプレイ装置
13日前
新光電気工業株式会社
光導波路部品
1か月前
続きを見る
他の特許を見る