TOP
|
特許
|
意匠
|
商標
特許ウォッチ
Twitter
他の特許を見る
10個以上の画像は省略されています。
公開番号
2025168591
公報種別
公開特許公報(A)
公開日
2025-11-07
出願番号
2025149312,2023172887
出願日
2025-09-09,2013-05-02
発明の名称
撮像素子および撮像装置
出願人
株式会社ニコン
代理人
弁理士法人RYUKA国際特許事務所
主分類
H04N
25/70 20230101AFI20251030BHJP(電気通信技術)
要約
【課題】上記撮像ユニットにあって、セルごとに制御線がある。しかしながら、セル間での電荷の蓄積時間および画素信号の読み出しを細かく制御していない。
【解決手段】積層された複数の半導体基板を備える撮像素子であって、光を電荷に変換する第1光電変換部を有する第1画素と、光を電荷に変換する第2光電変換部を有する第2画素と、第1画素の駆動を制御するための第1評価値の演算と、第2画素の駆動を制御するための第2評価値の演算とを行う演算部とを備え、第1光電変換部と第2光電変換部とは、複数の半導体基板のうち第1半導体基板に配置され、演算部は、複数の半導体基板のうち第2半導体基板に配置される、撮像素子が提供される。
【選択図】図1
特許請求の範囲
【請求項1】
積層された複数の半導体基板を備える撮像素子であって、
光を電荷に変換する第1光電変換部を有する第1画素と、
光を電荷に変換する第2光電変換部を有する第2画素と、
前記第1画素の駆動を制御するための第1評価値の演算と、前記第2画素の駆動を制御するための第2評価値の演算とを行う演算部と
を備え、
前記第1光電変換部と前記第2光電変換部とは、前記複数の半導体基板のうち第1半導体基板に配置され、
前記演算部は、前記複数の半導体基板のうち第2半導体基板に配置される、
撮像素子。
続きを表示(約 1,300 文字)
【請求項2】
請求項1に記載の撮像素子において、
前記演算部は、前記第1光電変換部で変換された電荷に基づく第1信号を用いて前記第1評価値の演算を行い、前記第2光電変換部で変換された電荷に基づく第2信号を用いて前記第2評価値の演算を行う、
撮像素子。
【請求項3】
請求項2に記載の撮像素子において、
前記第1信号をデジタル信号に変換する第1変換部と、
前記第2信号をデジタル信号に変換する第2変換部と
を備え、
前記演算部は、前記第1変換部でデジタル信号に変換された前記第1信号を用いて前記第1評価値の演算を行い、前記第2変換部でデジタル信号に変換された前記第2信号を用いて前記第2評価値の演算を行う、
撮像素子。
【請求項4】
請求項3に記載の撮像素子において、
前記第1変換部と前記第2変換部とは、前記第2半導体基板に配置される、
撮像素子。
【請求項5】
請求項3または請求項4に記載の撮像素子において、
前記第1変換部でデジタル信号に変換された前記第1信号を格納する第1格納部と、
前記第2変換部でデジタル信号に変換された前記第2信号を格納する第2格納部と
を備え、
前記演算部は、前記第1格納部に格納された前記第1信号を用いて前記第1評価値の演算を行い、前記第1格納部に格納された前記第2信号を用いて前記第2評価値の演算を行う、
撮像素子。
【請求項6】
請求項5に記載の撮像素子において、
前記第1格納部と前記第2格納部とは、前記第2半導体基板に配置される、
撮像素子。
【請求項7】
請求項1から請求項6のいずれか一項に記載の撮像素子において、
前記演算部は、前記第1評価値の演算を行う第1演算回路と、前記第2評価値の演算を行う第2演算回路とを有する、
撮像素子。
【請求項8】
請求項1から請求項7のいずれか一項に記載の撮像素子において、
前記第1画素の駆動と、前記第2画素の駆動とを制御する制御部を備え、
前記制御部は、前記第1評価値に基づいて前記第1画素の駆動を制御し、前記第2評価値に基づいて前記第2画素の駆動を制御する、
撮像素子。
【請求項9】
請求項8に記載の撮像素子において、
前記制御部は、前記第1画素の駆動として、前記第1光電変換部で変換された電荷を蓄積する蓄積時間を制御し、前記第2画素の駆動として、前記第2光電変換部で変換された電荷を蓄積する蓄積時間を制御する、
撮像素子。
【請求項10】
請求項8または請求項9に記載の撮像素子において、
前記制御部は、前記第1画素の駆動として、前記第1光電変換部で変換された電荷に基づく信号を前記第1画素から読み出すためのフレームレートを制御し、前記第2画素の駆動として、前記第2光電変換部で変換された電荷に基づく信号を前記第2画素から読み出すためのフレームレートを制御する、
撮像素子。
(【請求項11】以降は省略されています)
発明の詳細な説明
【技術分野】
【0001】
本発明は、撮像素子および撮像装置に関する。
続きを表示(約 4,000 文字)
【背景技術】
【0002】
裏面照射型撮像チップと信号処理チップが、複数画素をまとめたセル単位ごとにマイクロバンプを介して接続された撮像ユニットが知られている。
[先行技術文献]
[特許文献]
[特許文献1]特開2006-49361号公報
【発明の概要】
【発明が解決しようとする課題】
【0003】
上記撮像ユニットにあって、セルごとに制御線がある。しかしながら、セル間での電荷の蓄積時間および画素信号の読み出しを細かく制御していない。
【課題を解決するための手段】
【0004】
本発明の第1の態様においては、積層された複数の半導体基板を備える撮像素子であって、光を電荷に変換する第1光電変換部を有する第1画素と、光を電荷に変換する第2光電変換部を有する第2画素と、第1画素の駆動を制御するための第1評価値の演算と、第2画素の駆動を制御するための第2評価値の演算とを行う演算部とを備え、第1光電変換部と第2光電変換部とは、複数の半導体基板のうち第1半導体基板に配置され、演算部は、複数の半導体基板のうち第2半導体基板に配置される、撮像素子が提供される。
【0005】
本発明の第2の態様においては、撮像装置であって、上記撮像素子を備える。
【0006】
なお、上記の発明の概要は、本発明の必要な特徴の全てを列挙したものではない。また、これらの特徴群のサブコンビネーションもまた、発明となりうる。
【図面の簡単な説明】
【0007】
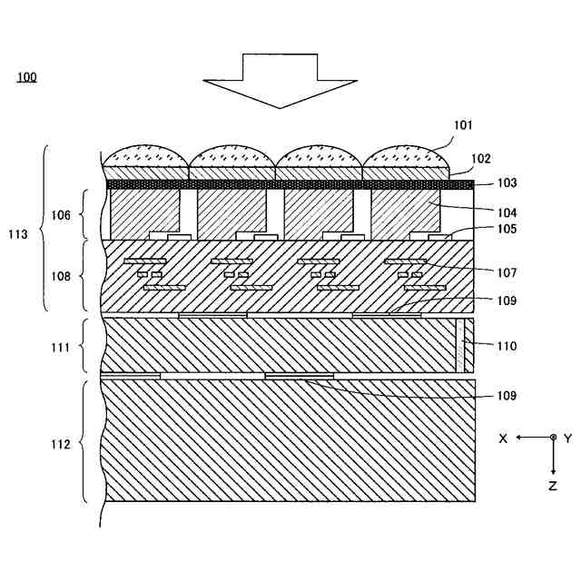
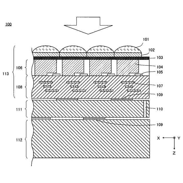
本実施形態に係る裏面照射型のMOS型撮像素子の断面図である。
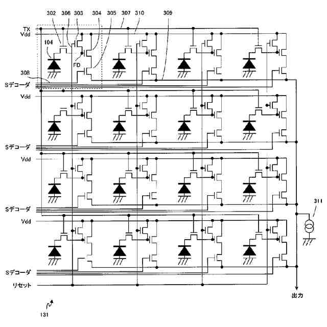
撮像チップの画素配列と単位グループを説明する図である。
撮像チップの単位グループに対応する回路図である。
撮像素子の機能的構成を示すブロック図である。
本実施形態に係る撮像装置の構成を示すブロック図である。
画像処理部の機能ブロック図である。
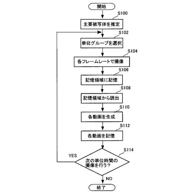
撮像装置が動画を生成して記録する動作を示すフローチャートである。
撮像素子により撮像される画像の一例を示す。
撮像素子により撮像される画像の一例を示す。
各フレームレートと画像信号の出力タイミングとの関係を示す。
動画生成部により生成された注目領域動画および周辺領域動画を模式的に示す。
動画生成部が付加するヘッダ情報の一例を示す。
撮像装置が動画を再生して表示する動作を示すフローチャートである。
撮像装置が動画を生成して記録する他の動作の例を示すフローチャートである。
単位グループに対して間引き率0.5で読み出される画素の例を示す。
撮像装置が動画を再生して表示する動作を示すフローチャートである。
シーンの例と領域分割を説明する図である。
図17の例による分割された領域ごとの電荷蓄積制御を説明する図である。
積算回数とダイナミックレンジの関係を示す図である。
撮影動作の処理を示すフロー図である。
信号処理チップの一例としての具体的構成を示すブロック図である。
本実施形態に係る他の裏面照射型のMOS型撮像素子の断面図である。
撮像チップの画素配列と単位グループを説明する図である。
撮像チップの単位グループに対応する回路図である。
本実施形態に係る撮像装置の構成を示すブロック図である。
信号処理チップの一例としての具体的構成を示すブロック図である。
演算回路1415の機能ブロックの一例である。
フレーム間の差分dとフレームレートfとの対応関係の一例を示す。
撮像素子により撮像される画像の一例を示す。
撮像素子により撮像される画像の一例を示す。
他の演算回路の機能ブロックの一例である。
一の単位グループに対して間引き率0.5で読み出される画素1188の例を示す。
さらに他の演算回路の機能ブロックの一例を示す。
利得と画素信号との関係を模式的に示す。
本実施形態に係る裏面照射型のMOS型撮像素子の断面図である。
撮像チップの画素配列と画素ブロックを説明する図である。
撮像チップの画素ブロックに対応する回路図である。
撮像素子の構成の一部とその動作例を示す図である。
本実施形態に係る撮像装置の構成を示すブロック図である。
画像処理部の機能ブロック図である。
撮像装置が動画を生成して記録する動作を示すフローチャートである。
撮像素子により撮像される画像の一例を示す。
撮像素子により撮像される画像の一例を示す。
各フレームレートと画像信号の出力タイミングとの関係を示す。
動画生成部により生成された注目領域動画および周辺領域動画を模式的に示す。
動画生成部が付加するヘッダ情報の一例を示す。
撮像装置が動画を再生して表示する動作を示すフローチャートである。
撮像装置が動画を生成して記録する他の動作の例を示すフローチャートである。
一の画素ブロックに対して間引き率0.5で読み出される画素の例を示す。
撮像装置が動画を再生して表示する動作を示すフローチャートである。
シーンの例を説明する図である。
領域分割を説明する図である。
図51B の例による分割された領域ごとの電荷蓄積制御を説明する図である。
積算回数とダイナミックレンジの関係を示す図である。
撮影動作の処理を示すフロー図である。
信号処理チップの一例としての具体的構成を示すブロック図である。
周辺画素データ処理部の構成を示すブロック図である。
演算回路の構成の一例を示すブロック図である。
演算回路の動作の例を示すフローチャートである。
出力回路で生成されるデータ配列の構成を示す。
図59に示すデータ配列の内容を示す。
本実施形態に係る裏面照射型のMOS型撮像素子の断面図である。
撮像チップの画素配列と画素ブロックを説明する図である。
撮像チップの画素ブロックに対応する回路図である。
撮像素子の構成の一部とその動作例を示す図である。
撮像素子の他の動作例を示す図である。
撮像素子の他の動作例を示す図である。
本実施形態に係る撮像装置の構成を示すブロック図である。
画像処理部の機能ブロック図である。
撮像装置が動画を生成して記録する動作を示すフローチャートである。
撮像素子により撮像される画像の一例を示す。
撮像素子により撮像される画像の一例を示す。
各フレームレートと画像信号の出力タイミングとの関係を示す。
動画生成部により生成された注目領域動画および周辺領域動画を模式的に示す。
動画生成部が付加するヘッダ情報の一例を示す。
撮像装置が動画を再生して表示する動作を示すフローチャートである。
撮像素子の画素領域とその動作例の平面図である。
撮像素子の画素領域の他の構成とその動作例の平面図である。
撮像素子の画素領域の他の構成とその動作例の平面図である。
撮像素子の画素領域の他の構成とその動作例の平面図である。
撮像素子の画素領域の他の構成とその動作例を示す図である。
撮像装置が動画を生成して記録する他の動作の例を示すフローチャートである。
に対して間引き率0.5で読み出される画素の例を示す。
撮像装置が動画を再生して表示する動作を示すフローチャートである。
シーンの例を説明する図である。
領域分割を説明する図である。
図82B の例による分割された領域ごとの電荷蓄積制御を説明する図である。
積算回数とダイナミックレンジの関係を示す図である。
撮影動作の処理を示すフロー図である。
信号処理チップの一例としての具体的構成を示すブロック図である。
【発明を実施するための形態】
【0008】
以下、発明の実施の形態を通じて本発明を説明するが、以下の実施形態は特許請求の範囲にかかる発明を限定するものではない。また、実施形態の中で説明されている特徴の組み合わせの全てが発明の解決手段に必須であるとは限らない。
【0009】
図1は、本実施形態に係る裏面照射型の撮像素子100の断面図である。撮像素子100は、入射光に対応した画素信号を出力する撮像チップ113と、画素信号を処理する信号処理チップ111と、画素信号を記憶するメモリチップ112とを備える。これら撮像チップ113、信号処理チップ111およびメモリチップ112は積層されており、Cu等の導電性を有するバンプ109により互いに電気的に接続される。
【0010】
なお、図示するように、入射光は主に白抜き矢印で示すZ軸プラス方向へ向かって入射する。本実施形態においては、撮像チップ113において、入射光が入射する側の面を裏面と称する。また、座標軸に示すように、Z軸に直交する紙面左方向をX軸プラス方向、Z軸およびX軸に直交する紙面手前方向をY軸プラス方向とする。以降のいくつかの図においては、図1の座標軸を基準として、それぞれの図の向きがわかるように座標軸を表示する。
(【0011】以降は省略されています)
この特許をJ-PlatPat(特許庁公式サイト)で参照する
関連特許
株式会社ニコン
撮像素子
4日前
株式会社ニコン
撮像素子および撮像装置
4日前
株式会社ニコン
眼科装置及び眼科撮影方法
6日前
個人
イヤーピース
4日前
個人
イヤーマフ
18日前
個人
監視カメラシステム
27日前
キーコム株式会社
光伝送線路
28日前
個人
スイッチシステム
12日前
WHISMR合同会社
収音装置
2か月前
サクサ株式会社
中継装置
1か月前
個人
スキャン式車載用撮像装置
27日前
サクサ株式会社
中継装置
1か月前
アイホン株式会社
電気機器
1か月前
キヤノン株式会社
撮像装置
2か月前
キヤノン電子株式会社
画像読取装置
12日前
個人
映像表示装置、及びARグラス
13日前
サクサ株式会社
無線通信装置
1か月前
キヤノン電子株式会社
画像読取装置
4日前
キヤノン電子株式会社
画像読取装置
26日前
株式会社リコー
画像形成装置
2か月前
キヤノン電子株式会社
画像読取装置
2か月前
個人
ワイヤレスイヤホン対応耳掛け
1か月前
株式会社リコー
画像形成装置
2か月前
サクサ株式会社
無線通信装置
1か月前
株式会社リコー
画像形成装置
20日前
サクサ株式会社
無線システム
1か月前
ヤマハ株式会社
放音制御装置
12日前
日本電気株式会社
海底分岐装置
28日前
キヤノン電子株式会社
シート搬送装置
4日前
キヤノン株式会社
撮像システム
1か月前
個人
発信機及び発信方法
1か月前
キヤノン株式会社
画像処理装置
7日前
パテントフレア株式会社
超高速電波通信
2か月前
株式会社NTTドコモ
端末
27日前
株式会社NTTドコモ
端末
28日前
沖電気工業株式会社
画像形成装置
1か月前
続きを見る
他の特許を見る