TOP
|
特許
|
意匠
|
商標
特許ウォッチ
Twitter
他の特許を見る
10個以上の画像は省略されています。
公開番号
2025178311
公報種別
公開特許公報(A)
公開日
2025-12-05
出願番号
2025152919,2024091060
出願日
2025-09-16,2014-08-28
発明の名称
電子機器
出願人
株式会社ニコン
代理人
個人
主分類
G06F
21/31 20130101AFI20251128BHJP(計算;計数)
要約
【課題】撮影動作を阻害することなく個人認証ができる電子機器を提供する。
【解決手段】個人認証の対象となる認証対象物を撮影する撮影部と、前記個人認証を行う際の基準となる個人認証データを登録する登録モードを設定する設定部と、前記登録モードが設定された場合に、前記撮影部の撮影画角を変化させながら前記認証対象物を連続撮影する撮影制御部と、前記撮影部により連続撮影されたそれぞれの画像において前記個人認証を行う際の指標となる認証ポイントを認識する認識部と、前記認識部により認識された前記認証ポイントの軌跡を示す軌跡データを生成する軌跡生成部と、前記軌跡生成部により生成された前記軌跡データを前記個人認証データとして登録する登録部とを備える。
【選択図】図1
特許請求の範囲
【請求項1】
個人認証の対象となる認証対象物を撮影する撮影部と、
前記個人認証を行う際の基準となる個人認証データを登録する登録モードを設定する設定部と、
前記登録モードが設定された場合に、前記撮影部の撮影画角を変化させながら前記認証対象物を連続撮影する撮影制御部と、
前記撮影部により連続撮影されたそれぞれの画像において前記個人認証を行う際の指標となる認証ポイントを認識する認識部と、
前記認識部により認識された前記認証ポイントの軌跡を示す軌跡データを生成する軌跡生成部と、
前記軌跡生成部により生成された前記軌跡データを前記個人認証データとして登録する登録部と
を備えることを特徴とする電子機器。
発明の詳細な説明
【技術分野】
【0001】
本発明は、電子機器に関するものである。
続きを表示(約 2,000 文字)
【背景技術】
【0002】
従来、個人認証を行う場合に認証画面を表示部に表示する電子機器が知られている(例えば、特許文献1参照)。
【先行技術文献】
【特許文献】
【0003】
特開2010-152758
【発明の概要】
【発明が解決しようとする課題】
【0004】
ところで、この電子機器においては、撮影動作中に個人認証が行われた場合、撮影画面に代えて認証画面が表示部に表示されるため、操作者が撮影画面を見ながら行うフレーミングなどの撮影動作が阻害されるという問題が生じる。
【0005】
本発明の目的は、撮影動作を阻害することなく個人認証ができる電子機器を提供することである。
【課題を解決するための手段】
【0006】
本発明の電子機器は、個人認証の対象となる認証対象物を撮影する撮影部と、前記個人認証を行う際の基準となる個人認証データを登録する登録モードを設定する設定部と、前記登録モードが設定された場合に、前記撮影部の撮影画角を変化させながら前記認証対象物を連続撮影する撮影制御部と、前記撮影部により連続撮影されたそれぞれの画像において前記個人認証を行う際の指標となる認証ポイントを認識する認識部と、前記認識部により認識された前記認証ポイントの軌跡を示す軌跡データを生成する軌跡生成部と、前記軌跡生成部により生成された前記軌跡データを前記個人認証データとして登録する登録部と
を備える。
【発明の効果】
【0007】
本発明の電子機器によれば、撮影動作を阻害することなく個人認証ができる。
【図面の簡単な説明】
【0008】
第1の実施の形態に係るデジタルカメラの構成を示すブロック図である。
第1の実施の形態に係るデジタルカメラの処理を示すフローチャートである。
第2の実施の形態に係るデジタルカメラの処理を示すフローチャートである。
第1の実施の形態に係るデジタルカメラの表示画面を示す図である。
第1の実施の形態に係るデジタルカメラの表示画面を示す図である。
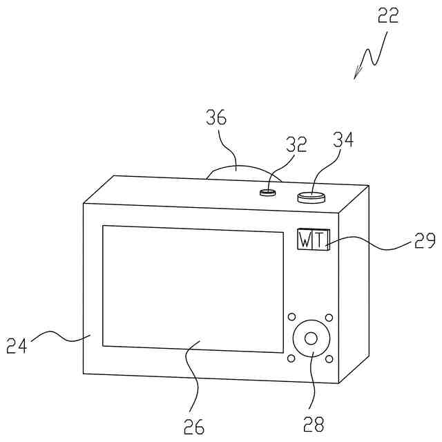
第3の実施の形態に係るデジタルカメラを背面から視た斜視図である。
第3の実施の形態に係るデジタルカメラの構成を示すブロック図である。
第3の実施の形態に係るデジタルカメラの登録処理を示すフローチャートである。
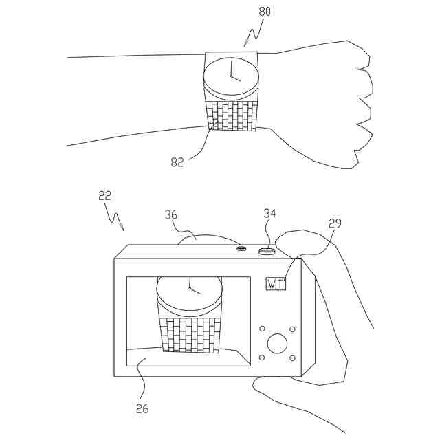
第3の実施の形態に係るデジタルカメラを用いて個人認証データを登録する状況を示す図である。
第3の実施の形態に係るデジタルカメラの登録モードで連続撮影された画像を示す図である。
第3の実施の形態に係るデジタルカメラの登録モードで取得された輪郭画像を示す図である。
第3の実施の形態に係るデジタルカメラの個人認証処理を示すフローチャートである。
第3の実施の形態に係るデジタルカメラを用いて個人認証モードで連続撮影された画像を示す図である。
第3の実施の形態に係るデジタルカメラによって個人認証モードで取得された輪郭画像を示す図である。
第3の実施の形態において、特定の撮影条件を設定した場合の輪郭画像を示す図である。
【発明を実施するための形態】
【0009】
以下、図面を参照して第1の実施の形態に係るデジタルカメラについて説明する。図1は、実施の形態に係るデジタルカメラの構成を示すブロック図である。デジタルカメラ2は、デジタルカメラ2の各部を統括的に制御するCPU4を備えている。CPU4には、操作部6、GPS衛星から受信した信号に基づいて現在位置を測位するGPS5、アップロードする画像の画像データをインターネットを介してwebサーバに送信する通信部8、スルー画像等を表示するLCD表示部10の表示制御を行う表示制御部12、LCD表示部10において指等の接触の位置を検出するタッチパネル14、被写体光を撮像して撮像信号を生成する撮像素子16、撮像素子16により撮像された画像の画像データを一時的に記憶する画像記憶部18、点または線によって描かれた図形パターンを個人認証データとして記憶する個人情報記憶部20、及び画像データを記憶するメモリカード21を装着するメモリカードスロット23が接続されている。
【0010】
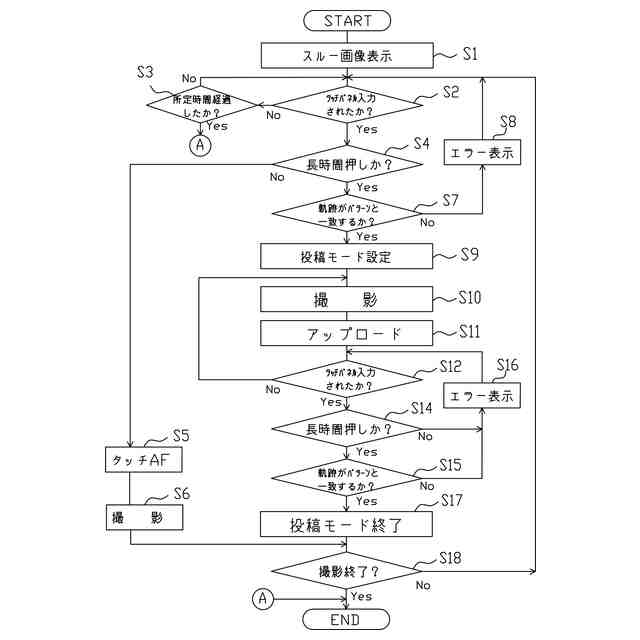
ここで、操作部6には、電源スイッチ(図示せず)、シャッタボタン(図示せず)等が含まれている。また、図形パターンには、後述する投稿モードの設定の可否を判定する際に用いられる第1図形パターン、及び投稿モードの終了の可否判定する際に用いられる第2図形パターンが存在する。なお、図形パターンは、予め操作者がLCD表示部10に所定の図形を指で描くことにより、個人情報記憶部20に登録したものである。
(【0011】以降は省略されています)
この特許をJ-PlatPat(特許庁公式サイト)で参照する
関連特許
株式会社ニコン
撮像素子
28日前
株式会社ニコン
撮像素子
今日
株式会社ニコン
電子機器
今日
株式会社ニコン
撮像装置
1か月前
株式会社ニコン
撮像装置
1か月前
株式会社ニコン
撮像素子
1か月前
株式会社ニコン
撮像素子
1か月前
株式会社ニコン
カメラボディ
1か月前
株式会社ニコン
カメラシステム
9日前
株式会社ニコン
光学系および光学機器
1か月前
株式会社ニコン
撮像素子及び撮像装置
今日
株式会社ニコン
撮像素子及び撮像装置
9日前
株式会社ニコン
撮像素子および撮像装置
28日前
株式会社ニコン
撮像素子および撮像装置
1か月前
株式会社ニコン
撮像素子および撮像装置
17日前
株式会社ニコン
眼科用光学系及び眼科装置
17日前
株式会社ニコン
眼科装置及び眼科撮影方法
1か月前
株式会社ニコン
撮像素子、および撮像装置
2日前
株式会社ニコン
撮像ユニットおよび撮像装置
9日前
株式会社ニコン
加工システム及び検査システム
1か月前
株式会社ニコン
レンズ保護部材、及び撮像装置
2日前
株式会社ニコン
リレー光学系、及びアタッチメント
17日前
株式会社ニコン
露光装置、及び電子デバイスの製造方法
2日前
株式会社ニコン
システム、情報処理装置、及びプログラム
1か月前
株式会社ニコン
画像処理方法、画像処理装置、及び画像処理プログラム
1か月前
株式会社ニコン
フォトマスク用基板の製造方法、フォトマスクブランクスの製造方法、フォトマスクの製造方法、フォトマスク用基板の再利用方法、フォトマスク用基板、フォトマスクブランクス、フォトマスク、石英ガラス基板の加工装置
1か月前
株式会社ニコン
フッ化バリウム焼結体、フッ化ランタンドープフッ化バリウム焼結体、フッ化バリウム粒子の製造方法、フッ化バリウム焼結体の製造方法、フッ化ランタンドープフッ化バリウム粒子の製造方法、フッ化ランタンドープフッ化バリウム焼結体の製造方法、光学素子、光学系、交換レンズおよび光学装置
1か月前
個人
詐欺保険
1か月前
個人
縁伊達ポイン
1か月前
個人
RFタグシート
1か月前
個人
5掛けポイント
28日前
個人
職業自動販売機
21日前
個人
ペルソナ認証方式
1か月前
個人
地球保全システム
2か月前
個人
QRコードの彩色
1か月前
個人
情報処理装置
1か月前
続きを見る
他の特許を見る