TOP
|
特許
|
意匠
|
商標
特許ウォッチ
Twitter
他の特許を見る
10個以上の画像は省略されています。
公開番号
2025172899
公報種別
公開特許公報(A)
公開日
2025-11-26
出願番号
2025145874,2021041298
出願日
2025-09-03,2021-03-15
発明の名称
撮像ユニットおよび撮像装置
出願人
株式会社ニコン
代理人
弁理士法人RYUKA国際特許事務所
主分類
H04N
25/70 20230101AFI20251118BHJP(電気通信技術)
要約
【課題】撮像装置の小型化・薄型化が可能な撮像ユニットを提供する。
【解決手段】撮像ユニットは、被写体を撮像する撮像チップと、第1主面および第2主面を有し、第1主面上に撮像チップが実装され、第2主面上に、外部の装置に接続されるための第1コネクタおよび第2コネクタが実装された実装基板とを備える。撮像チップは、画像を伝送するための伝送回路を含んでもよく、第1コネクタは、第2主面上において、第1主面上の伝送回路に対向する位置に配置され、伝送回路から画像信号を伝送されてもよい。実装基板は、第2主面上に、撮像チップの電源用のバイパスコンデンサ群が環状に実装されてもよい。第1コネクタは、環状のバイパスコンデンサ群よりも内側に配置されてもよい。
【選択図】図4
特許請求の範囲
【請求項1】
光を電荷に変換する光電変換素子が複数配置される撮像領域を有する撮像チップと、
第1辺と、前記第1辺よりも短い第2辺とを少なくとも有する多角形状の基板であって、前記撮像チップが配置される第1面と、前記第1面とは反対側の面であって、前記第1辺と平行する第1方向よりも前記第2辺と平行する第2方向に延伸した形状を有する第1コネクタと、前記第1方向よりも前記第2方向に延伸した形状を有する第2コネクタとが配置される第2面とを有する実装基板と
を備える撮像ユニット。
続きを表示(約 870 文字)
【請求項2】
請求項1に記載の撮像ユニットにおいて、
前記第1コネクタと前記第2コネクタとは、前記第1方向において互いに離れて配置される、
撮像ユニット。
【請求項3】
請求項2に記載の撮像ユニットにおいて、
前記実装基板の前記第2面は、抵抗、レギュレータおよびトランジスタのうち少なくとも1つを含む電子部品が配置される、
撮像ユニット。
【請求項4】
請求項3に記載の撮像ユニットにおいて、
前記電子部品は、前記第1方向において前記第1コネクタと前記第2コネクタとの間に配置される、
撮像ユニット。
【請求項5】
請求項1から請求項4のいずれか一項に記載の撮像ユニットにおいて、
前記第1コネクタは、第1フレキシブル基板と電気的に接続され、
前記第2コネクタは、第2フレキシブル基板と電気的に接続される、
撮像ユニット。
【請求項6】
請求項1から請求項5のいずれか一項に記載の撮像ユニットにおいて、
前記実装基板の前記第1面は、前記撮像チップを囲むように配置されるフレームが配置される、
撮像ユニット。
【請求項7】
請求項6に記載の撮像ユニットにおいて、
前記フレームは、他の構造体を取り付けるための取付部を有する、
撮像ユニット。
【請求項8】
請求項6または請求項7に記載の撮像ユニットにおいて、
前記フレームは、樹脂により形成される、
撮像ユニット。
【請求項9】
請求項6または請求項7に記載の撮像ユニットにおいて、
前記フレームは、金属により形成される、
撮像ユニット。
【請求項10】
請求項6または請求項7に記載の撮像ユニットにおいて、
前記フレームは、樹脂と金属とにより形成される、
撮像ユニット。
(【請求項11】以降は省略されています)
発明の詳細な説明
【技術分野】
【0001】
本発明は、撮像ユニットおよび撮像装置に関する。
続きを表示(約 1,500 文字)
【背景技術】
【0002】
撮像素子と撮像素子が搭載されるパッケージを備える撮像装置が知られている。従来より撮像装置の小型化・薄型化が求められている。
[先行技術文献]
[特許文献]
[特許文献1] 特開2010-103456
【発明の概要】
【0003】
本発明の第1の態様においては、被写体を撮像する撮像チップと、第1主面および第2主面を有し、第1主面上に撮像チップが実装され、第2主面上に、外部の装置に接続されるための第1コネクタおよび第2コネクタが実装された実装基板とを備える撮像ユニットを提供する。
【0004】
なお、上記の発明の概要は、本発明の必要な特徴の全てを列挙したものではない。また、これらの特徴群のサブコンビネーションもまた、発明となりうる。
【図面の簡単な説明】
【0005】
一実施形態による、撮像装置の一例であるカメラ10の模式断面図である。
一実施形態による、撮像ユニット40を模式的に示す上面図である。
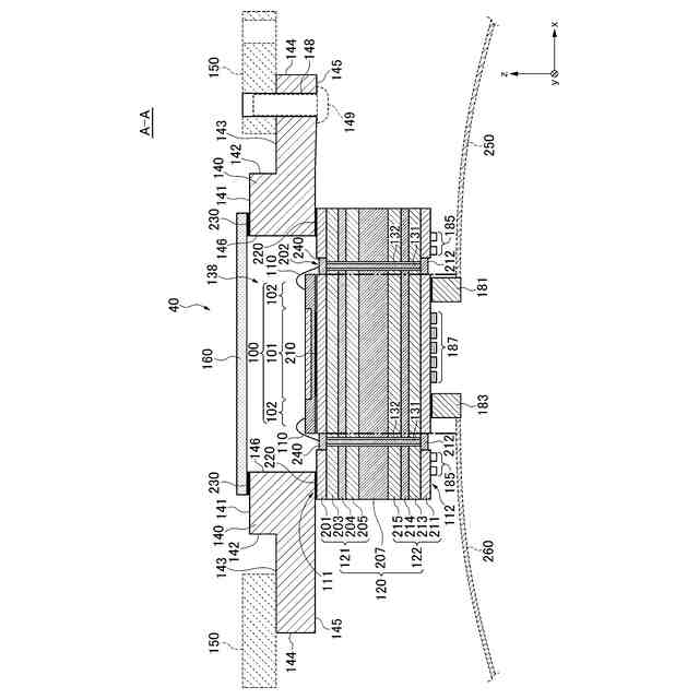
図2のA-A断面を模式的に示す断面図である。
一実施形態による、撮像ユニット40を模式的に示す下面図である。
一実施形態による、撮像ユニット40が第1フレキシブル基板250および第2フレキシブル基板260を介してASIC52および電源ユニット53に接続された状態を模式的に示す下面図である。
図5に示す領域(A)の模式的な拡大図である。
一実施形態による、撮像ユニット41が第1フレキシブル基板250および第2フレキシブル基板260を介してASIC52および電源ユニット53に接続された状態を模式的に示す下面図である。
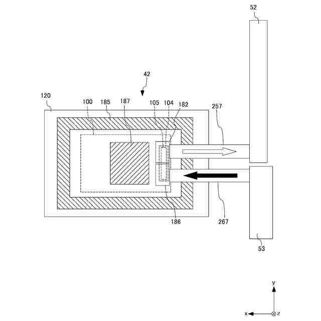
一実施形態による、撮像ユニット42が第1フレキシブル基板257および第2フレキシブル基板267を介してASIC52および電源ユニット53に接続された状態を模式的に示す下面図である。
一実施形態による、第1フレキシブル基板270の一部を模式的に示す側面図である。
【発明を実施するための形態】
【0006】
以下、発明の実施の形態を通じて本発明を説明するが、以下の実施形態は特許請求の範囲にかかる発明を限定するものではない。また、実施形態の中で説明されている特徴の組み合わせの全てが発明の解決手段に必須であるとは限らない。
【0007】
図1は、一実施形態による、撮像装置の一例であるカメラ10の模式断面図である。カメラ10は、一例として、デジタルコンパクトカメラである。カメラ10は、レンズユニット20およびカメラボディ30を備える。
【0008】
レンズユニット20は、その鏡筒内に光学系を備え、当該光学系により光軸22が規定されている。レンズユニット20は、カメラボディ30に取付けられている。レンズユニット20は、カメラボディ30内に収容されて、使用時に図のように外方へ進出するものであってもよい。
【0009】
レンズユニット20は、入射する被写体光束をカメラボディ30の筐体31内へ導く。なお、図1に示すレンズユニット20は、単に説明を明確にするために、2枚のレンズと絞りとを含んでいるが、何ら当該構成に限定するものではない。
【0010】
カメラボディ30は、撮像ユニット40と、基板ユニット60と、表示部88とを有する。カメラボディ30は更に、撮像ユニット40と基板ユニット60とを接続する第1フレキシブル基板250および第2フレキシブル基板260を有する。
(【0011】以降は省略されています)
この特許をJ-PlatPat(特許庁公式サイト)で参照する
関連特許
株式会社ニコン
カメラシステム
2日前
株式会社ニコン
撮像素子及び撮像装置
2日前
株式会社ニコン
撮像素子および撮像装置
10日前
株式会社ニコン
撮像ユニットおよび撮像装置
2日前
個人
イヤーピース
21日前
個人
イヤーマフ
1か月前
個人
監視カメラシステム
1か月前
個人
スイッチシステム
29日前
キーコム株式会社
光伝送線路
1か月前
WHISMR合同会社
収音装置
2か月前
サクサ株式会社
中継装置
1か月前
サクサ株式会社
中継装置
1か月前
個人
スキャン式車載用撮像装置
1か月前
キヤノン株式会社
撮像装置
3か月前
キヤノン株式会社
撮像装置
今日
アイホン株式会社
電気機器
2か月前
株式会社リコー
画像形成装置
3か月前
株式会社リコー
画像形成装置
2か月前
キヤノン電子株式会社
画像読取装置
2か月前
ヤマハ株式会社
放音制御装置
29日前
キヤノン電子株式会社
画像読取装置
29日前
個人
映像表示装置、及びARグラス
1か月前
個人
ワイヤレスイヤホン対応耳掛け
2か月前
キヤノン電子株式会社
画像読取装置
21日前
キヤノン電子株式会社
画像読取装置
1か月前
サクサ株式会社
無線通信装置
1か月前
サクサ株式会社
無線通信装置
1か月前
サクサ株式会社
無線システム
1か月前
株式会社リコー
画像形成装置
1か月前
日本電気株式会社
海底分岐装置
1か月前
キヤノン株式会社
画像処理装置
24日前
キヤノン株式会社
撮像システム
2か月前
キヤノン電子株式会社
シート搬送装置
21日前
キヤノン株式会社
情報処理装置
8日前
個人
発信機及び発信方法
1か月前
日本セラミック株式会社
超音波送受信器
8日前
続きを見る
他の特許を見る