TOP
|
特許
|
意匠
|
商標
特許ウォッチ
Twitter
他の特許を見る
10個以上の画像は省略されています。
公開番号
2025172928
公報種別
公開特許公報(A)
公開日
2025-11-26
出願番号
2025147488,2024125897
出願日
2025-09-05,2018-07-20
発明の名称
カメラシステム
出願人
株式会社ニコン
代理人
個人
,
個人
,
個人
主分類
G03B
17/14 20210101AFI20251118BHJP(写真;映画;光波以外の波を使用する類似技術;電子写真;ホログラフイ)
要約
【課題】カメラアクセサリとして、被写体像を結像可能なマスターレンズと、マスターレンズとカメラボディとの間に装着可能な中間アクセサリと、がある。従来技術では、カメラボディからみてマスターレンズと中間アクセサリとを区別するために、マスターレンズと中間アクセサリとで端子数を変える必要があった。
【解決手段】少なくとも1つのアクセサリと、前記アクセサリと通信可能なカメラボディとを有するカメラシステムであって、ボディ側マウントを備えるカメラボディと、前記ボディ側マウントに着脱可能なアクセサリ側マウントと、前記カメラボディから送信される指示信号を受信する受信部と、を備えるアクセサリと、を備え、前記指示信号には、識別情報と、前記カメラボディからの指示と、が含まれ、前記識別情報は、前記ボディ側マウントに装着されて前記カメラボディと通信可能なアクセサリを識別する情報であるカメラシステムである。
【選択図】図2
特許請求の範囲
【請求項1】
少なくとも1つのアクセサリと、前記アクセサリと通信可能なカメラボディとを有するカメラシステムであって、
ボディ側マウントを備えるカメラボディと、
前記ボディ側マウントに着脱可能なアクセサリ側マウントと、前記カメラボディから送信される指示信号を受信する受信部と、を備えるアクセサリと、を備え、
前記指示信号には、識別情報と、前記カメラボディからの指示と、が含まれ、
前記識別情報は、前記ボディ側マウントに装着されて前記カメラボディと通信可能なアクセサリを識別する情報であるカメラシステム。
発明の詳細な説明
【技術分野】
【0001】
本発明は、カメラシステムに関する。
続きを表示(約 2,500 文字)
【背景技術】
【0002】
カメラアクセサリとして、被写体像を結像可能なマスターレンズと、マスターレンズとカメラボディとの間に装着可能な中間アクセサリと、がある(特許文献1参照)。従来技術では、カメラボディからみてマスターレンズと中間アクセサリとを区別するために、マスターレンズと中間アクセサリとで端子数を変える必要があった。
【先行技術文献】
【特許文献】
【0003】
特開昭63-38926号公報
【発明の概要】
【0004】
少なくとも1つのアクセサリと、前記アクセサリと通信可能なカメラボディとを有するカメラシステムであって、ボディ側マウントを備えるカメラボディと、前記ボディ側マウントに着脱可能なアクセサリ側マウントと、前記カメラボディから送信される指示信号を受信する受信部と、を備えるアクセサリと、を備え、前記指示信号には、識別情報と、前記カメラボディからの指示と、が含まれ、前記識別情報は、前記ボディ側マウントに装着されて前記カメラボディと通信可能なアクセサリを識別する情報であるカメラシステムである。
【図面の簡単な説明】
【0005】
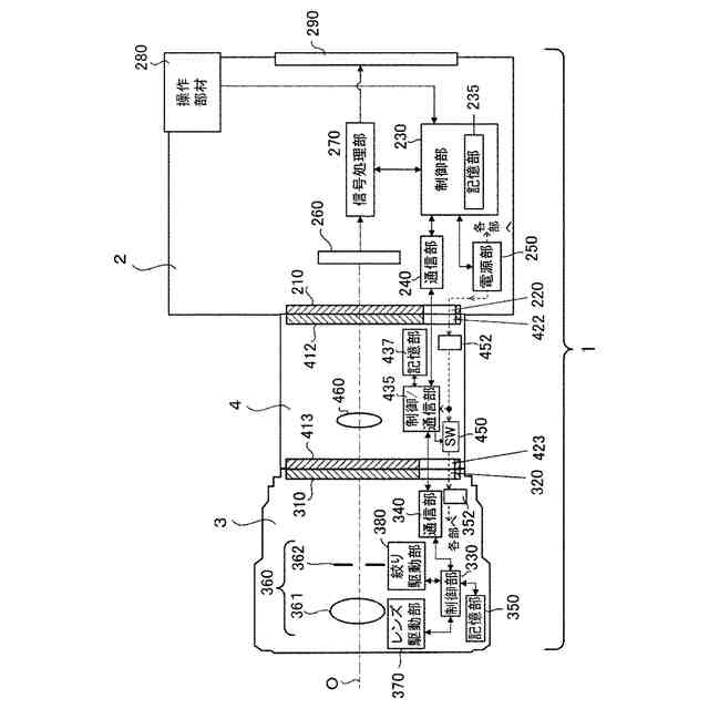
カメラシステムを例示する斜視図である。
テレコンバータを含むカメラシステムの要部構成を説明するブロック図である。
カメラボディ、テレコンバータおよび交換レンズ間の電気的接続を模式的に示す回路図である。
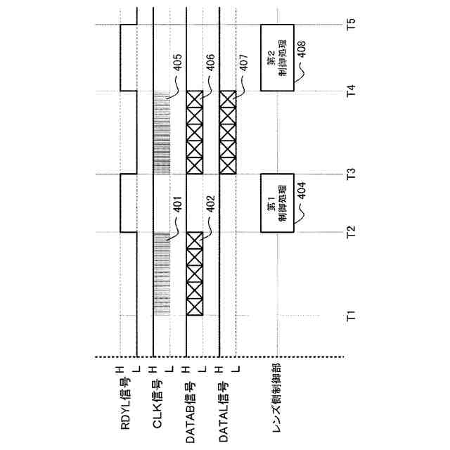
ボディ側通信部とレンズ側通信部との間で行われるコマンドデータ通信のタイミングを例示する図である。
ボディ側通信部とレンズ側通信部との間で行われるホットライン通信のタイミングを例示する図である。
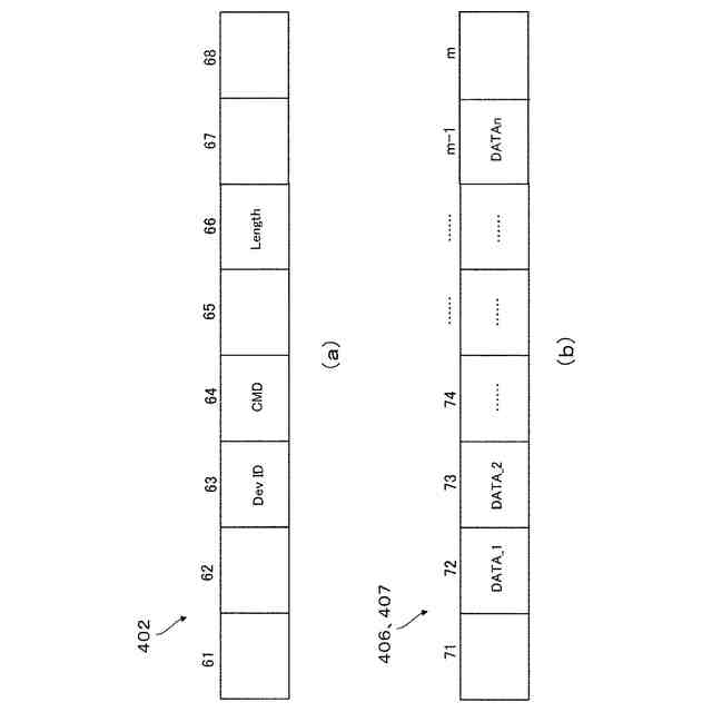
図6(a)はコマンドパケットの構造を例示する図、図6(b)はデータパケットの構造を例示する図である。
機器ID割り振りコマンドデータ通信と通常コマンドデータ通信とにおける処理の流れを説明する図である。
ボディ側制御部、制御/通信部、レンズ側制御部において機器ID割り振りコマンドデータ通信時に実行される処理の流れを説明するフローチャートである。
ボディ側制御部、制御/通信部、レンズ側制御部において通常コマンドデータ通信時に実行される通常コマンドデータ通信の流れを説明するフローチャートである。
【発明を実施するための形態】
【0006】
以下、図面を参照して発明を実施するための形態について説明する。
図1は、発明の一実施の形態によるカメラボディ2にカメラアクセサリが装着される前のカメラシステム1の斜視図である。図2は、カメラシステム1の要部構成を説明するブロック図である。
本実施形態のカメラアクセサリは、マスターレンズとしての交換レンズ3と、中間アクセサリとしてのテレコンバータ4と、を含む。本実施形態のマスターレンズとは、カメラボディ2に装着されて被写体像を結像可能な機器をいう。また、本実施形態のマスターレンズは、その被写体側に他のカメラアクセサリが通信可能な状態で装着されない機器をいう。また、本実施形態の中間アクセサリとは、その被写体側に他の機器が通信可能な状態で装着され得る機器であり、非マスターレンズともいう。非マスターレンズは、マスターレンズと組み合わせて用いるものである。
カメラボディ2とカメラアクセサリの結合とカメラアクセサリ同士の結合は、ボディ側マウントとレンズ側マウントのバヨネット構造により行われる。従って、カメラボディ2のボディ側マウント210と、テレコンバータ4のレンズ側に配置された前側マウント413とは、略同様の形状であり、交換レンズ3のレンズ側マウント310とテレコンバータ4のボディ側に配置された後側マウント412とは、略同様の形状である。従って、交換レンズ3は、テレコンバータ4を介さずにカメラボディ2に直接装着しても使用可能であり、テレコンバータ4を介してカメラボディ2に間接的に装着しても使用可能である。カメラボディ2とカメラアクセサリ、または、カメラアクセサリ同士が結合すると、各マウントに設けられた端子同士が物理的に接触し、電気的に接続される。
【0007】
<交換レンズ>
交換レンズ3は、レンズ側マウント310、レンズ側制御部330、レンズ側通信部340、レンズ側記憶部350、レンズ側電源回路352、撮像光学系360、レンズ駆動部370、および絞り駆動部380を有する。
【0008】
円環状のレンズ側マウント310には、レンズ側端子保持部320が設けられる。レンズ側端子保持部320は、光軸を中心とした円弧状に複数のレンズ側端子を配置する。複数のレンズ側端子には、例えば、交換レンズ3がカメラボディ2に装着されたことを示す信号をカメラボディ2に伝える装着検出端子、交換レンズ3とカメラボディ2との間の通信で使用する通信用端子、カメラボディ2から交換レンズ3へ電力が供給される給電用端子、および接地用端子が含まれる。
【0009】
各端子が伝える信号や電力は、交換レンズ3がテレコンバータ4を介してカメラボディ2に装着された状態では、交換レンズ3からカメラボディ2へテレコンバータ4を介して伝えられる。また、交換レンズ3がカメラボディ2に直接装着された状態では、交換レンズ3からカメラボディ2へ直接伝えられる。
【0010】
レンズ側制御部330は、マイクロコンピュータおよびその周辺回路等から構成される。レンズ側制御部330は、レンズ側記憶部350に記憶されている制御プログラムを実行して交換レンズ3の各部を制御する。また、レンズ側制御部330は、カメラボディ2からの要求により、レンズ側記憶部350に記憶されているデータを読み出し、レンズ側通信部340からテレコンバータ4を介して、または直接、カメラボディ2へ送信する。レンズ側制御部330は、レンズ側通信部340、レンズ側記憶部350、レンズ駆動部370および絞り駆動部380と接続される。
(【0011】以降は省略されています)
この特許をJ-PlatPat(特許庁公式サイト)で参照する
関連特許
個人
表示装置
1か月前
個人
雨用レンズカバー
1か月前
キヤノン株式会社
撮像装置
今日
キヤノン株式会社
撮像装置
1か月前
キヤノン株式会社
撮像装置
1か月前
キヤノン株式会社
撮像装置
1か月前
日本精機株式会社
車両用投射装置
1か月前
キヤノン株式会社
撮像装置
2か月前
株式会社リコー
画像形成装置
23日前
株式会社リコー
画像形成装置
1か月前
株式会社リコー
画像形成装置
2か月前
株式会社リコー
画像形成装置
29日前
株式会社リコー
画像形成装置
14日前
株式会社リコー
画像形成装置
29日前
キヤノン株式会社
画像形成装置
8日前
株式会社オプトル
プロジェクタ
2か月前
キヤノン株式会社
画像形成装置
1か月前
キヤノン株式会社
トナー
1か月前
キヤノン株式会社
トナー
1か月前
キヤノン株式会社
画像形成装置
1か月前
キヤノン株式会社
トナー
1か月前
アイホン株式会社
カメラシステム
1か月前
スタンレー電気株式会社
照明装置
1か月前
キヤノン株式会社
現像装置
1か月前
沖電気工業株式会社
画像形成装置
29日前
キヤノン株式会社
レンズキャップ
1か月前
レーザーテック株式会社
光源装置
16日前
沖電気工業株式会社
画像形成装置
1か月前
ブラザー工業株式会社
画像形成装置
1か月前
ブラザー工業株式会社
画像形成装置
1か月前
古野電気株式会社
装置
1か月前
株式会社リコー
画像形成装置
2か月前
株式会社電気印刷研究所
静電印刷用積層体
1か月前
キヤノン株式会社
画像形成装置
3日前
キヤノン株式会社
画像形成装置
23日前
キヤノン株式会社
画像形成装置
3日前
続きを見る
他の特許を見る