TOP
|
特許
|
意匠
|
商標
特許ウォッチ
Twitter
他の特許を見る
10個以上の画像は省略されています。
公開番号
2025172272
公報種別
公開特許公報(A)
公開日
2025-11-25
出願番号
2024077637
出願日
2024-05-12
発明の名称
画像形成装置
出願人
キヤノン株式会社
代理人
個人
,
個人
主分類
G03G
15/02 20060101AFI20251117BHJP(写真;映画;光波以外の波を使用する類似技術;電子写真;ホログラフイ)
要約
【課題】清掃部材と帯電部材との摩擦帯電による不具合の発生を抑制する。
【解決手段】画像形成装置100は、帯電部材2の表面のある点が、清掃部材8と接触してから、帯電部材2の回転により次に清掃部材8と接触するまでの時間を回転時間A[sec]とし、帯電部材2の時定数τを、次式、τ=1/2πfp[sec](式中、fpは、帯電部材2のインピーダンス測定で得られる虚数項の絶対値が極大値を示す周波数)で表される値とし、帯電部材2の時定数τは帯電部材2の表面の電荷が減衰する指標であると定義したとき、上記回転時間Aと上記時定数τとは、次式、A/τ≧60を満たし、上記時定数τは、1.0×10
-5
[sec]以上、1.2×10
-3
[sec]以下である構成とされる。
【選択図】図1
特許請求の範囲
【請求項1】
回転可能な感光体と、
前記感光体の表面に接触し、所定の方向に回転しながら前記感光体の表面を帯電させる帯電部材と、
前記帯電部材に接触し、前記帯電部材の表面を清掃する清掃部材と、
を有し、
前記帯電部材により前記感光体の表面が帯電させられる際に、前記帯電部材の表面のある点が、前記清掃部材と接触してから、前記帯電部材の回転により次に前記清掃部材と接触するまでの時間を回転時間A[sec]とし、
前記帯電部材の時定数τを、次式、
τ=1/2πfp[sec]
(式中、fpは、前記帯電部材のインピーダンス測定で得られる虚数項の絶対値が極大値を示す周波数)
で表される値とし、前記帯電部材の時定数τは前記帯電部材の表面の電荷が減衰する指標であると定義したとき、
前記回転時間Aと前記時定数τとは、次式、
A/τ≧60
を満たし、
前記時定数τは、1.0×10
-5
[sec]以上、1.2×10
-3
[sec]以下であることを特徴とする画像形成装置。
続きを表示(約 1,100 文字)
【請求項2】
前記時定数τは、1.0×10
-5
[sec]以上、1.0×10
-4
[sec]以下であることを特徴とする請求項1に記載の画像形成装置。
【請求項3】
前記帯電部材は、前記感光体の回転に伴って従動回転するように構成されていることを特徴とする請求項1に記載の画像形成装置。
【請求項4】
前記清掃部材は、回転可能であることを特徴とする請求項1に記載の画像形成装置。
【請求項5】
前記清掃部材は、回転軸と、前記回転軸の周りに円筒状に形成された弾性層と、を有するローラであることを特徴とする請求項4に記載の画像形成装置。
【請求項6】
前記清掃部材は、前記帯電部材の表面に接触して前記帯電部材の表面を清掃する清掃部と、前記清掃部よりも径が小さく前記帯電部材の表面に非接触の非清掃部と、を備え、前記帯電部材の回転軸線方向における前記帯電部材の表面のある点に対して前記清掃部と前記非清掃部とが交互に対向するように構成されていることを特徴とする請求項4に記載の画像形成装置。
【請求項7】
前記清掃部材は、回転軸と、前記回転軸の周りにらせん状に形成された弾性層と、を有するローラであることを特徴とする請求項4に記載の画像形成装置。
【請求項8】
前記清掃部材は、前記帯電部材の回転に伴って従動回転するように構成されていることを特徴とする請求項4に記載の画像形成装置。
【請求項9】
前記帯電部材の回転軸線と略直交する断面において、前記感光体の回転中心と前記帯電部材の回転中心とを通る直線を直線L1、前記清掃部材の回転中心と前記帯電部材の回転中心とを通る直線を直線L2としたとき、前記清掃部材は、前記帯電部材の回転中心を基準として前記直線L2が前記直線L1よりも前記帯電部材の回転方向において上流側かつ前記帯電部材と前記感光体との接触位置よりも下流側に位置するように配置されていることを特徴とする請求項1に記載の画像形成装置。
【請求項10】
前記帯電部材を回転可能に支持する移動可能な第1の軸受部材と、
前記清掃部材を回転可能に支持する第2の軸受部材であって、前記第1の軸受部材により移動可能に支持された第2の軸受部材と、
前記第1の軸受部材を前記像担持体に向けて付勢する第1の付勢部材と、
前記第2の軸受部材を前記帯電部材に向けて付勢する第2の付勢部材であって、前記第1の軸受部材により支持された第2の付勢部材と、
を有することを特徴とする請求項1に記載の画像形成装置。
(【請求項11】以降は省略されています)
発明の詳細な説明
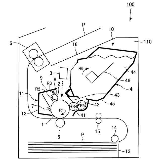
【技術分野】
【0001】
本発明は、電子写真方式を用いたプリンタ、複写機、ファクシミリ装置などの画像形成装置に関するものである。
続きを表示(約 2,000 文字)
【背景技術】
【0002】
従来、電子写真方式を用いた画像形成装置として、感光体及び感光体に作用するプロセス手段を一体的にカートリッジ化して、このカートリッジを画像形成装置の装置本体に着脱可能とするプロセスカートリッジ方式を採用したものがある。感光体に作用するプロセス手段としては、感光体を帯電処理する帯電部材、感光体に残留したトナーを除去するクリーニング部材、感光体に形成された静電潜像をトナーで現像する現像ユニットなどがある。これらのプロセス手段を感光体とともに一体化して1つのカートリッジ(プロセスカートリッジ)とし、ユーザーが一度に交換できるようにすることで、ユーザビリティの向上が図られている。
【0003】
また、帯電部材が感光体に接触して帯電処理を行う接触帯電方式を採用したカートリッジがある。感光体としては感光ドラムが用いられ、帯電部材としては帯電ローラが用いられることが多い。接触帯電方式を採用したカートリッジの場合、カートリッジの長寿命化に伴い、帯電ローラの表面にトナーやトナーの表面に添加される微粒子(以下、「外添剤」という。)が蓄積されてしまう可能性がある。このように、カートリッジを使用していくうちに、帯電ローラの表面にトナーや外添剤が蓄積されて帯電ローラが汚れた場合、帯電不良が引き起こされ、例えばハーフトーン画像の濃度ムラとして顕在化してしまうことがある。この帯電不良は、一般にカートリッジの寿命の後半で発生する課題であり、カートリッジが長寿命であるほど顕著になる。
【0004】
そこで、清掃部材を帯電ローラに接触するように配置することで、帯電ローラの表面に付着したトナーや外添剤(以下、「付着物」ともいう。)を除去する構成が用いられることがある。
【0005】
特許文献1には、帯電ローラにクリーニングローラを当接させた構成であって、クリーニングローラが、帯電ローラと接触する接触部と接触しない非接触部とを有している構成が記載されている。そして、特許文献1に記載の構成では、画像形成前や画像形成後に、クリーニングローラとの摩擦による帯電ローラの表面の帯電を打ち消す特性の電圧を帯電ローラに印加している。これは、次のような課題に対する対策のためであるものとされている。つまり、接触部においてクリーニングローラと帯電ローラとの摩擦により帯電ローラが帯電する一方で、非接触部では帯電ローラの帯電が起こらないことで帯電ローラ上に電位差が生じ、接触部と非接触部との電位差によって画像上に濃度ムラが発生する。この課題の対策のためである。
【先行技術文献】
【特許文献】
【0006】
特開2011-145419号公報
【発明の概要】
【発明が解決しようとする課題】
【0007】
クリーニングローラ及び帯電ローラは、両者ともに表面(外周面、外表面)が樹脂で形成されている場合が多く、両者の摺擦により発生する摩擦帯電が課題となる場合がある。摩擦帯電により、帯電ローラとクリーニングローラとは互いに逆極性の電荷を帯びる。これにより、帯電ローラの表面電位の絶対値が低下し、帯電ローラから感光ドラムへの放電が変動し、「帯電横スジ画像」が発生することがある。帯電横スジ画像は、帯電ローラから感光ドラムへの放電ムラにより発生する、感光ドラムの表面の移動方向と交差(典型的には略直交)する方向に延びるスジ状の濃度ムラである。
【0008】
帯電ローラからの放電は、帯電ローラと感光ドラムとが当接している箇所の近傍の微小ギャップで発生する。通常、帯電ローラと感光ドラムとの当接部の上流側の微小ギャップにおいて、放電が完結する。しかし、上記のように、クリーニングローラの摩擦帯電によって、帯電ローラの表面電位の絶対値が低下するような場合、帯電ローラと感光ドラムとの当接部の上流側の放電だけでは、放電が完結せず、下流側の微小ギャップで不安定な放電が断続的に発生する場合がある。この断続的な放電によって生じる画像が「帯電横スジ画像」である。プロセスカートリッジや画像形成装置が長寿命化すると、帯電ローラがクリーニングローラと当接して回転する時間が長いため、帯電横スジ画像がより顕著に発生する場合がある。
【0009】
特許文献1に記載の構成では、画像形成前や画像形成後に、帯電ローラに画像形成時とは逆極性の電圧を印加する必要がある。そのため、連続印刷時には電荷を打ち消す動作を入れることが難しい。
【0010】
また、特許文献1に記載の構成は、クリーニングローラに接触部と非接触部とがある場合の初期駆動時の課題に対する対策のための構成である。そのため、長時間の連続駆動時における、帯電ローラの摩擦帯電による電位変化に起因する画像不良を抑制することはできない。
(【0011】以降は省略されています)
特許ウォッチbot のツイートを見る
この特許をJ-PlatPat(特許庁公式サイト)で参照する
関連特許
キヤノン株式会社
容器
1か月前
キヤノン株式会社
容器
26日前
キヤノン株式会社
トナー
1か月前
キヤノン株式会社
トナー
18日前
キヤノン株式会社
表示装置
26日前
キヤノン株式会社
撮像装置
1か月前
キヤノン株式会社
撮像装置
26日前
キヤノン株式会社
定着装置
5日前
キヤノン株式会社
撮像装置
18日前
キヤノン株式会社
撮像装置
1か月前
キヤノン株式会社
記録装置
1か月前
キヤノン株式会社
撮像装置
1か月前
キヤノン株式会社
記録装置
18日前
キヤノン株式会社
雲台装置
18日前
キヤノン株式会社
撮像装置
5日前
キヤノン株式会社
撮像装置
5日前
キヤノン株式会社
記録装置
18日前
キヤノン株式会社
電子機器
18日前
キヤノン株式会社
定着装置
11日前
キヤノン株式会社
電子機器
18日前
キヤノン株式会社
電子機器
13日前
キヤノン株式会社
現像装置
1か月前
キヤノン株式会社
定着装置
11日前
キヤノン株式会社
撮像装置
13日前
キヤノン株式会社
定着装置
11日前
キヤノン株式会社
定着装置
5日前
キヤノン株式会社
撮像装置
19日前
キヤノン株式会社
測距装置
20日前
キヤノン株式会社
記録装置
11日前
キヤノン株式会社
液体収容体
21日前
キヤノン株式会社
露光ヘッド
11日前
キヤノン株式会社
液体収容体
20日前
キヤノン株式会社
画像形成装置
19日前
キヤノン株式会社
情報処理装置
19日前
キヤノン株式会社
画像形成装置
19日前
キヤノン株式会社
画像形成装置
6日前
続きを見る
他の特許を見る