TOP
|
特許
|
意匠
|
商標
特許ウォッチ
Twitter
他の特許を見る
10個以上の画像は省略されています。
公開番号
2025178444
公報種別
公開特許公報(A)
公開日
2025-12-05
出願番号
2025165411,2024097078
出願日
2025-10-01,2016-05-09
発明の名称
撮像素子及び撮像装置
出願人
株式会社ニコン
代理人
個人
,
個人
,
個人
主分類
H04N
25/44 20230101AFI20251128BHJP(電気通信技術)
要約
【課題】撮像領域のうちの所望の複数の部分領域を高速に読み出す。
【解決手段】固体撮像素子は、複数の光電変換部PDと、前記光電変換部PDで光電変換された電荷による信号が出力される信号線27と、前記光電変換部PDと前記信号線27の間に設けられ、選択された前記光電変換部PDの前記信号を出力する第1選択部SELと、前記第1選択部SELと前記信号線27の間に設けられ、前記第1選択部SELから出力された前記光電変換部PDの前記信号を前記信号線27に出力する第2選択部ASELと、を有する。
【選択図】図4
特許請求の範囲
【請求項1】
光を電荷に変換する光電変換部と、前記光電変換部で変換された電荷をフローティングディフュージョンに転送する転送部と、前記フローティングディフュージョンと電気的に接続されるゲートを含み、信号を出力する第1トランジスタと、前記第1トランジスタと電気的に接続され、前記信号を出力する第2トランジスタとを有する複数の画素と、
前記転送部を制御するための制御信号が出力される制御線であって、前記複数の画素のうち第1画素の前記転送部と、前記複数の画素のうち、第1方向において前記第1画素とともに配置される第2画素の前記転送部と、前記複数の画素のうち、前記第1方向において前記第1画素とともに並んで配置される第3画素の前記転送部とに電気的に接続される第1転送制御線と、
前記転送部を制御するための制御信号が出力される制御線であって、前記複数の画素のうち、前記第1方向に交差する第2方向において前記第1画素とともに配置される第4画素の前記転送部と、前記複数の画素のうち、前記第1方向において前記第4画素とともに配置される第5画素の前記転送部と、前記複数の画素のうち、前記第1方向において前記第4画素とともに並んで配置される第6画素の前記転送部とに電気的に接続される第2転送制御線と、
前記第2トランジスタを制御するための制御信号が出力される制御線であって、前記第1画素の前記第2トランジスタと、前記第2画素の前記第2トランジスタと、前記第4画素の前記第2トランジスタとに電気的に接続される第1制御線と、
前記第2トランジスタを制御するための制御信号が出力される制御線であって、前記第3画素の前記第2トランジスタと、前記第6画素の前記第2トランジスタとに電気的に接続される第2制御線と、を備える撮像素子。
発明の詳細な説明
【技術分野】
【0001】
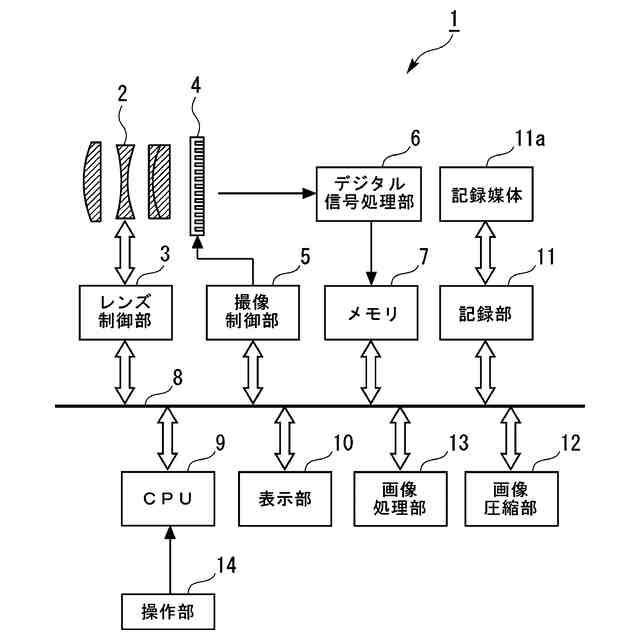
本発明は、固体撮像素子及びこれを用いた撮像装置に関するものである。
続きを表示(約 1,400 文字)
【背景技術】
【0002】
撮像装置において任意の領域を選択する領域選択技術が知られている。領域選択技術では、撮像領域のうちの複数の領域を読み出すことはできなかった。
【先行技術文献】
【特許文献】
【0003】
特開平9-46600号公報
【発明の概要】
【課題を解決するための手段】
【0004】
第1の態様による固体撮像素子は、複数の光電変換部と、前記光電変換部で光電変換された電荷による信号が出力される信号線と、前記光電変換部と前記信号線の間に設けられ、選択された前記光電変換部の前記信号を出力する第1選択部と、前記第1選択部と前記信号線の間に設けられ、前記第1選択部から出力された前記光電変換部の前記信号を前記信号線に出力する第2選択部と、を有するものである。
【0005】
第2の態様による固体撮像素子は、前記第1の態様において、前記複数の光電変換部が配置されている撮像領域のうちの部分領域の前記第1選択部又は前記第2選択部を選択する領域設定部を備えるものである。
【0006】
第3の態様による固体撮像素子は、前記第2の態様において、前記撮像領域は予め定められた複数の領域に分けられ、前記領域設定部は、前記予め定められた複数の領域の各々毎に、当該領域の前記第1選択部又は前記第2選択部を一括して選択又は非選択するための選択制御信号を供給し、前記部分領域は、前記予め定められた複数の領域の1つ以上からなるものである。
【0007】
第4の態様による固体撮像素子は、前記第2の態様において、前記領域設定部は、前記第1選択部又は前記第2選択部を選択又は非選択するための選択制御信号を保持する保持部と、書き込み制御信号に応じて前記選択制御信号を前記保持部に書き込む書込み部と、前記書込み部に前記書き込み制御信号を供給する書き込み制御部とを有するものである。
【0008】
第5の態様による固体撮像素子は、前記第2乃至第4のいずれかの態様において、前記部分領域が複数あり、前記複数の部分領域の各行の前記第2選択部又は前記第1選択部を選択しつつ、前記第2選択部又は前記第1選択部が選択された行に対して読み出し制御を行う制御部を備えるものである。
【0009】
第6の態様による固体撮像素子は、複数の光電変換部と、前記光電変換部で光電変換された電荷による信号が出力される信号線と、前記光電変換部と前記信号線の間に設けられ、選択された前記光電変換部の前記信号を出力する選択部と、前記光電変換部と前記信号線の間に前記選択部と直列に設けられ、前記光電変換部の前記信号を出力する増幅部と、前記増幅部の電源電圧として、前記増幅部の動作に有効である有効電圧レベル又は前記動作に有効ではない非有効電圧レベルを選択的に供給する給電制御手段と、を有するものである。
【0010】
第7の態様による固体撮像素子は、複数の光電変換部と、前記光電変換部で光電変換された電荷による信号が出力される信号線と、前記複数の光電変換部のうちの2つ以上の光電変換部に共通して設けられ、選択された前記2つ以上の光電変換部の前記信号を出力する第1選択部と、前記第1選択部と前記信号線の間に設けられ、前記第1選択部から出力された前記光電変換部の前記信号を前記信号線に出力する第2選択部と、を有するものである。
(【0011】以降は省略されています)
この特許をJ-PlatPat(特許庁公式サイト)で参照する
関連特許
個人
イヤーピース
29日前
キヤノン株式会社
撮像装置
1日前
キヤノン株式会社
撮像装置
1日前
キヤノン株式会社
撮像装置
8日前
キヤノン株式会社
撮像装置
1日前
キヤノン電子株式会社
画像読取装置
29日前
キヤノン電子株式会社
シート搬送装置
29日前
キヤノン株式会社
情報処理装置
16日前
シャープ株式会社
表示装置
29日前
シャープ株式会社
表示装置
29日前
日本セラミック株式会社
超音波送受信器
16日前
トヨタ自動車株式会社
推定装置
29日前
17LIVE株式会社
サーバ及び方法
29日前
アイホン株式会社
インターホンシステム
1日前
キヤノン株式会社
撮像装置
29日前
キヤノン株式会社
撮像装置
1か月前
キヤノン株式会社
電子機器
24日前
アイホン株式会社
インターホンシステム
1日前
ミネベアミツミ株式会社
受信装置
16日前
シャープ株式会社
端末装置および通信方法
16日前
サクサ株式会社
電子メール中継装置
2日前
日本放送協会
映像録画装置及びプログラム
16日前
豊田合成株式会社
車両の音出力装置
1日前
株式会社大林組
作業現場監視システム
3日前
HMS株式会社
撮影システム、撮影装置及び撮影方法
8日前
トヨタ自動車株式会社
方法
1か月前
株式会社デンソー
端末及び基地局
17日前
日本電気株式会社
特定装置
8日前
三菱電機株式会社
伝送速度選択システム
8日前
キヤノン株式会社
撮像システム、及び撮像装置
16日前
株式会社バッファロー
親機装置及びプログラム
29日前
日本放送協会
撮像システム
29日前
理想科学工業株式会社
画像処理装置
29日前
キヤノン株式会社
撮像装置
24日前
株式会社マーケットヴィジョン
情報処理システム
1日前
株式会社SCREENホールディングス
撮像装置
29日前
続きを見る
他の特許を見る