TOP
|
特許
|
意匠
|
商標
特許ウォッチ
Twitter
他の特許を見る
公開番号
2025167261
公報種別
公開特許公報(A)
公開日
2025-11-07
出願番号
2024071708
出願日
2024-04-25
発明の名称
撮像装置
出願人
株式会社SCREENホールディングス
代理人
個人
主分類
H04N
23/60 20230101AFI20251030BHJP(電気通信技術)
要約
【課題】撮影可能時間が短い高速度カメラを用いて、観察対象となる事象を適切なタイミングで撮影できる撮像装置を提供する。
【解決手段】イベントベースカメラ61から出力される第1撮影データD1に基づいて、第1事象が発生した第1タイミングを判定する。そして、当該第1タイミングに基づいて、所定時間後に生じる第2事象を、高速度カメラ62により撮影する。これにより、撮影可能時間が短い高速度カメラ62を用いて、第2事象を適切なタイミングで撮影できる。
【選択図】図4
特許請求の範囲
【請求項1】
イベントベースカメラと、
高速度カメラと、
前記イベントベースカメラから出力される第1撮影データに基づいて、第1事象が発生した第1タイミングを判定するタイミング判定部と、
を備え、
前記第1タイミングに基づいて、前記第1事象から所定時間後に生じる第2事象を、前記高速度カメラにより撮影する、撮像装置。
続きを表示(約 940 文字)
【請求項2】
請求項1に記載の撮像装置であって、
前記タイミング判定部は、前記第1撮影データにおいて輝度値が変化した画素数が所定の閾値以上となるタイミングを、前記第1タイミングとして判定する、撮像装置。
【請求項3】
請求項1に記載の撮像装置であって、
前記タイミング判定部は、前記第1撮影データ中に特定のパターンが出現するタイミングを、前記第1タイミングとして判定する、撮像装置。
【請求項4】
請求項1から請求項3までのいずれか1項に記載の撮像装置であって、
前記タイミング判定部により判定された前記第1タイミングに基づいて、前記高速度カメラへトリガー信号を出力するトリガー信号出力部
をさらに備える、撮像装置。
【請求項5】
請求項4に記載の撮像装置であって、
前記タイミング判定部および前記トリガー信号出力部は、FPGAまたはマイコンにより構成される、撮像装置。
【請求項6】
請求項1から請求項3までのいずれか1項に記載の撮像装置であって、
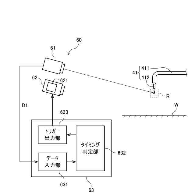
ノズルから物体へ吐出される液体の状態を観察するために使用され、
前記イベントベースカメラは、前記ノズルの先端付近において、前記ノズルから吐出される液体を撮影し、
前記タイミング判定部は、前記第1撮影データに基づいて、前記ノズルから液体の吐出が開始された時刻を、前記第1タイミングとして判定し、
前記高速度カメラは、前記第1タイミングから所定時間後に、前記物体に到達する液体を撮影する、撮像装置。
【請求項7】
請求項1から請求項3までのいずれか1項に記載の撮像装置であって、
基板の表面において広がる液体の状態を観察するために使用され、
前記イベントベースカメラは、前記基板の中心と外端部との間の中途部を撮影し、
前記タイミング判定部は、前記第1撮影データに基づいて、前記中途部に液体が到達した時刻を、前記第1タイミングとして判定し、
前記高速度カメラは、前記第1タイミングから所定時間後に、前記基板の外端部に到達する液体を撮影する、撮像装置。
発明の詳細な説明
【技術分野】
【0001】
本発明は、高速度カメラを用いた撮像装置に関する。
続きを表示(約 1,200 文字)
【背景技術】
【0002】
半導体製造装置のような精密・微細加工を行う装置では、わずかな動作の差異が、プロセス品質の低下を招く。このため、設計の検証や、トラブルの要因分析のために、装置の動作を詳細に観察したい場合がある。しかしながら、物体の高速な回転運動や、液体の高速な流れは、一般的な動画撮影用のカメラでは、詳細に撮影することが難しい。そこで、従来、装置の高速な動作を観察するために、高速度カメラが使用されている。
【0003】
高速度カメラを使用して装置の高速な動作を観察する従来の技術については、例えば、特許文献1に記載されている。
【先行技術文献】
【特許文献】
【0004】
特開2021-167838号公報
【発明の概要】
【発明が解決しようとする課題】
【0005】
通常の動画撮影用のカメラは、単位時間あたりのフレーム画像の数を示すフレームレートが、30~60フレーム/秒程度であるのに対し、高速度カメラは、数千フレーム/秒以上のフレームレートで撮影を行うことができる。
【0006】
ただし、高速度カメラは、撮影中に撮影データをコンピュータへ転送することが間に合わないため、カメラに内蔵されたメモリに、撮影データを記憶させる。したがって、メモリの容量に応じて、高速度カメラの撮影可能時間が限られる。例えば、撮影可能時間が数十マイクロ秒以下に限られる場合もある。このため、装置において観察対象となる事象が発生したときに、タイミングよく高速度カメラによる撮影を行うことが難しい、という問題がある。
【0007】
そこで、本発明は、撮影可能時間が短い高速度カメラを用いて、観察対象となる事象を適切なタイミングで撮影できる撮像装置を提供することを目的とする。
【課題を解決するための手段】
【0008】
上記課題を解決するため、本願の第1発明は、撮像装置であって、イベントベースカメラと、高速度カメラと、前記イベントベースカメラから出力される第1撮影データに基づいて、第1事象が発生した第1タイミングを判定するタイミング判定部と、を備え、前記第1タイミングに基づいて、前記第1事象から所定時間後に生じる第2事象を、前記高速度カメラにより撮影する。
【0009】
本願の第2発明は、第1発明の撮像装置であって、前記タイミング判定部は、前記第1撮影データにおいて輝度値が変化した画素数が所定の閾値以上となるタイミングを、前記第1タイミングとして判定する。
【0010】
本願の第3発明は、第1発明の撮像装置であって、前記タイミング判定部は、前記第1撮影データ中に特定のパターンが出現するタイミングを、前記第1タイミングとして判定する。
(【0011】以降は省略されています)
この特許をJ-PlatPat(特許庁公式サイト)で参照する
関連特許
個人
イヤーピース
4日前
個人
イヤーマフ
18日前
個人
監視カメラシステム
27日前
個人
スイッチシステム
12日前
キーコム株式会社
光伝送線路
28日前
サクサ株式会社
中継装置
1か月前
個人
スキャン式車載用撮像装置
27日前
サクサ株式会社
中継装置
1か月前
WHISMR合同会社
収音装置
2か月前
アイホン株式会社
電気機器
1か月前
キヤノン株式会社
撮像装置
2か月前
サクサ株式会社
無線通信装置
1か月前
キヤノン電子株式会社
画像読取装置
2か月前
サクサ株式会社
無線通信装置
1か月前
株式会社リコー
画像形成装置
2か月前
株式会社リコー
画像形成装置
20日前
キヤノン電子株式会社
画像読取装置
12日前
キヤノン電子株式会社
画像読取装置
26日前
株式会社リコー
画像形成装置
3か月前
株式会社リコー
画像形成装置
2か月前
キヤノン電子株式会社
画像読取装置
4日前
個人
映像表示装置、及びARグラス
13日前
サクサ株式会社
無線システム
1か月前
個人
ワイヤレスイヤホン対応耳掛け
1か月前
ヤマハ株式会社
放音制御装置
12日前
キヤノン株式会社
撮像システム
1か月前
個人
発信機及び発信方法
1か月前
日本電気株式会社
海底分岐装置
28日前
キヤノン電子株式会社
シート搬送装置
4日前
ブラザー工業株式会社
読取装置
3か月前
キヤノン株式会社
画像処理装置
7日前
国立大学法人電気通信大学
小型光学装置
2か月前
沖電気工業株式会社
画像形成装置
1か月前
株式会社NTTドコモ
端末
27日前
株式会社NTTドコモ
端末
27日前
株式会社NTTドコモ
端末
27日前
続きを見る
他の特許を見る