TOP
|
特許
|
意匠
|
商標
特許ウォッチ
Twitter
他の特許を見る
公開番号
2025167501
公報種別
公開特許公報(A)
公開日
2025-11-07
出願番号
2024072177
出願日
2024-04-26
発明の名称
画像処理装置
出願人
理想科学工業株式会社
代理人
個人
,
個人
,
個人
主分類
H04N
1/60 20060101AFI20251030BHJP(電気通信技術)
要約
【課題】オーバープリント処理前にカラーマネジメント処理をする前提で作られたカラープロファイルを変更せずにユーザが意図したカラーマネジメント結果を得ることができる画像処理装置を提供する。
【解決手段】オーバープリント処理部26は、カラーマネジメント処理前の色値が0であるカラープレーンを有するオブジェクトにおける、背面のオブジェクトと重なっている部分の当該カラープレーンの色値を、背面のオブジェクトの同じ色のカラープレーンの色値と合算した値か、当該カラープレーンの色値と背面のオブジェクトの同じ色のカラープレーンの色値との大きい方の値で上書きし、カラーマネジメント処理前の色値が0ではないカラープレーンの色値の上書きは行わないオーバープリント処理を行う。
【選択図】図1
特許請求の範囲
【請求項1】
複数のカラープレーンを含む入力された画像データを出力デバイスの特性に応じて出力色に変換するカラーマネジメント処理を行うカラーマネジメント処理部と、
前記画像データにおける各オブジェクトの各カラープレーンのカラーマネジメント処理前の色値が0であるか否かを判別する色値判別部と、
カラーマネジメント処理前の色値が0であるカラープレーンを有するオブジェクトにおける、背面のオブジェクトと重なっている部分の当該カラープレーンの色値を、背面のオブジェクトの同じ色のカラープレーンの色値と合算した値か、当該カラープレーンの色値と背面のオブジェクトの同じ色のカラープレーンの色値との大きい方の値で上書きし、カラーマネジメント処理前の色値が0ではないカラープレーンの色値の上書きは行わないオーバープリント処理を行うオーバープリント処理部と
を備えることを特徴とする画像処理装置。
発明の詳細な説明
【技術分野】
【0001】
本発明は、画像処理装置に関する。
続きを表示(約 1,600 文字)
【背景技術】
【0002】
画像データに画像処理を施して画像形成を行う画像形成装置において、画像処理の一環としてオーバープリント処理を行うことがある。オーバープリント処理は、画像データ中の背面のオブジェクト上に前面のオブジェクトを重ね、背面のオブジェクトの色を残したまま前面のオブジェクトの色を載せる処理である。
【0003】
画像データに対して、出力デバイスである画像形成装置の特性に応じたカラーマネジメント処理を行った後にオーバープリント処理を行うと、カラーマネジメント処理によってオブジェクトの色値が0から0以外に変化した場合に、オーバープリント処理されないという問題がある。
【0004】
これに対し、特許文献1には、画像データに対して、オーバープリント処理をしてからカラーマネジメント処理を行う技術が開示されている。
【先行技術文献】
【特許文献】
【0005】
特開2014-111331号公報
【発明の概要】
【発明が解決しようとする課題】
【0006】
しかしながら、特許文献1の技術では、オーバープリント処理をするとオブジェクトの重なり部分の色値が変化し、その変化した色値に対してカラーマネジメント処理を行うことになる。このため、オーバープリント処理前にカラーマネジメント処理をする前提でカラープロファイルが作成されていた場合、オーバープリント処理された部分の色変換が期待通りにならず、ユーザが意図したカラーマネジメント結果が得られないことがある。
【0007】
本発明は上記に鑑みてなされたもので、オーバープリント処理前にカラーマネジメント処理をする前提で作られたカラープロファイルを変更せずにユーザが意図したカラーマネジメント結果を得ることができる画像処理装置を提供することを目的とする。
【課題を解決するための手段】
【0008】
上記目的を達成するため、本発明の画像処理装置は、複数のカラープレーンを含む入力された画像データを出力デバイスの特性に応じて出力色に変換するカラーマネジメント処理を行うカラーマネジメント処理部と、前記画像データにおける各オブジェクトの各カラープレーンのカラーマネジメント処理前の色値が0であるか否かを判別する色値判別部と、カラーマネジメント処理前の色値が0であるカラープレーンを有するオブジェクトにおける、背面のオブジェクトと重なっている部分の当該カラープレーンの色値を、背面のオブジェクトの同じ色のカラープレーンの色値と合算した値か、当該カラープレーンの色値と背面のオブジェクトの同じ色のカラープレーンの色値との大きい方の値で上書きし、カラーマネジメント処理前の色値が0ではないカラープレーンの色値の上書きは行わないオーバープリント処理を行うオーバープリント処理部とを備えることを特徴とする。
【発明の効果】
【0009】
本発明の画像処理装置によれば、オーバープリント処理前にカラーマネジメント処理をする前提で作られたカラープロファイルを変更せずにユーザが意図したカラーマネジメント結果を得ることができる。
【図面の簡単な説明】
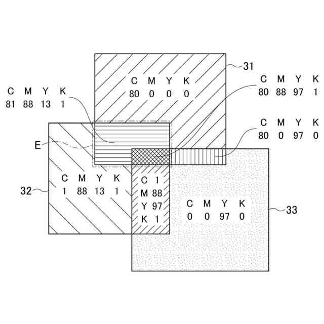
【0010】
実施の形態に係る画像形成装置の構成を示すブロック図である。
図1に示す画像形成装置の動作を説明するためのフローチャートである。
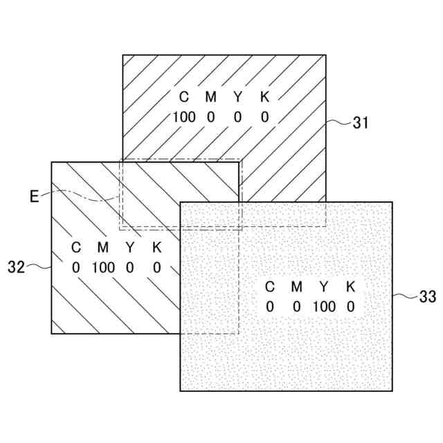
元画像の一例を示す図である。
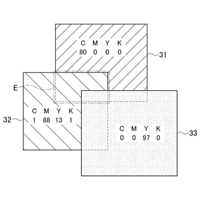
図3に示す元画像に対してカラーマネジメント処理を行った後の画像を示す図である。
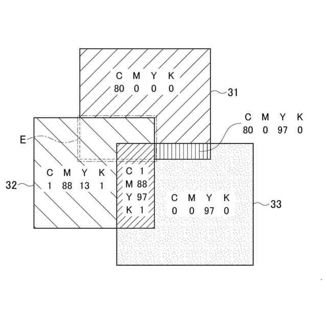
図1に示す画像形成装置で図4に示すカラーマネジメント処理後の画像に対してオーバープリント処理を行った後の画像を示す図である。
図4に示すカラーマネジメント処理後の画像に対して既存のオーバープリント処理を行った後の画像を示す図である。
【発明を実施するための形態】
(【0011】以降は省略されています)
この特許をJ-PlatPat(特許庁公式サイト)で参照する
関連特許
個人
イヤーピース
29日前
個人
イヤーマフ
1か月前
個人
監視カメラシステム
1か月前
個人
スイッチシステム
1か月前
キーコム株式会社
光伝送線路
1か月前
サクサ株式会社
中継装置
1か月前
サクサ株式会社
中継装置
1か月前
個人
スキャン式車載用撮像装置
1か月前
キヤノン株式会社
撮像装置
8日前
キヤノン株式会社
撮像装置
1日前
キヤノン株式会社
撮像装置
1日前
キヤノン株式会社
撮像装置
1日前
サクサ株式会社
無線通信装置
1か月前
キヤノン電子株式会社
画像読取装置
29日前
サクサ株式会社
無線システム
1か月前
ヤマハ株式会社
放音制御装置
1か月前
サクサ株式会社
無線通信装置
1か月前
個人
映像表示装置、及びARグラス
1か月前
株式会社リコー
画像形成装置
1か月前
キヤノン電子株式会社
画像読取装置
1か月前
キヤノン電子株式会社
画像読取装置
1か月前
個人
発信機及び発信方法
1か月前
キヤノン株式会社
画像処理装置
1か月前
キヤノン株式会社
情報処理装置
16日前
キヤノン電子株式会社
シート搬送装置
29日前
日本電気株式会社
海底分岐装置
1か月前
シャープ株式会社
表示装置
29日前
沖電気工業株式会社
画像形成装置
2か月前
シャープ株式会社
表示装置
29日前
日本セラミック株式会社
超音波送受信器
16日前
株式会社NTTドコモ
端末
1か月前
株式会社NTTドコモ
端末
1か月前
キヤノン電子株式会社
画像処理システム
1か月前
株式会社JVCケンウッド
通信システム
2か月前
株式会社NTTドコモ
端末
1か月前
有限会社フィデリックス
マイクロフォン
2か月前
続きを見る
他の特許を見る