TOP
|
特許
|
意匠
|
商標
特許ウォッチ
Twitter
他の特許を見る
10個以上の画像は省略されています。
公開番号
2025157596
公報種別
公開特許公報(A)
公開日
2025-10-15
出願番号
2025129989,2024188300
出願日
2025-08-04,2021-12-09
発明の名称
レンズ鏡筒
出願人
株式会社ニコン
代理人
弁理士法人片山特許事務所
主分類
G02B
7/04 20210101AFI20251007BHJP(光学)
要約
【課題】 良好な光学性能を有するレンズ鏡筒を提供する。
【解決手段】 レンズ鏡筒は、第1レンズを保持する第1レンズ保持枠と、前記第1レンズ保持枠を光軸方向に案内する第1案内軸と、前記第1案内軸と接触する接触部材と、前記第1レンズ保持枠に接触し、前記接触部材を前記第1案内軸に向けて付勢する付勢部材と、を備える。
【選択図】図3
特許請求の範囲
【請求項1】
第1レンズを保持する第1レンズ保持枠と、
前記第1レンズ保持枠を光軸方向に案内する第1案内軸と、
前記第1案内軸と接触する接触部材と、
前記第1レンズ保持枠に接触し、前記接触部材を前記第1案内軸に向けて付勢する付勢部材と、
を備えるレンズ鏡筒。
発明の詳細な説明
【技術分野】
【0001】
本発明は、レンズ鏡筒に関する。
続きを表示(約 1,600 文字)
【背景技術】
【0002】
レンズ鏡筒には、良好な光学性能が求められている(例えば、特許文献1)。
【先行技術文献】
【特許文献】
【0003】
特開2019-168492号公報
【発明の概要】
【0004】
第1の態様によれば、レンズ鏡筒は、第1レンズを保持する第1レンズ保持枠と、前記第1レンズ保持枠を光軸方向に案内する第1案内軸と、前記第1案内軸と接触する接触部材と、前記第1レンズ保持枠に接触し、前記接触部材を前記第1案内軸に向けて付勢する付勢部材と、を備える。
【0005】
第2の態様によれば、撮像装置は、上記レンズ鏡筒を備える。
【0006】
なお、後述の実施形態の構成を適宜改良しても良く、また、少なくとも一部を他の構成物に代替させても良い。更に、その配置について特に限定のない構成要件は、実施形態で開示した配置に限らず、その機能を達成できる位置に配置することができる。
【図面の簡単な説明】
【0007】
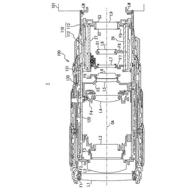
図1は、一実施形態に係るレンズ鏡筒と、カメラボディと、を備えるカメラを示す図である。
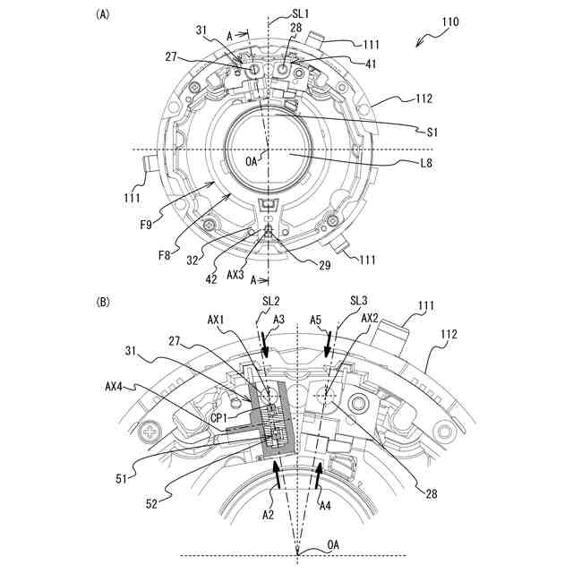
図2は、移動筒をカメラボディ側から見た斜視図である。
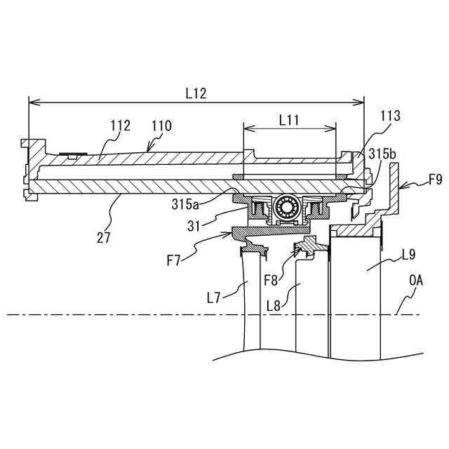
図3(A)及び図3(B)は、第7レンズ保持枠の概略斜視図であり、図3(C)は、第7レンズ保持枠とガイドバーとの係合について説明するための断面図である。
図4(A)は、第8レンズ保持枠の概略斜視図であり、図4(B)は、第8レンズ保持枠とガイドバーとの係合について説明するための断面図である。
図5(A)は、固定部を外した移動筒をカメラボディ側から見た図であり、図5(B)は、図5(A)において、第1係合部付近を拡大し、一部を断面で表した図である。
図6(A)及び図6(B)は、第7レンズ保持枠、第8レンズ保持枠、第1駆動源ユニット、および第2駆動源ユニットを示す斜視図である。
図7(A)は、第9レンズ群および第9レンズ保持枠を被写体側から見た平面図、図7(B)は、第9レンズ群および第9レンズ保持枠を被写体側から見た斜視図、図7(C)は、第9レンズ群および第9レンズ保持枠をカメラボディ側から見た斜視図である。
図8(A)は、第7レンズ群が第9レンズ群に最も近づいたときにおける第7レンズ保持枠と第9レンズ群との関係について説明するための図であり、図8(B)は、図8(A)のB-B線断面図である。
図9は、一実施形態におけるガイドバーの長さおよびガイドバーと第1係合部との係合長について説明するための図である。
図10(A)及び図10(B)は、第9レンズ群が円形の場合の移動筒の大きさ、ガイドバーの長さ、およびガイドバーと第1係合部との係合長について説明するための図である。
【発明を実施するための形態】
【0008】
以下、一実施形態に係るレンズ鏡筒100について、図面を参照し、詳細に説明する。なお、各図において、理解を容易にするため、一部の要素の図示を省略している場合がある。
【0009】
図1は、本実施形態に係るレンズ鏡筒100と、カメラボディ101と、を備えるカメラ1を示す図である。本実施形態において、レンズ鏡筒100は、レンズマウントLMによりカメラボディ101に対して着脱可能となっている。なお、着脱可能であるが、レンズ鏡筒100とカメラボディ101とは一体であってもよい。
【0010】
カメラボディ101は、レンズ鏡筒100内に配列されたレンズ群により形成された被写体像を撮像して電気信号に変換する撮像素子(不図示)を備える。
(【0011】以降は省略されています)
特許ウォッチbot のツイートを見る
この特許をJ-PlatPat(特許庁公式サイト)で参照する
関連特許
株式会社ニコン
撮像素子
15日前
株式会社ニコン
撮像素子および撮像装置
4日前
株式会社ニコン
撮像素子および撮像装置
15日前
株式会社ニコン
眼科用光学系及び眼科装置
4日前
株式会社ニコン
リレー光学系、及びアタッチメント
4日前
住友化学株式会社
偏光板
1か月前
カンタツ株式会社
光学系
1か月前
株式会社シグマ
結像光学系
25日前
株式会社シグマ
結像光学系
15日前
住友化学株式会社
垂直偏光板
1か月前
日本精機株式会社
ミラーユニット
24日前
古河電気工業株式会社
融着機
1か月前
日本電気株式会社
光モジュール
25日前
個人
多方向視差効果のための微細穴加工
26日前
株式会社コシナ
投射ズームレンズ
8日前
豊田合成株式会社
調光装置
2日前
日東電工株式会社
導光部材
15日前
京セラ株式会社
光学系
23日前
日東電工株式会社
光学積層体
17日前
個人
眼鏡装着位置変更具および眼鏡
1か月前
三菱電機株式会社
レンズモジュール
1か月前
日本精機株式会社
ヘッドアップディスプレイ
15日前
日本精機株式会社
ヘッドアップディスプレイ
18日前
AGC株式会社
インフィニティミラー
1か月前
新光電気工業株式会社
光導波路部品
1か月前
日本精機株式会社
ヘッドアップディスプレイ装置
15日前
マクセル株式会社
映像表示装置
8日前
日本精機株式会社
ヘッドアップディスプレイ装置
16日前
新光電気工業株式会社
光導波路部品
1か月前
株式会社リコー
光走査装置及び画像形成装置
15日前
株式会社タムロン
ズームレンズ及び撮像装置
23日前
スタンレー電気株式会社
透光性樹脂部材
23日前
レーザーテック株式会社
光学装置及び調整方法
15日前
富士通株式会社
波長変換装置および波長変換方法
29日前
キヤノン電子株式会社
光学部材、撮像装置及び宇宙航行体
1か月前
株式会社小糸製作所
画像投影装置
1か月前
続きを見る
他の特許を見る