TOP
|
特許
|
意匠
|
商標
特許ウォッチ
Twitter
他の特許を見る
10個以上の画像は省略されています。
公開番号
2025147224
公報種別
公開特許公報(A)
公開日
2025-10-06
出願番号
2025132459,2023529527
出願日
2025-08-07,2022-03-04
発明の名称
変倍光学系、光学機器、および変倍光学系の製造方法
出願人
株式会社ニコン
代理人
個人
,
個人
,
個人
,
個人
主分類
G02B
15/20 20060101AFI20250926BHJP(光学)
要約
【課題】 小型軽量化を実現しつつ良好な光学性能を有する変倍光学系を提供する。
【解決手段】 変倍光学系(ZL)は、光軸に沿って物体側から順に並んだ、正の屈折力を有する第1レンズ群(G1)と、負の屈折力を有する第2レンズ群(G2)と、正の屈折力を有する第3レンズ群(G3)と、負の屈折力を有する第4レンズ群(G4)と、負の屈折力を有する第5レンズ群(G5)とを有し、変倍の際に、隣り合う各レンズ群の間隔が変化し、第4レンズ群(G4)は、合焦の際に光軸に沿って移動する合焦レンズ群であり、以下の条件式を満足する。
0.11<f4/f5<0.70
但し、f4:第4レンズ群(G4)の焦点距離
f5:第5レンズ群(G5)の焦点距離
【選択図】 図1
特許請求の範囲
【請求項1】
光軸に沿って物体側から順に並んだ、正の屈折力を有する第1レンズ群と、負の屈折力を有する第2レンズ群と、正の屈折力を有する第3レンズ群と、負の屈折力を有する第4レンズ群と、負の屈折力を有する第5レンズ群とを有し、
変倍の際に、隣り合う各レンズ群の間隔が変化し、
前記第4レンズ群は、合焦の際に光軸に沿って移動する合焦レンズ群であり、
以下の条件式を満足する変倍光学系。
0.11<f4/f5<0.70
但し、f4:前記第4レンズ群の焦点距離
f5:前記第5レンズ群の焦点距離
発明の詳細な説明
【技術分野】
【0001】
本発明は、変倍光学系、光学機器、および変倍光学系の製造方法に関する。
続きを表示(約 2,300 文字)
【背景技術】
【0002】
従来から、写真用カメラ、電子スチルカメラ、ビデオカメラ等に適した変倍光学系が提案されている(例えば、特許文献1を参照)。このような変倍光学系においては、小型軽量化を実現しつつ良好な光学性能を得ることが難しい。
【先行技術文献】
【特許文献】
【0003】
特開2014-228808号公報
【発明の概要】
【0004】
第1の本発明に係る変倍光学系は、光軸に沿って物体側から順に並んだ、正の屈折力を有する第1レンズ群と、負の屈折力を有する第2レンズ群と、正の屈折力を有する第3レンズ群と、負の屈折力を有する第4レンズ群と、負の屈折力を有する第5レンズ群とを有し、変倍の際に、隣り合う各レンズ群の間隔が変化し、前記第4レンズ群は、合焦の際に光軸に沿って移動する合焦レンズ群であり、以下の条件式を満足する。
0.11<f4/f5<0.70
但し、f4:前記第4レンズ群の焦点距離
f5:前記第5レンズ群の焦点距離
【0005】
第2の本発明に係る変倍光学系は、光軸に沿って物体側から順に並んだ、正の屈折力を有する第1レンズ群と、負の屈折力を有する第2レンズ群と、少なくとも1つのレンズ群を有して正の屈折力を有する中間群と、負の屈折力を有する合焦レンズ群と、少なくとも1つのレンズ群を有する後群とからなり、変倍の際に、隣り合う各レンズ群の間隔が変化し、前記合焦レンズ群は、合焦の際に光軸に沿って移動し、以下の条件式を満足する。
0.30<(-f2)/fMt<0.80
0.01<Bfw/fw<0.95
但し、f2:前記第2レンズ群の焦点距離
fMt:望遠端状態における前記中間群の焦点距離
Bfw:広角端状態における前記変倍光学系のバックフォーカス
fw:広角端状態における前記変倍光学系の焦点距離
【0006】
本発明に係る光学機器は、上記変倍光学系を備えて構成される。
【0007】
本発明に係る変倍光学系の製造方法は、光軸に沿って物体側から順に並んだ、正の屈折力を有する第1レンズ群と、負の屈折力を有する第2レンズ群と、正の屈折力を有する第3レンズ群と、負の屈折力を有する第4レンズ群と、負の屈折力を有する第5レンズ群とを有する変倍光学系の製造方法であって、変倍の際に、隣り合う各レンズ群の間隔が変化し、前記第4レンズ群は、合焦の際に光軸に沿って移動する合焦レンズ群であり、以下の条件式を満足するように、レンズ鏡筒内に各レンズを配置する。
0.11<f4/f5<0.70
但し、f4:前記第4レンズ群の焦点距離
f5:前記第5レンズ群の焦点距離
【図面の簡単な説明】
【0008】
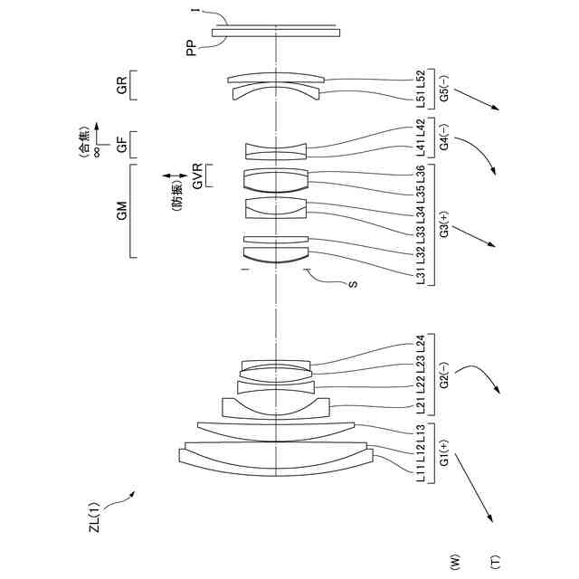
第1実施例に係る変倍光学系のレンズ構成を示す図である。
図2(A)、図2(B)はそれぞれ、第1実施例に係る変倍光学系の広角端状態、望遠端状態における無限遠合焦時の諸収差図である。
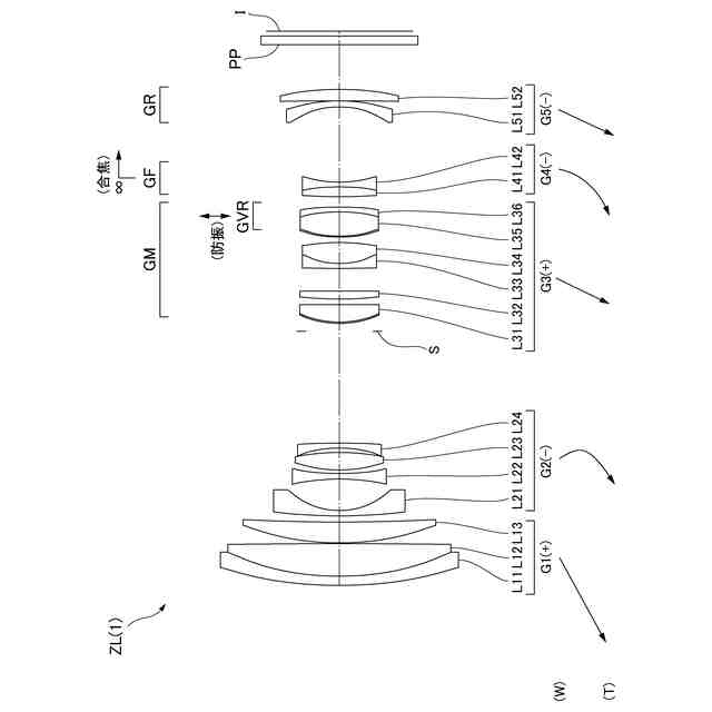
第2実施例に係る変倍光学系のレンズ構成を示す図である。
図4(A)、図4(B)はそれぞれ、第2実施例に係る変倍光学系の広角端状態、望遠端状態における無限遠合焦時の諸収差図である。
第3実施例に係る変倍光学系のレンズ構成を示す図である。
図6(A)、図6(B)はそれぞれ、第3実施例に係る変倍光学系の広角端状態、望遠端状態における無限遠合焦時の諸収差図である。
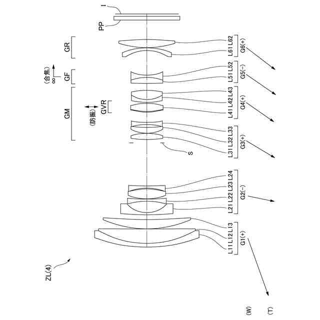
第4実施例に係る変倍光学系のレンズ構成を示す図である。
図8(A)、図8(B)はそれぞれ、第4実施例に係る変倍光学系の広角端状態、望遠端状態における無限遠合焦時の諸収差図である。
各実施形態に係る変倍光学系を備えたカメラの構成を示す図である。
第1実施形態に係る変倍光学系の製造方法を示すフローチャートである。
第2実施形態に係る変倍光学系の製造方法を示すフローチャートである。
【発明を実施するための形態】
【0009】
以下、本発明に係る好ましい実施形態について説明する。まず、各実施形態に係る変倍光学系を備えたカメラ(光学機器)を図9に基づいて説明する。このカメラ1は、図9に示すように、本体2と、本体2に装着される撮影レンズ3により構成される。本体2は、撮像素子4と、デジタルカメラの動作を制御する本体制御部(不図示)と、液晶画面5とを備える。撮影レンズ3は、複数のレンズ群からなる変倍光学系ZLと、各レンズ群の位置を制御するレンズ位置制御機構(不図示)とを備える。レンズ位置制御機構は、レンズ群の位置を検出するセンサと、レンズ群を光軸に沿って前後に移動させるモータと、モータを駆動する制御回路などにより構成される。
【0010】
被写体からの光は、撮影レンズ3の変倍光学系ZLにより集光されて、撮像素子4の像面I上に到達する。像面Iに到達した被写体からの光は、撮像素子4により光電変換され、デジタル画像データとして不図示のメモリに記録される。メモリに記録されたデジタル画像データは、ユーザの操作に応じて液晶画面5に表示することが可能である。なお、このカメラは、ミラーレスカメラでも、クイックリターンミラーを有した一眼レフタイプのカメラであっても良い。また、図9に示す変倍光学系ZLは、撮影レンズ3に備えられる変倍光学系を模式的に示したものであり、変倍光学系ZLのレンズ構成はこの構成に限定されるものではない。
(【0011】以降は省略されています)
この特許をJ-PlatPat(特許庁公式サイト)で参照する
関連特許
株式会社ニコン
撮像素子および撮像装置
21日前
株式会社ニコンビジョン
観察光学系、光学機器、および観察光学系の製造方法
19日前
株式会社ニコン
撮像装置
21日前
株式会社ニコン
撮像素子
17日前
株式会社ニコン
変倍光学系
3日前
株式会社ニコン
レンズ鏡筒
5日前
株式会社ニコン
交換レンズ
21日前
株式会社ニコン
撮像素子及び撮像装置
14日前
株式会社ニコン
光学系および光学機器
20日前
株式会社ニコン
撮像素子及び撮像装置
17日前
株式会社ニコン
撮像素子及び撮像装置
6日前
株式会社ニコン
変倍光学系および光学機器
19日前
株式会社ニコン
変倍光学系および光学機器
20日前
株式会社ニコン
固体撮像素子及び撮像装置
20日前
株式会社ニコン
撮像ユニットおよび撮像装置
14日前
株式会社ニコン
焦点検出装置および撮像素子
6日前
株式会社ニコン
光学系、光学機器および光学系の製造方法
3日前
株式会社ニコン
パルス光生成装置、パルス光生成方法及び加工装置
25日前
株式会社ニコン
変倍光学系、光学機器、および変倍光学系の製造方法
14日前
株式会社ニコン
変倍光学系、光学機器、および変倍光学系の製造方法
6日前
株式会社ニコン
変倍光学系、光学機器、および変倍光学系の製造方法
3日前
株式会社ニコン
画像処理方法、画像処理装置、及び画像処理プログラム
14日前
個人
立体像表示装置
6日前
住友化学株式会社
偏光板
3日前
東レ株式会社
積層フィルム
12日前
住友化学株式会社
垂直偏光板
3日前
東レ株式会社
貼合体の製造方法
6日前
東レ株式会社
赤外線遮蔽構成体
6日前
アイカ工業株式会社
反射防止フィルム
18日前
日本電気株式会社
光集積回路素子
10日前
スタンレー電気株式会社
照明装置
13日前
個人
眼鏡装着位置変更具および眼鏡
4日前
三菱電機株式会社
レンズモジュール
3日前
住友化学株式会社
積層体
10日前
日東電工株式会社
調光フィルム
11日前
住友化学株式会社
偏光板
6日前
続きを見る
他の特許を見る