TOP
|
特許
|
意匠
|
商標
特許ウォッチ
Twitter
他の特許を見る
10個以上の画像は省略されています。
公開番号
2025142099
公報種別
公開特許公報(A)
公開日
2025-09-29
出願番号
2025120931,2024020973
出願日
2025-07-18,2017-03-23
発明の名称
撮像装置
出願人
株式会社ニコン
代理人
個人
,
個人
,
個人
主分類
H04N
23/60 20230101AFI20250919BHJP(電気通信技術)
要約
【課題】たとえばブロックごとの撮像条件の違いによって生じるブロック間の画像の不連続性を抑えること。
【解決手段】撮像装置は、複数の画素を含むブロックごとに撮像条件が設定可能な撮像素子と、第1被写体からの第1の光が入射した第1領域の前記ブロックに第1撮像条件を設定し、第2被写体からの第2の光が入射した第2領域の前記ブロックに第2撮像条件を設定し、前記第1領域と前記第2領域との間にある第3領域の前記ブロックに前記第1撮像条件および前記第2撮像条件と異なる撮像条件を設定する撮像条件設定部と、を備え、前記撮像条件設定部は、前記第1撮像条件により設定される設定値と前記第2撮像条件により設定される設定値とに基づいて、前記第3領域に設定される撮像条件の数を設定する。
【選択図】図1
特許請求の範囲
【請求項1】
複数の画素を含むブロックごとに撮像条件が設定可能な撮像素子と、
第1被写体からの第1の光が入射した第1領域の前記ブロックに第1撮像条件を設定し、第2被写体からの第2の光が入射した第2領域の前記ブロックに第2撮像条件を設定し、前記第1領域と前記第2領域との間にある第3領域の前記ブロックに前記第1撮像条件および前記第2撮像条件と異なる撮像条件を設定する撮像条件設定部と、を備え、
前記撮像条件設定部は、前記第1撮像条件により設定される設定値と前記第2撮像条件により設定される設定値とに基づいて、前記第3領域に設定される撮像条件の数を設定する撮像装置。
発明の詳細な説明
【技術分野】
【0001】
本発明は、撮像装置に関する。
続きを表示(約 3,000 文字)
【背景技術】
【0002】
撮像素子からの信号により画像を生成する画像処理技術を搭載した撮像装置が知られている(特許文献1参照)。
従来から画像の画質向上が要求されていた。
【先行技術文献】
【特許文献】
【0003】
特開2006-197192号公報
【発明の概要】
【0004】
第1の態様によると、撮像装置は、複数の画素を含むブロックごとに撮像条件が設定可能な撮像素子と、第1被写体からの第1の光が入射した第1領域の前記ブロックに第1撮像条件を設定し、第2被写体からの第2の光が入射した第2領域の前記ブロックに第2撮像条件を設定し、前記第1領域と前記第2領域との間にある第3領域の前記ブロックに前記第1撮像条件および前記第2撮像条件と異なる撮像条件を設定する撮像条件設定部と、を備え、前記撮像条件設定部は、前記第1撮像条件により設定される設定値と前記第2撮像条件により設定される設定値とに基づいて、前記第3領域に設定される撮像条件の数を設定する。
【図面の簡単な説明】
【0005】
第1の実施の形態によるカメラの構成を例示するブロック図である。
積層型の撮像素子の断面図である。
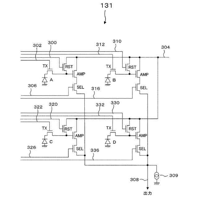
撮像チップの画素配列と単位領域を説明する図である。
単位領域における回路を説明する図である。
カメラの撮像素子に結像される被写体の像を模式的に示す図である。
撮像条件の設定画面を例示する図である。
図7(a)はライブビュー画像における所定範囲を例示する図、図7(b)は所定範囲の拡大図である。
図8は図7(b)に対応する画像データを例示する図である。
図9(a)はライブビュー画像における注目領域を例示する図、図9(b)は注目画素および参照画素Prの拡大図である。
図10(a)は画素から出力された光電変換信号の並びを例示する図、図10(b)はG色成分の画像データの補間を説明する図、図10(c)は補間後のG色成分の画像データを例示する図である。
図11(a)は図10(a)からR色成分の画像データを抽出した図、図11(b)は色差成分Crの補間を説明する図、図11(c)は色差成分Crの画像データの補間を説明する図である。
図12(a)は図10(a)からB色成分の画像データを抽出した図、図12(b)は色差成分Cbの補間を説明する図、図12(c)は色差成分Cbの画像データの補間を説明する図である。
撮像面における焦点検出用画素の位置を例示する図である。
焦点検出画素ラインの一部の領域を拡大した図である。
フォーカスポイントを拡大した図である。
図16(a)は、検出しようとする対象物を表すテンプレート画像を例示する図であり、図16(b)は、ライブビュー画像および探索範囲を例示する図である。
領域ごとに撮像条件を設定して撮像する処理の流れを説明するフローチャートである。
図18(a)~図18(c)は、図7(b)の所定範囲の一部を含む第2の実施の形態の複数のブロックを示す図である。
図19(a)~図19(c)は、撮像素子の撮像面における第1撮像領域および第2撮像領域の配置を例示する図である。
変形例11による撮像システムの構成を例示するブロック図である。
モバイル機器へのプログラムの供給を説明する図である。
第3の実施の形態によるカメラの構成を例示するブロック図である。
第3の実施の形態における各ブロックと、複数の補正部との対応関係を模式的に示した図である。
積層型撮像素子の断面図である。
画像処理に係る、第1画像データと第2画像データとの処理について模式的に表した図である。
焦点検出処理に係る、第1画像データと第2画像データとの処理について模式的に表した図である。
被写体検出処理に係る、第1画像データと第2画像データとの処理について模式的に表した図である。
露出演算処理等の撮像条件の設定に係る、第1画像データと第2画像データとの処理について模式的に表した図である。
【発明を実施するための形態】
【0006】
---第1の実施の形態---
第1の実施の形態による画像処理装置を搭載する電子機器の一例として、デジタルカメラを例に挙げて説明する。カメラ1(図1)は、撮像素子32aにおける撮像面の領域ごとに異なる条件で撮像を行うことが可能に構成される。画像処理部33は、撮像条件が異なる領域においてそれぞれ適切な処理を行う。このようなカメラ1の詳細について、図面を参照して説明する。
【0007】
<カメラの説明>
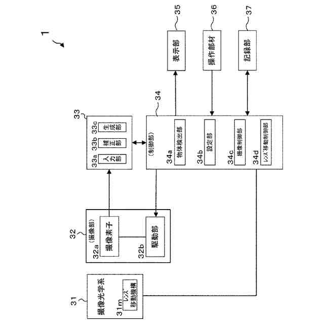
図1は、第1の実施の形態によるカメラ1の構成を例示するブロック図である。図1において、カメラ1は、撮像光学系31と、撮像部32と、画像処理部33と、制御部34と、表示部35と、操作部材36と、記録部37とを有する。
【0008】
撮像光学系31は、被写界からの光束を撮像部32へ導く。撮像部32は、撮像素子32aおよび駆動部32bを含み、撮像光学系31によって結像された被写体の像を光電変換する。撮像部32は、撮像素子32aにおける撮像面の全域において同じ条件で撮像したり、撮像素子32aにおける撮像面の領域ごとに異なる条件で撮像したりすることができる。撮像部32の詳細については後述する。駆動部32bは、撮像素子32aに蓄積制御を行わせるために必要な駆動信号を生成する。撮像部32に対する電荷蓄積時間などの撮像指示は、制御部34から駆動部32bへ送信される。
【0009】
画像処理部33は、入力部33aと、補正部33bと、生成部33cとを含む。入力部33aには、撮像部32によって取得された画像データが入力される。補正部33bは、上記入力された画像データに対して補正を行う前処理を行う。前処理の詳細については後述する。生成部33cは、上記入力された画像データと前処理後の画像データとに対して画像処理を行い、画像を生成する。画像処理には、たとえば、色補間処理、画素欠陥補正処理、輪郭強調処理、ノイズ低減(Noise reduction)処理、ホワイトバランス調整処理、ガンマ補正処理、表示輝度調整処理、彩度調整処理等が含まれる。さらに、生成部33cは、表示部35により表示する画像を生成する。
【0010】
制御部34は、たとえばCPUによって構成され、カメラ1による全体の動作を制御する。たとえば、制御部34は、撮像部32で取得された光電変換信号に基づいて所定の露出演算を行い、適正露出に必要な撮像素子32aの電荷蓄積時間(露光時間)、撮像光学系31の絞り値、ISO感度等の露出条件を決定して駆動部32bへ指示する。また、カメラ1に設定されている撮像シーンモードや、検出した被写体要素の種類に応じて、彩度、コントラスト、シャープネス等を調整する画像処理条件を決定して画像処理部33へ指示する。被写体要素の検出については後述する。
(【0011】以降は省略されています)
この特許をJ-PlatPat(特許庁公式サイト)で参照する
関連特許
株式会社ニコン
撮像素子および撮像装置
15日前
株式会社ニコンビジョン
観察光学系、光学機器、および観察光学系の製造方法
13日前
株式会社ニコン
撮像装置
15日前
株式会社ニコン
撮像素子
11日前
株式会社ニコン
交換レンズ
15日前
株式会社ニコン
撮像素子及び撮像装置
8日前
株式会社ニコン
撮像素子及び撮像装置
11日前
株式会社ニコン
撮像素子及び撮像装置
今日
株式会社ニコン
光学系および光学機器
14日前
株式会社ニコン
変倍光学系および光学機器
13日前
株式会社ニコン
変倍光学系および光学機器
14日前
株式会社ニコン
固体撮像素子及び撮像装置
14日前
株式会社ニコン
撮像ユニットおよび撮像装置
8日前
株式会社ニコン
焦点検出装置および撮像素子
今日
株式会社ニコン
変倍光学系、光学機器、および変倍光学系の製造方法
8日前
株式会社ニコン
変倍光学系、光学機器、および変倍光学系の製造方法
今日
株式会社ニコン
画像処理方法、画像処理装置、及び画像処理プログラム
8日前
個人
店内配信予約システム
3か月前
キーコム株式会社
光伝送線路
今日
サクサ株式会社
中継装置
6日前
WHISMR合同会社
収音装置
1か月前
サクサ株式会社
中継装置
5日前
サクサ株式会社
中継装置
3か月前
キヤノン株式会社
電子機器
2か月前
キヤノン株式会社
撮像装置
3か月前
アイホン株式会社
電気機器
27日前
キヤノン株式会社
撮像装置
1か月前
サクサ株式会社
無線システム
4日前
キヤノン電子株式会社
画像読取装置
1か月前
日本精機株式会社
画像投映システム
3か月前
株式会社リコー
画像形成装置
1か月前
株式会社リコー
画像形成装置
1か月前
ヤマハ株式会社
信号処理装置
3か月前
個人
ワイヤレスイヤホン対応耳掛け
25日前
サクサ株式会社
無線通信装置
5日前
キヤノン電子株式会社
モバイル装置
3か月前
続きを見る
他の特許を見る