TOP
|
特許
|
意匠
|
商標
特許ウォッチ
Twitter
他の特許を見る
10個以上の画像は省略されています。
公開番号
2025142330
公報種別
公開特許公報(A)
公開日
2025-09-30
出願番号
2025127401,2024042939
出願日
2025-07-30,2022-02-17
発明の名称
変倍光学系および光学機器
出願人
株式会社ニコン
代理人
個人
,
個人
,
個人
,
個人
主分類
G02B
15/20 20060101AFI20250919BHJP(光学)
要約
【課題】小型で良好な光学性能を有する変倍光学系を提供する。
【解決手段】変倍光学系ZLは、光軸に沿って物体側から順に並んだ、負の屈折力を有する第1レンズ群G1と、少なくとも1つのレンズ群を有する後群GRとからなり、
変倍の際に、隣り合う各レンズ群の間隔が変化し、
以下の条件式を満足する。
1.50<TLw/fw<2.30
但し、TLw:広角端状態における変倍光学系ZLの全長
fw:広角端状態における変倍光学系ZLの焦点距離
【選択図】図1
特許請求の範囲
【請求項1】
光軸に沿って物体側から順に並んだ、負の屈折力を有する第1レンズ群と、少なくとも1つのレンズ群を有する後群とからなり、
変倍の際に、隣り合う各レンズ群の間隔が変化し、
以下の条件式を満足する変倍光学系。
1.50<TLw/fw<2.30
但し、TLw:広角端状態における前記変倍光学系の全長
fw:広角端状態における前記変倍光学系の焦点距離
続きを表示(約 1,300 文字)
【請求項2】
光軸に沿って物体側から順に並んだ、負の屈折力を有する第1レンズ群と、少なくとも1つのレンズ群を有する後群とからなり、
変倍の際に、隣り合う各レンズ群の間隔が変化し、
以下の条件式を満足する変倍光学系。
0.35<(-f1)/TLt<1.25
但し、f1:前記第1レンズ群の焦点距離
TLt:望遠端状態における前記変倍光学系の全長
【請求項3】
前記後群の前記少なくとも1つのレンズ群におけるいずれかのレンズ群の少なくとも一部は、合焦の際に光軸に沿って移動する合焦群である請求項1または2に記載の変倍光学系。
【請求項4】
前記合焦群が負の屈折力を有し、
以下の条件式を満足する請求項3に記載の変倍光学系。
1.50<ft/(-fF)<10.00
但し、ft:望遠端状態における前記変倍光学系の焦点距離
fF:前記合焦群の焦点距離
【請求項5】
前記合焦群が負の屈折力を有し、
以下の条件式を満足する請求項3または4に記載の変倍光学系。
0.70<fw/(-fF)<7.00
但し、fw:広角端状態における前記変倍光学系の焦点距離
fF:前記合焦群の焦点距離
【請求項6】
前記合焦群が負の屈折力を有し、
以下の条件式を満足する請求項3~5のいずれか一項に記載の変倍光学系。
1.00<fFRw/(-fF)<7.00
但し、fFRw:広角端状態における前記合焦群よりも像側に配置されたレンズで構成されるレンズ群の焦点距離
fF:前記合焦群の焦点距離
【請求項7】
前記合焦群が負の屈折力を有し、
以下の条件式を満足する請求項3~6のいずれか一項に記載の変倍光学系。
1.00<fFRt/(-fF)<7.00
但し、fFRt:望遠端状態における前記合焦群よりも像側に配置されたレンズで構成されるレンズ群の焦点距離
fF:前記合焦群の焦点距離
【請求項8】
前記合焦群が負の屈折力を有し、
以下の条件式を満足する請求項3~7のいずれか一項に記載の変倍光学系。
0.50<fRPF/(-fF)<3.00
但し、fRPF:前記後群の前記少なくとも1つのレンズ群のうち、正の屈折力を有するレンズ群で最も物体側のレンズ群の焦点距離
fF:前記合焦群の焦点距離
【請求項9】
前記合焦群が負の屈折力を有し、
以下の条件式を満足する請求項3~8のいずれか一項に記載の変倍光学系。
0.50<fRw/(-fF)<4.00
但し、fRw:広角端状態における前記後群の焦点距離
fF:前記合焦群の焦点距離
【請求項10】
前記合焦群が負の屈折力を有し、
以下の条件式を満足する請求項3~9のいずれか一項に記載の変倍光学系。
0.50<fRt/(-fF)<5.00
但し、fRt:望遠端状態における前記後群の焦点距離
fF:前記合焦群の焦点距離
(【請求項11】以降は省略されています)
発明の詳細な説明
【技術分野】
【0001】
本発明は、変倍光学系および光学機器に関する。
続きを表示(約 2,700 文字)
【背景技術】
【0002】
従来から、写真用カメラ、電子スチルカメラ、ビデオカメラ等に適した変倍光学系が提案されている(例えば、特許文献1を参照)。このような変倍光学系においては、小型にしつつ良好な光学性能を得ることが難しい。
【先行技術文献】
【特許文献】
【0003】
国際公開第2020/012638号
【発明の概要】
【0004】
第1の本発明に係る変倍光学系は、光軸に沿って物体側から順に並んだ、負の屈折力を有する第1レンズ群と、3つまたは4つのレンズ群から構成される後群とからなり、変倍の際に、隣り合う各レンズ群の間隔が変化し、以下の条件式を満足する。
0.35<(-f1)/TLt<1.25
但し、f1:前記第1レンズ群の焦点距離
TLt:望遠端状態における前記変倍光学系の全長
【0005】
第2の本発明に係る変倍光学系は、光軸に沿って物体側から順に並んだ、負の屈折力を有する第1レンズ群と、3つまたは4つのレンズ群から構成される後群とからなり、変倍の際に、隣り合う各レンズ群の間隔が変化し、以下の条件式を満足する。
1.50<TLw/fw<2.30
但し、TLw:広角端状態における前記変倍光学系の全長
fw:広角端状態における前記変倍光学系の焦点距離
【0006】
第3の本発明に係る変倍光学系は、光軸に沿って物体側から順に並んだ、負の屈折力を有する第1レンズ群と、3つまたは4つのレンズ群から構成される後群とからなり、変倍の際に、隣り合う各レンズ群の間隔が変化し、以下の条件式を満足する。
0.50<(-f1)/TLw<1.50
但し、f1:前記第1レンズ群の焦点距離
TLw:広角端状態における前記変倍光学系の全長
【0007】
本発明に係る光学機器は、上記変倍光学系を備えて構成される。
【図面の簡単な説明】
【0008】
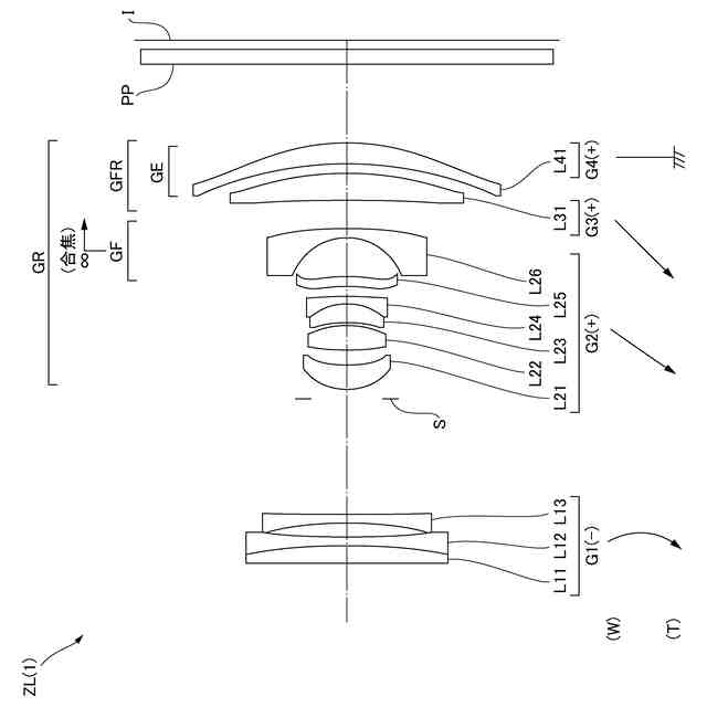
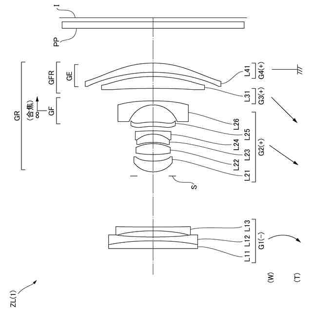
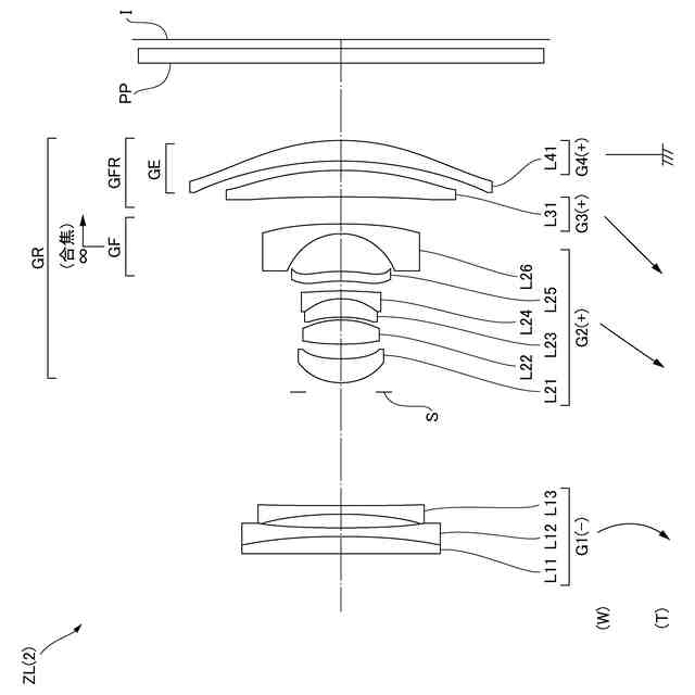
第1実施例に係る変倍光学系のレンズ構成を示す図である。
図2(A)、図2(B)はそれぞれ、第1実施例に係る変倍光学系の広角端状態、望遠端状態における無限遠合焦時の諸収差図である。
第2実施例に係る変倍光学系のレンズ構成を示す図である。
図4(A)、図4(B)はそれぞれ、第2実施例に係る変倍光学系の広角端状態、望遠端状態における無限遠合焦時の諸収差図である。
第3実施例に係る変倍光学系のレンズ構成を示す図である。
図6(A)、図6(B)はそれぞれ、第3実施例に係る変倍光学系の広角端状態、望遠端状態における無限遠合焦時の諸収差図である。
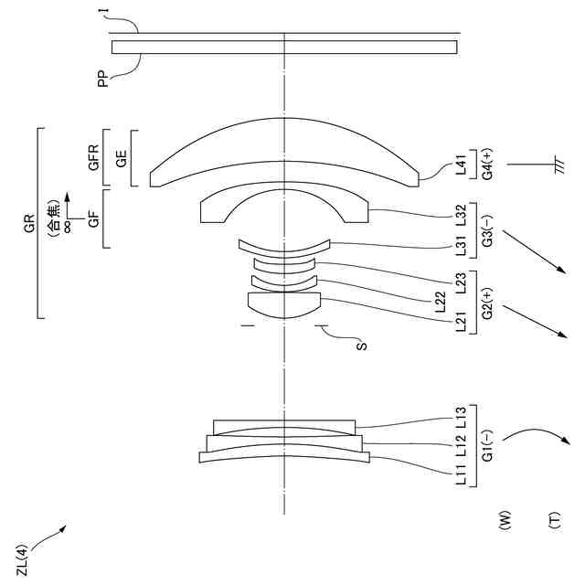
第4実施例に係る変倍光学系のレンズ構成を示す図である。
図8(A)、図8(B)はそれぞれ、第4実施例に係る変倍光学系の広角端状態、望遠端状態における無限遠合焦時の諸収差図である。
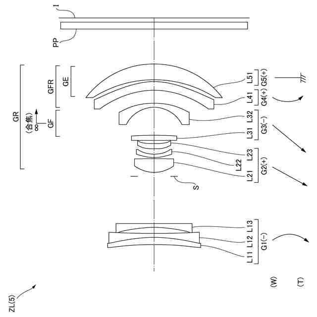
第5実施例に係る変倍光学系のレンズ構成を示す図である。
図10(A)、図10(B)はそれぞれ、第5実施例に係る変倍光学系の広角端状態、望遠端状態における無限遠合焦時の諸収差図である。
第6実施例に係る変倍光学系のレンズ構成を示す図である。
図12(A)、図12(B)はそれぞれ、第6実施例に係る変倍光学系の広角端状態、望遠端状態における無限遠合焦時の諸収差図である。
第7実施例に係る変倍光学系のレンズ構成を示す図である。
図14(A)、図14(B)はそれぞれ、第7実施例に係る変倍光学系の広角端状態、望遠端状態における無限遠合焦時の諸収差図である。
第8実施例に係る変倍光学系のレンズ構成を示す図である。
図16(A)、図16(B)はそれぞれ、第8実施例に係る変倍光学系の広角端状態、望遠端状態における無限遠合焦時の諸収差図である。
第9実施例に係る変倍光学系のレンズ構成を示す図である。
図18(A)、図18(B)はそれぞれ、第9実施例に係る変倍光学系の広角端状態、望遠端状態における無限遠合焦時の諸収差図である。
第10実施例に係る変倍光学系のレンズ構成を示す図である。
図20(A)、図20(B)はそれぞれ、第10実施例に係る変倍光学系の広角端状態、望遠端状態における無限遠合焦時の諸収差図である。
第11実施例に係る変倍光学系のレンズ構成を示す図である。
図22(A)、図22(B)はそれぞれ、第11実施例に係る変倍光学系の広角端状態、望遠端状態における無限遠合焦時の諸収差図である。
各実施形態に係る変倍光学系を備えたカメラの構成を示す図である。
各実施形態に係る変倍光学系の製造方法を示すフローチャートである。
【発明を実施するための形態】
【0009】
以下、本発明に係る好ましい実施形態について説明する。まず、各実施形態に係る変倍光学系を備えたカメラ(光学機器)を図23に基づいて説明する。このカメラ1は、図23に示すように、本体2と、本体2に装着される撮影レンズ3により構成される。本体2は、撮像素子4と、デジタルカメラの動作を制御する本体制御部(不図示)と、液晶画面5とを備える。撮影レンズ3は、複数のレンズ群からなる変倍光学系ZLと、各レンズ群の位置を制御するレンズ位置制御機構(不図示)とを備える。レンズ位置制御機構は、レンズ群の位置を検出するセンサと、レンズ群を光軸に沿って前後に移動させるモータと、モータを駆動する制御回路などにより構成される。
【0010】
被写体からの光は、撮影レンズ3の変倍光学系ZLにより集光されて、撮像素子4の像面I上に到達する。像面Iに到達した被写体からの光は、撮像素子4により光電変換され、デジタル画像データとして不図示のメモリに記録される。メモリに記録されたデジタル画像データは、ユーザの操作に応じて液晶画面5に表示することが可能である。なお、このカメラは、ミラーレスカメラでも、クイックリターンミラーを有した一眼レフタイプのカメラであっても良い。また、図23に示す変倍光学系ZLは、撮影レンズ3に備えられる変倍光学系を模式的に示したものであり、変倍光学系ZLのレンズ構成はこの構成に限定されるものではない。
(【0011】以降は省略されています)
この特許をJ-PlatPat(特許庁公式サイト)で参照する
関連特許
株式会社ニコン
撮像素子および撮像装置
3日前
株式会社ニコン
顕微鏡、方法、及びプログラム
13日前
株式会社ニコン
光学系、光学機器及び光学系の製造方法
14日前
株式会社ニコン
光学系、光学機器及び光学系の製造方法
14日前
株式会社ニコン
変倍光学系、光学機器、および変倍光学系の製造方法
13日前
株式会社ニコン
変倍光学系、光学機器、および変倍光学系の製造方法
13日前
株式会社ニコン
変倍光学系、光学機器、および変倍光学系の製造方法
13日前
株式会社ニコンビジョン
観察光学系、光学機器、および観察光学系の製造方法
1日前
株式会社ニコン
電子機器
15日前
株式会社ニコン
撮像素子
15日前
株式会社ニコン
撮像装置
3日前
株式会社ニコン
撮像装置
15日前
株式会社ニコン
交換レンズ
3日前
株式会社ニコン
光学系および光学機器
2日前
株式会社ニコン
カバー装置及び撮像装置
7日前
株式会社ニコン
レンズ鏡筒及び撮像装置
13日前
株式会社ニコン
装置及び構造物の製造方法
15日前
株式会社ニコン
変倍光学系および光学機器
1日前
株式会社ニコン
固体撮像素子及び撮像装置
2日前
株式会社ニコン
変倍光学系および光学機器
2日前
株式会社ニコン
眼科装置及び画像処理方法
28日前
株式会社ニコン
パルス光生成装置、パルス光生成方法及び加工装置
7日前
株式会社ニコン
診断支援装置、学習装置、診断支援方法、学習方法及びプログラム
7日前
カンタツ株式会社
光学系
24日前
日本精機株式会社
表示装置
29日前
日本精機株式会社
表示装置
29日前
キヤノン株式会社
映像表示装置
13日前
アイカ工業株式会社
反射防止フィルム
24日前
アイカ工業株式会社
反射防止フィルム
今日
インターマン株式会社
立体映像表示装置
13日前
日本精機株式会社
ヘッドアップディスプレイ
29日前
沖電気工業株式会社
光導波路素子
29日前
沖電気工業株式会社
光導波路素子
29日前
沖電気工業株式会社
光導波路素子
29日前
個人
透過型及び反射型顕微鏡
13日前
東レ株式会社
プラスチック光ファイバ
23日前
続きを見る
他の特許を見る