TOP
|
特許
|
意匠
|
商標
特許ウォッチ
Twitter
他の特許を見る
公開番号
2025137447
公報種別
公開特許公報(A)
公開日
2025-09-19
出願番号
2025029675
出願日
2025-02-27
発明の名称
立体映像表示装置
出願人
インターマン株式会社
代理人
主分類
G02B
30/60 20200101AFI20250911BHJP(光学)
要約
【課題】表示されたオブジェクトがあたかも実際にそこに存在するのと同様の臨場感が得られる立体映像表示装置を提供する。
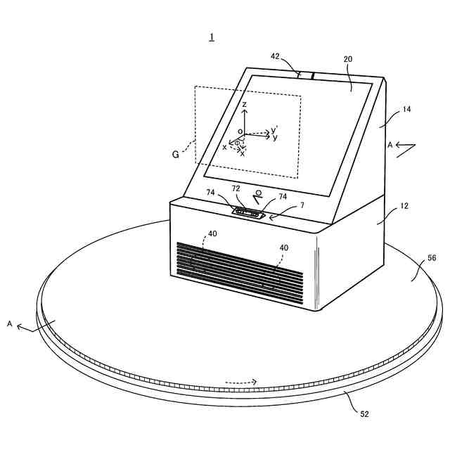
【解決手段】立体映像表示装置は、表示装置と、この表示装置を見ているユーザーの視点の位置を検出するカメラと、表示装置をその表示面を通る回転軸の周りに回転させる回転装置と含む。この回転装置は、ユーザーの視点の位置の移動に応じて、表示面からみた前記ユーザーの視点の向きが変化しないように、表示装置を回転させる。そして、実世界に対して不動となる世界座標系で定義された立体的なオブジェクトが表示装置に表示され、ユーザーの視点が移動した場合には、ユーザーの視点の方向から見たオブジェクトの画像を表示装置に表示する。
【選択図】図1
特許請求の範囲
【請求項1】
表示装置と、
前記表示装置の正面に設けられ、前記表示装置に向かい合って前記表示装置を見ているユーザーの視点の位置を検出するカメラと、
回転軸の周りに前記表示装置を回転させる回転装置と、
前記表示装置、前記カメラおよび前記回転装置に接続された情報処理装置であって、前記カメラから前記ユーザーの視点の位置を受信し、前記ユーザーの視点の位置の移動に応じて、前記表示面からみた前記ユーザーの視点の向きが変化しないように、前記回転装置の回転を制御することにより前記表示装置の向きを変化させる情報処理装置とを備え、
前記情報処理装置は、実世界に対して不動となる世界座標系で定義された立体的なオブジェクトを、前記表示装置に表示させ、
前記ユーザーの視点が移動した場合には、前記情報処理装置は、前記ユーザーの視点の方向から見た前記オブジェクトの画像を、前記表示装置に表示することを特徴とする立体映像表示装置。
続きを表示(約 150 文字)
【請求項2】
前記表示装置は、空中に二次元像を表示することのできる空中映像表示装置であることを特徴とする請求項1に記載の立体映像表示装置。
【請求項3】
前記表示装置は、再帰透過型の光学結像素子を用いた空中映像表示装置であることを特徴とする請求項2に記載の立体映像表示装置。
発明の詳細な説明
【技術分野】
【0001】
本発明は、運動視差を効果的に活用した立体映像表示装置に関する。
続きを表示(約 1,700 文字)
【背景技術】
【0002】
空中映像表示装置とは、何もない空中に二次元像を表示する装置であり、立体視表示装置とは立体情報を表示する装置である。技術内容としては、両者は独立の概念であるが、空中映像表示装置で空中像として表示すると、周囲からは浮き上がっていることから立体感を感じることもできる。一方で、立体視表示された映像では、空中映像と同様の浮遊感が感じられることもある。
【0003】
単に立体視と言っても、そこには様々な要因が考慮される。代表的な要因の一つは両眼視差である。この両眼視差に反応する神経細胞は複数の視覚領域に存在することが明らかになっており、注視点と対象物の間の相対的な距離が計算される。これにより奥行きの情報を得ることができる。
【0004】
また、通常のディスプレイに表示した二次元像であっても、遠近法、物体の隠蔽関係、陰影、テクスチャなどの要因により前後位置関係や立体感を感じることもできる。すなわち、コンピュータの中に仮想的に3次元的に構築された空間を、視点を決め立体感のある映像として表現する。ディスプレイは2次元であっても、物体の奥行きを表現したり、影をつけたり、ハイライトをつけたりすることで、あたかも3次元の画像のように表現することが可能となる。
【先行技術文献】
【特許文献】
【0005】
特表2014-534656号公報
特開2017-135543号公報
特開2008-146221号公報
【発明の概要】
【発明が解決しようとする課題】
【0006】
立体視を実現する技術としては、両眼視差の利用の他に運動視差の利用もある。物体の動きや観察位置の移動によって、物体の見える範囲や物体間の相互位置が変化する。この視覚的な変化を運動視差と呼ぶ。この変化から物体間の前後位置関係や奥行き情報を得ることができる.
【0007】
例えば、3Dグラフィックスで2次元ディスプレイに表示した物体を、画面上で移動させたり回転させたりすると、より立体感が得られるが、これは運動視差によるものである。また、2次元映像に含まれる運動視差の情報から3次元の情報を得る技術も提案されている(特許文献1、2)。
【0008】
このような運動視差を映像表示に利用する方法として、ディスプレイに対するユーザーの視点の移動を検出し、このユーザーから見える映像を再現してディスプレイに表示することで立体視を感じさせる技術も提案されている(特許文献3など)。しかしながら、従来の運動視差を実装したディスプレイでは、ユーザーの視点の移動により表示画面を斜めから見ることになり、どうしても自然な立体感は得られない。
【0009】
そこで、本発明の目的は、運動視差をより効果的に利用することにより、空間にオブジェクトが実在するような自然な立体感が得られる立体映像表示装置を提供することである。
【課題を解決するための手段】
【0010】
上記課題を解決するために、本発明の1つの様相による立体映像表示装置は、表示装置と、前記表示装置の正面に設けられ、前記表示装置に向かい合って前記表示装置を見ているユーザーの視点の位置を検出するカメラと、前記表示装置が載置され、回転軸の周りに前記表示装置を回転させる回転装置と、前記表示装置、前記カメラおよび前記回転装置に接続された情報処理装置であって、前記カメラから前記ユーザーの視点の位置を受信し、前記ユーザーの視点の位置の移動に応じて、前記表示面からみた前記ユーザーの視点の向きが変化しないように、前記回転装置の回転を制御することにより前記表示装置の向きを変化させる情報処理装置とを備え、前記情報処理装置は、実世界に対して不動となる世界座標系で定義された立体的なオブジェクトを、前記表示装置に表示させ、前記ユーザーの視点が移動した場合には、前記情報処理装置は、前記ユーザーの視点の方向から見た前記オブジェクトの画像を、前記表示装置に表示することを特徴とする。
(【0011】以降は省略されています)
特許ウォッチbot のツイートを見る
この特許をJ-PlatPat(特許庁公式サイト)で参照する
関連特許
個人
立体像表示装置
今日
東レ株式会社
積層フィルム
6日前
東レ株式会社
赤外線遮蔽構成体
今日
東レ株式会社
貼合体の製造方法
今日
アイカ工業株式会社
反射防止フィルム
12日前
日本電気株式会社
光集積回路素子
4日前
スタンレー電気株式会社
照明装置
7日前
住友化学株式会社
偏光板
今日
日東電工株式会社
調光フィルム
5日前
住友化学株式会社
積層体
4日前
住友化学株式会社
偏光板
今日
旭化成株式会社
成形体
11日前
住友化学株式会社
偏光積層体
今日
旭化成株式会社
成形体
11日前
日本精機株式会社
ヘッドアップディスプレイ装置
5日前
日本分光株式会社
赤外顕微鏡
11日前
住友化学株式会社
光学積層体
今日
住友ベークライト株式会社
積層体の製造方法
5日前
キヤノン株式会社
レンズ装置および撮像装置
13日前
キヤノン株式会社
画像表示装置
11日前
キヤノン株式会社
レンズ装置および撮像装置
5日前
Orbray株式会社
MEMS光スイッチの制御方法
5日前
レーザーテック株式会社
検査装置及び検査方法
15日前
住友化学株式会社
偏光板及び画像表示装置
6日前
キヤノン株式会社
表示装置
18日前
古河電気工業株式会社
光モジュール、光接続構造
5日前
TDK株式会社
メタサーフェスレンズ
4日前
京セラ株式会社
走査装置及び制御装置
4日前
住友ベークライト株式会社
光学シート
4日前
京セラ株式会社
走査装置及び制御装置
4日前
日東電工株式会社
積層光学部材及び光学装置
4日前
キヤノン株式会社
光学系及び撮像装置
19日前
住友ベークライト株式会社
光学性積層体
4日前
日本カーバイド工業株式会社
微小球型再帰反射シート
4日前
住友ベークライト株式会社
光学性積層体
4日前
株式会社表面・界面工房
反射防止膜
今日
続きを見る
他の特許を見る