TOP
|
特許
|
意匠
|
商標
特許ウォッチ
Twitter
他の特許を見る
10個以上の画像は省略されています。
公開番号
2025138350
公報種別
公開特許公報(A)
公開日
2025-09-25
出願番号
2024037386
出願日
2024-03-11
発明の名称
光学系及び撮像装置
出願人
キヤノン株式会社
代理人
個人
,
個人
,
個人
主分類
G02B
13/00 20060101AFI20250917BHJP(光学)
要約
【課題】小型でありながら画質低下を抑制可能な光学系を提供すること。
【解決手段】光学系は、光軸方向に垂直な第1の方向に配列された第1及び第2の前群と、該第1及び第2の前群に対して共通の後群とを有する光学系であって、第1の前群と後群との間には第1の絞りが配置され、第2の前群と後群との間には第2の絞りが配置され、第1の絞りの開口中心を通過する第1の主光線及び第2の絞りの開口中心を通過する第2の主光線は、後群の光軸と像面との交点に導光され、無限遠合焦時において、後群に入射する直前の第1の主光線と光軸との第1の方向における距離、後群に入射する直前の第2の主光線と光軸との第1の方向における距離、後群の焦点距離を各々適切に設定すること。
【選択図】図1
特許請求の範囲
【請求項1】
光軸方向に垂直な第1の方向に配列された第1及び第2の前群と、該第1及び第2の前群に対して共通の後群とを有する光学系であって、
前記第1の前群と前記後群との間には第1の絞りが配置され、前記第2の前群と前記後群との間には第2の絞りが配置され、
前記第1の絞りの開口中心を通過する第1の主光線及び前記第2の絞りの開口中心を通過する第2の主光線は、前記後群の光軸と像面との交点に導光され、
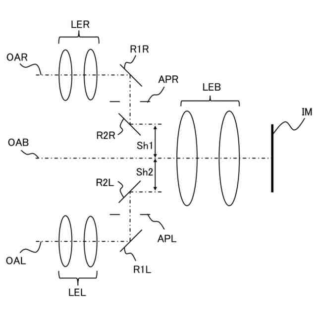
無限遠合焦時において、前記後群に入射する直前の前記第1の主光線と前記光軸との前記第1の方向における距離をSh1、前記後群に入射する直前の前記第2の主光線と前記光軸との前記第1の方向における距離をSh2、前記後群の焦点距離をfbとするとき、
0.06≦|Sh1/fb|≦0.50
0.06≦|Sh2/fb|≦0.50
なる条件式を満足することを特徴とする光学系。
続きを表示(約 610 文字)
【請求項2】
前記後群に入射する直前の前記第1の主光線、前記後群に入射する直前の前記第2の主光線、及び前記光軸は、互いに平行かつ非共軸であることを特徴とする請求項1に記載の光学系。
【請求項3】
前記後群は、正の屈折力を有することを特徴とする請求項1又は2に記載の光学系。
【請求項4】
前記第1及び第2の前群は、同一の光学系であることを特徴とする請求項1又は2に記載の光学系。
【請求項5】
前記第1及び第2の絞りは、前記後群の物体側に隣接して配置されることを特徴とする請求項1又は2に記載の光学系。
【請求項6】
前記光学系の光路内に中間像が形成されることを特徴とする請求項1又は2に記載の光学系。
【請求項7】
前記後群の物体側に中間像が形成されることを特徴とする請求項1又は2に記載の光学系。
【請求項8】
前記第1及び第2の前群の最も物体側のレンズは、負レンズであることを特徴とする請求項1又は2に記載の光学系。
【請求項9】
前記光学系の最も像側のレンズは、正レンズであることを特徴とする請求項1又は2に記載の光学系。
【請求項10】
フォーカシングに際して移動する光学素子を更に有することを特徴とする請求項1又は2に記載の光学系。
(【請求項11】以降は省略されています)
発明の詳細な説明
【技術分野】
【0001】
本発明は、光学系に関し、デジタルビデオカメラ、デジタルスチルカメラ、放送用カメラ、銀塩フィルム用カメラ、及び監視用カメラ等の撮像装置に好適なものである。
続きを表示(約 1,400 文字)
【背景技術】
【0002】
近年、バーチャルリアリティー等の臨場感を得られるコンテンツに用いられる映像を撮影するために、立体撮影可能な撮像装置が求められている。特に、ヒトに近い視差のついた2視点からの画像を撮影する立体映像撮影装置が求められている。
【0003】
特許文献1には、並列配置された前群と共通の後群とを備え、前群に対応する絞りを後群側に配置することで、一度の撮影で視差像を取得可能な構成が開示されている。
【先行技術文献】
【特許文献】
【0004】
特許第6280803号公報
【発明の概要】
【発明が解決しようとする課題】
【0005】
しかしながら、特許文献1の構成では、撮像素子に入射する光線角度に基づく光電変換部間のクロストークの影響が考慮されておらず、視差像それぞれの信号が混在し、画質低下が発生する。一方、クロストークの影響を抑制する構成を採用した場合、光学系が大型化したり、複雑化したりしてしまう。
【0006】
本発明は、小型でありながら画質低下を抑制可能な光学系を提供することを目的とする。
【課題を解決するための手段】
【0007】
本発明の一側面としての光学系は、光軸方向に垂直な第1の方向に配列された第1及び第2の前群と、該第1及び第2の前群に対して共通の後群とを有する光学系であって、第1の前群と後群との間には第1の絞りが配置され、第2の前群と後群との間には第2の絞りが配置され、第1の絞りの開口中心を通過する第1の主光線及び第2の絞りの開口中心を通過する第2の主光線は、後群の光軸と像面との交点に導光され、無限遠合焦時において、後群に入射する直前の第1の主光線と光軸との第1の方向における距離をSh1、後群に入射する直前の第2の主光線と光軸との第1の方向における距離をSh2、後群の焦点距離をfbとするとき、
0.06≦|Sh1/fb|≦0.50
0.06≦|Sh2/fb|≦0.50
なる条件式を満足することを特徴とする。
【発明の効果】
【0008】
本発明によれば、小型でありながら画質低下を抑制可能な光学系を提供することができる。
【図面の簡単な説明】
【0009】
本発明の実施形態に係る光学系を示す図である。
光学系を通過する光線を示す図である。
光学系の一部と像面上に配置された撮像素子とを示す図である。
光電変換部の出力信号と入射角度の関係性を示す図である。
光学系1の変形例を示す図である。
実施例1の光学系を示す図である。
実施例1の光学系の一部分を示す図である。
実施例2の光学系の一部分を示す図である。
実施例3の光学系の一部分を示す図である。
光学系の像面位置が変化した場合を示す図である。
光学系を含む撮像装置を示す図である。
【発明を実施するための形態】
【0010】
以下、本発明の実施例について、図面を参照しながら詳細に説明する。各図において、同一の部材については同一の参照番号を付し、重複する説明は省略する。
(【0011】以降は省略されています)
この特許をJ-PlatPat(特許庁公式サイト)で参照する
関連特許
キヤノン株式会社
定着装置
22日前
キヤノン株式会社
記録装置
14日前
キヤノン株式会社
電子機器
3日前
キヤノン株式会社
発光装置
6日前
キヤノン株式会社
表示装置
6日前
キヤノン株式会社
収容装置
7日前
キヤノン株式会社
定着装置
7日前
キヤノン株式会社
定着装置
22日前
キヤノン株式会社
電子機器
7日前
キヤノン株式会社
撮像装置
7日前
キヤノン株式会社
定着装置
13日前
キヤノン株式会社
撮像装置
13日前
キヤノン株式会社
電子機器
7日前
キヤノン株式会社
撮像装置
14日前
キヤノン株式会社
記録装置
15日前
キヤノン株式会社
撮像装置
15日前
キヤノン株式会社
電子機器
15日前
キヤノン株式会社
電子機器
1日前
キヤノン株式会社
定着装置
22日前
キヤノン株式会社
半導体装置
1日前
キヤノン株式会社
画像形成装置
3日前
キヤノン株式会社
画像形成装置
3日前
キヤノン株式会社
画像形成装置
3日前
キヤノン株式会社
画像形成装置
3日前
キヤノン株式会社
画像形成装置
22日前
キヤノン株式会社
画像形成装置
3日前
キヤノン株式会社
画像形成装置
3日前
キヤノン株式会社
画像形成装置
3日前
キヤノン株式会社
画像形成装置
3日前
キヤノン株式会社
画像形成装置
3日前
キヤノン株式会社
画像形成装置
3日前
キヤノン株式会社
画像形成装置
6日前
キヤノン株式会社
画像表示装置
21日前
キヤノン株式会社
画像形成装置
6日前
キヤノン株式会社
画像形成装置
6日前
キヤノン株式会社
画像形成装置
22日前
続きを見る
他の特許を見る