TOP
|
特許
|
意匠
|
商標
特許ウォッチ
Twitter
他の特許を見る
公開番号
2025132867
公報種別
公開特許公報(A)
公開日
2025-09-10
出願番号
2024030719
出願日
2024-02-29
発明の名称
画像形成装置
出願人
キヤノン株式会社
代理人
弁理士法人近島国際特許事務所
主分類
G03G
21/16 20060101AFI20250903BHJP(写真;映画;光波以外の波を使用する類似技術;電子写真;ホログラフイ)
要約
【課題】分割可能な複数の枠体を含む画像形成装置の提供。
【解決手段】画像形成装置は、分割可能な供給ブロック110、作像ブロック120、排出ブロック130の3つの構造体を備えている。これら供給ブロック110、作像ブロック120、排出ブロック130はそれぞれ、供給枠体、作像枠体、排出枠体を有し、各枠体内には各種ユニットや部品等が組み付けられている。こうすると、供給ブロック110、作像ブロック120、排出ブロック130毎にユニットや部品を組み付ければよく、装置本体の組立工数を大幅に削減でき、また装置本体の製品品質を向上できる。さらに、装置本体を供給ブロック110、作像ブロック120、排出ブロック130に分割して、供給枠体、作像枠体、排出枠体に新たな機能を実現するユニットを追加して組み付けることが簡単であることから、画像形成装置の機能を拡張するのが容易である。
【選択図】図2
特許請求の範囲
【請求項1】
記録材にトナー像を形成する画像形成装置であって、
第一枠体と、
記録材を搬送するための搬送ローラと、
記録材にトナー像を転写するための転写部と、
前記第一枠体と分割可能に前記第一枠体に装着された第二枠体と、
前記第一枠体から前記第二枠体に搬送された記録材を外部に排出する排出部と、を備え、
前記転写部の少なくとも一部、及び前記搬送ローラが、前記第一枠体に支持され、
前記排出部が、前記第二枠体に支持される、
ことを特徴とする画像形成装置。
続きを表示(約 1,200 文字)
【請求項2】
前記第一枠体に支持された感光体を備え、
前記転写部は前記感光体に形成されたトナー像を記録材に転写する、
ことを特徴とする請求項1に記載の画像形成装置。
【請求項3】
前記転写部は、
中間転写体と、
前記感光体から前記中間転写体へトナー像を転写する第一転写部と、
前記中間転写体から記録材にトナー像を転写させる第二転写部と、を有する、
ことを特徴とする請求項2に記載の画像形成装置。
【請求項4】
前記転写部は、前記中間転写体を張架する駆動ローラと従動ローラとを含み、
前記駆動ローラと前記従動ローラが、前記第一枠体に支持される、
ことを特徴とする請求項3に記載の画像形成装置。
【請求項5】
前記第一転写部は、前記感光体に形成されたトナー像を前記中間転写体に転写するための一次転写ローラを含み、
前記一次転写ローラが、前記第一枠体に支持される、
ことを特徴とする請求項3に記載の画像形成装置。
【請求項6】
前記転写部は、前記中間転写体を張架する駆動ローラと従動ローラとを含み、
前記第一転写部は、前記感光体に形成されたトナー像を前記中間転写体に転写するための一次転写ローラを含み、
前記駆動ローラ、前記従動ローラ、及び前記一次転写ローラが、前記第一枠体に支持される、
ことを特徴とする請求項3に記載の画像形成装置。
【請求項7】
前記中間転写体は、環状の中間転写ベルトを含み、
前記第二転写部は、前記中間転写ベルトの内側に配置された内ローラと、前記中間転写ベルトの外側に配置された外ローラとを含み、
前記内ローラ、及び前記外ローラによって、前記中間転写ベルトの上のトナー像が記録材に転写され、
前記内ローラが前記第一枠体に支持される、
ことを特徴とする請求項3に記載の画像形成装置。
【請求項8】
前記外ローラを支持し、前記第一枠体に対して開閉可能に回動する回動部を備える、
ことを特徴とする請求項7に記載の画像形成装置。
【請求項9】
前記第一枠体に支持され、前記回動部が閉位置にあるときに前記外ローラの位置を決めるローラ位置決め部を備える、
ことを特徴とする請求項8に記載の画像形成装置。
【請求項10】
前記搬送ローラは、前記第一枠体に支持された第一ローラと前記回動部に支持された第二ローラとからなるローラ対を含み、
前記第一枠体に支持され、前記回動部が閉位置にあるときに前記第二ローラの位置を決めるローラ位置決め部をさらに備える、
ことを特徴とする請求項8に記載の画像形成装置。
(【請求項11】以降は省略されています)
発明の詳細な説明
【技術分野】
【0001】
本発明は、プリンタ、複写機、ファクシミリあるいは複合機などの画像形成装置に関する。
続きを表示(約 1,700 文字)
【背景技術】
【0002】
従来の画像形成装置では、多数の板金を組み合わせてビス締結や溶接で一体化させることで、1つの本体枠体が形成されている(特許文献1)。そして、1つの本体枠体に各種ユニットが支持される。
【先行技術文献】
【特許文献】
【0003】
特開2021-39153号公報
【発明の概要】
【発明が解決しようとする課題】
【0004】
本願発明者らは、1つの本体枠体に各種ユニットなどを組み付ける従来技術には、課題があることを発見した。例えば、画像形成装置の機能を拡張することが困難である。画像形成装置の一部のユニットを、別の機能を持つユニットに交換したいことがある。しかし、従来のような1つの本体枠体は、特定のユニットを支持することを前提として設計されている。そのため、一部のユニットを別のユニットで置換することができない場合がほとんどである。また別の例として、ユーザの様々なニーズに応じて、互いに異なる仕様の複数の画像形成装置を提供したいことがある。1つの本体枠体を有する画像形成装置の場合、それぞれの仕様に合わせて本体枠体がゼロベースで設計される。これは、開発、設計、あるいは製造上の負担となっている。
【0005】
本発明は上記課題に鑑みてなされたもので、分割可能な複数の枠体を含む画像形成装置の提供を目的とする。
【課題を解決するための手段】
【0006】
本発明の一実施形態に係る画像形成装置は、記録材にトナー像を形成する画像形成装置であって、第一枠体と、記録材を搬送するための搬送ローラと、記録材にトナー像を転写するための転写部と、前記第一枠体と分割可能に前記第一枠体に装着された第二枠体と、前記第一枠体から前記第二枠体に搬送された記録材を外部に排出する排出部と、を備え、前記転写部の少なくとも一部、及び前記搬送ローラが、前記第一枠体に支持され、前記排出部が、前記第二枠体に支持される、ことを特徴とする。
【0007】
本発明の一実施形態に係る画像形成装置は、記録材にトナー像を形成する画像形成装置であって、第一枠体と、感光体と、前記感光体に形成されたトナー像を記録材に転写するための転写部と、前記第一枠体と分割可能に前記第一枠体に装着された第二枠体と、前記第一枠体から前記第二枠体へ搬送された記録材を外部に排出する排出部と、を備え、前記転写部の少なくとも一部、及び前記感光体が、前記第一枠体に支持され、前記排出部が、前記第二枠体に支持される、ことを特徴とする。
【0008】
本発明の一実施形態に係る画像形成装置は、インクにより記録材に画像を形成する画像形成装置であって、第一枠体と、前記第一枠体に支持され、記録材を搬送するための搬送ローラと、前記第一枠体に支持され、記録材に向けてインクを吐出する記録部と、前記第一枠体と分割可能に前記第一枠体に装着された第二枠体と、前記第二枠体に配置され、前記第一枠体から搬送された記録材を外部に排出する排出部と、を備える、ことを特徴とする。
【発明の効果】
【0009】
本発明によれば、分割可能な複数の枠体を含む画像形成装置を提供できる。
【図面の簡単な説明】
【0010】
画像形成装置の構成を示す概略図。
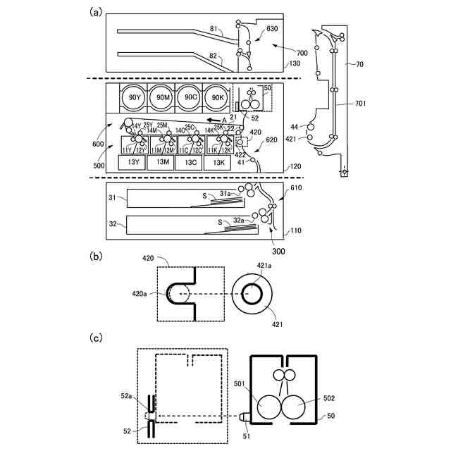
画像形成装置における、(a)分割構成を示す概略図、(b)レジストレーションローラの位置決めについて説明する概略図、(c)定着器の位置決めについて説明する概略図。
(a)排出枠体を示す模式図、(b)作像枠体を示す模式図、(c)供給枠体を示す模式図。
画像形成装置における、(a)分割構成を示す概略図、(b)レジストレーションローラの位置決めについて説明する概略図、(c)定着器の位置決めについて説明する概略図。
インクジェット方式の画像形成装置における分割構成を示す概略図。
【発明を実施するための形態】
(【0011】以降は省略されています)
この特許をJ-PlatPat(特許庁公式サイト)で参照する
関連特許
キヤノン株式会社
トナー
今日
キヤノン株式会社
トナー
今日
キヤノン株式会社
トナー
5日前
キヤノン株式会社
トナー
今日
キヤノン株式会社
トナー
1か月前
キヤノン株式会社
表示装置
12日前
キヤノン株式会社
電子機器
1か月前
キヤノン株式会社
電子機器
28日前
キヤノン株式会社
撮像装置
13日前
キヤノン株式会社
撮像装置
1日前
キヤノン株式会社
発光装置
12日前
キヤノン株式会社
定着装置
13日前
キヤノン株式会社
電子機器
13日前
キヤノン株式会社
電子機器
13日前
キヤノン株式会社
電子機器
7日前
キヤノン株式会社
記録装置
21日前
キヤノン株式会社
光学装置
1か月前
キヤノン株式会社
電子機器
21日前
キヤノン株式会社
撮像装置
21日前
キヤノン株式会社
撮像装置
1か月前
キヤノン株式会社
電子機器
9日前
キヤノン株式会社
撮像装置
20日前
キヤノン株式会社
撮像装置
1か月前
キヤノン株式会社
撮像装置
5日前
キヤノン株式会社
撮像装置
1か月前
キヤノン株式会社
撮像装置
1か月前
キヤノン株式会社
電子機器
1か月前
キヤノン株式会社
定着装置
19日前
キヤノン株式会社
撮像装置
19日前
キヤノン株式会社
記録装置
5日前
キヤノン株式会社
定着装置
28日前
キヤノン株式会社
現像装置
1か月前
キヤノン株式会社
電子機器
1か月前
キヤノン株式会社
定着装置
28日前
キヤノン株式会社
定着装置
28日前
キヤノン株式会社
記録装置
20日前
続きを見る
他の特許を見る