TOP
|
特許
|
意匠
|
商標
特許ウォッチ
Twitter
他の特許を見る
10個以上の画像は省略されています。
公開番号
2025142044
公報種別
公開特許公報(A)
公開日
2025-09-29
出願番号
2025119426,2023033776
出願日
2025-07-16,2018-07-27
発明の名称
交換レンズ
出願人
株式会社ニコン
代理人
個人
,
個人
,
個人
主分類
G03B
17/14 20210101AFI20250919BHJP(写真;映画;光波以外の波を使用する類似技術;電子写真;ホログラフイ)
要約
【課題】カメラボディに倍率色収差に関する情報を送信する交換レンズを提供する。
【解決手段】交換レンズは、カメラボディに装着可能な交換レンズであって、光学系の倍率色収差を表す第1関数の係数に関する係数情報を記憶する記憶部と、前記カメラボディに、前記係数情報と、前記光学系の撮影距離または焦点距離の少なくとも一方に関する状態情報とを送信する送信部とを備え、前記係数情報は、最短撮影距離の前記撮影距離に対する比を変数とする第2関数で近似される係数に関する第1情報、または、最短焦点距離の前記焦点距離に対する比を変数とする第3関数で近似される係数に関する第2情報、の少なくとも一方を含む。
【選択図】図1
特許請求の範囲
【請求項1】
カメラボディに装着可能な交換レンズであって、
光学系の倍率色収差を表す第1関数の係数に関する係数情報を記憶する記憶部と、
前記カメラボディに、前記係数情報と、前記光学系の撮影距離または焦点距離の少なくとも一方に関する状態情報とを送信する送信部と
を備え、
前記係数情報は、最短撮影距離の前記撮影距離に対する比を変数とする第2関数で近似される係数に関する第1情報、または、最短焦点距離の前記焦点距離に対する比を変数とする第3関数で近似される係数に関する第2情報、の少なくとも一方を含む、交換レンズ。
続きを表示(約 820 文字)
【請求項2】
前記送信部は、前記カメラボディ側で撮影に関する操作が行われると、前記カメラボディに前記状態情報を送信する、請求項1に記載の交換レンズ。
【請求項3】
前記送信部は、前記第1情報または前記第2情報の少なくとも一方を前記カメラボディに送信した後に、前記カメラボディに前記状態情報を送信する、請求項1または請求項2に記載の交換レンズ。
【請求項4】
前記状態情報は、正規化された値である、請求項1から請求項3のいずれか一項に記載の交換レンズ。
【請求項5】
前記第1関数は、像面における光軸からの距離に関する情報を変数とする、請求項1から請求項4のいずれか一項に記載の交換レンズ。
【請求項6】
前記第1関数は、像高の最大像高に対する比である像高比を変数とする、請求項1から請求項5のいずれか一項に記載の交換レンズ。
【請求項7】
前記第1関数は、前記像高比の3次の項と、前記像高比の2次の項と、定数項の少なくとも1つ以上を用いて、互いに異なる色成分の像の位置の比を表す、請求項6に記載の交換レンズ。
【請求項8】
前記記憶部は、前記係数情報として、前記3次の項の係数と、前記2次の項の係数と、前記定数項の定数のうち少なくとも1つ以上を記憶する、請求項7に記載の交換レンズ。
【請求項9】
前記記憶部は、前記第1情報と前記第2情報との両方を記憶し、
前記送信部は、前記カメラボディに前記第1情報と前記第2情報との両方を送信する、請求項1から請求項8のいずれか一項に記載の交換レンズ。
【請求項10】
前記第1情報は、前記第2関数の、前記最短撮影距離の前記撮影距離に対する比の係数を含む、請求項1から請求項9のいずれか一項に記載の交換レンズ。
(【請求項11】以降は省略されています)
発明の詳細な説明
【技術分野】
【0001】
本発明は、交換レンズに関する。
続きを表示(約 1,700 文字)
【背景技術】
【0002】
画像データから倍率色収差による色ずれを検出して、色ずれを補正する撮像装置が知られている(特許文献1)。しかし、絵柄によって画像データから色ずれを検出できない場合や誤検出が生じて補正が正しく行われず、画像の画質が低下する場合がある。
【先行技術文献】
【特許文献】
【0003】
特開2012-23532号公報
【発明の概要】
【0004】
本発明の第1の態様によると、交換レンズは、カメラボディに装着可能な交換レンズであって、光学系の倍率色収差を表す第1関数の係数に関する係数情報を記憶する記憶部と、前記カメラボディに、前記係数情報と、前記光学系の撮影距離または焦点距離の少なくとも一方に関する状態情報とを送信する送信部とを備え、前記係数情報は、最短撮影距離の前記撮影距離に対する比を変数とする第2関数で近似される係数に関する第1情報、または、最短焦点距離の前記焦点距離に対する比を変数とする第3関数で近似される係数に関する第2情報、の少なくとも一方を含む。
【図面の簡単な説明】
【0005】
第1の実施の形態に係る撮像装置の構成を示すブロック図である。
倍率色収差によって生じる色ずれ量の一例を示す図である。
倍率色収差を表す関数の一例を示す図である。
倍率色収差を表す関数の係数を示す表である。
倍率色収差を表す関数の係数を示す表である。
倍率色収差を表す関数の係数を近似する曲面を模式的に示す図である。
第1の実施の形態に係る撮像装置の動作例を示したフローチャートである。
【発明を実施するための形態】
【0006】
(第1の実施の形態)
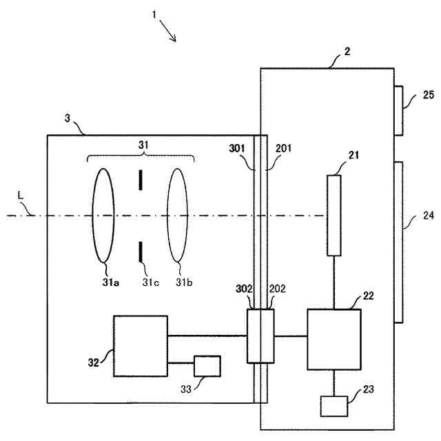
図1は、第1の実施の形態に係る撮像装置の一例であるカメラ1の構成例を示す図である。カメラ1は、カメラボディ2と取り付け可能なアクセサリである交換レンズ3とにより構成される。
【0007】
カメラボディ2には、交換レンズ3が取り付けられるボディ側マウント部201が設けられる。交換レンズ3には、カメラボディ2に取り付けられるレンズ側マウント部301が設けられる。レンズ側マウント部301及びボディ側マウント部201には、それぞれレンズ側接続部302、ボディ側接続部202が設けられる。レンズ側接続部302及びボディ側接続部202には、それぞれクロック信号用の端子やデータ信号用の端子、電源供給用の端子等の複数の端子が設けられている。交換レンズ3は、レンズ側マウント部301により、カメラボディ2のボディ側マウント部201に着脱可能に装着される。なお、カメラ1は、カメラボディ2とレンズ部3とが一体的に構成されたカメラ(レンズ固定式カメラ)であってもよい。
【0008】
カメラボディ2に交換レンズ3が装着されると、ボディ側接続部202に設けられた端子とレンズ側接続部302に設けられた端子とが電気的に接続される。これにより、カメラボディ2から交換レンズ3への電力供給や、カメラボディ2及び交換レンズ3間の通信が可能となる。
【0009】
交換レンズ3は、撮影光学系(結像光学系)31と、レンズ制御部32と、レンズメモリ33とを備える。交換レンズ3は、例えばズームレンズである。撮影光学系31は、焦点距離を変更するレンズ(変倍レンズ)31aやフォーカスレンズ(焦点調節レンズ)31bを含む複数のレンズと絞り31cとを含み、撮像素子21の撮像面上に被写体像を結像する。
【0010】
レンズ制御部32は、CPUやFPGA、ASIC等のプロセッサ、ROMやRAM等のメモリによって構成され、制御プログラムに基づいて交換レンズ3の各部を制御する。レンズ制御部32は、カメラボディ2のボディ制御部22からボディ側接続部202とレンズ側接続部302とを介して入力される信号に基づいて、レンズ31a、フォーカスレンズ31b、及び絞り31cを駆動制御する。
(【0011】以降は省略されています)
この特許をJ-PlatPat(特許庁公式サイト)で参照する
関連特許
株式会社ニコン
撮像装置
4日前
株式会社ニコン
変倍光学系
9日前
株式会社ニコン
レンズ鏡筒
11日前
株式会社ニコン
撮像素子及び撮像装置
12日前
株式会社ニコン
測定システム、及び測定方法
4日前
株式会社ニコン
焦点検出装置および撮像素子
12日前
株式会社ニコン
撮像ユニットおよび撮像装置
20日前
株式会社ニコン
システム、情報処理装置、及びプログラム
4日前
株式会社ニコン
光学系、光学機器および光学系の製造方法
9日前
株式会社ニコン
変倍光学系、光学機器、および変倍光学系の製造方法
9日前
株式会社ニコン
変倍光学系、光学機器、および変倍光学系の製造方法
12日前
株式会社ニコン
変倍光学系、光学機器、および変倍光学系の製造方法
20日前
株式会社ニコン
画像処理方法、画像処理装置、及び画像処理プログラム
4日前
株式会社ニコン
画像処理方法、画像処理装置、及び画像処理プログラム
20日前
個人
表示装置
11日前
個人
雨用レンズカバー
9日前
株式会社シグマ
絞りユニット
1か月前
キヤノン株式会社
撮像装置
2日前
キヤノン株式会社
撮像装置
2日前
日本精機株式会社
車両用投射装置
17日前
キヤノン株式会社
撮像装置
1か月前
キヤノン株式会社
撮像装置
1か月前
キヤノン株式会社
撮像装置
2日前
平和精機工業株式会社
雲台
2か月前
キヤノン株式会社
撮像装置
1か月前
株式会社リコー
画像形成装置
1か月前
株式会社リコー
画像形成装置
2か月前
株式会社リコー
画像形成装置
1か月前
株式会社リコー
画像形成装置
2か月前
株式会社リコー
画像形成装置
27日前
株式会社リコー
画像形成装置
2か月前
キヤノン株式会社
画像形成装置
1か月前
キヤノン株式会社
画像形成装置
12日前
キヤノン株式会社
画像形成装置
2か月前
キヤノン株式会社
トナー
5日前
キヤノン株式会社
トナー
1か月前
続きを見る
他の特許を見る