TOP
|
特許
|
意匠
|
商標
特許ウォッチ
Twitter
他の特許を見る
10個以上の画像は省略されています。
公開番号
2025159229
公報種別
公開特許公報(A)
公開日
2025-10-17
出願番号
2025138625,2024102040
出願日
2025-08-22,2021-12-02
発明の名称
変倍光学系
出願人
株式会社ニコン
代理人
個人
,
個人
主分類
G02B
15/20 20060101AFI20251009BHJP(光学)
要約
【課題】小型化、軽量化を図ることができるとともに、高い光学性能を有する変倍光学系を提供する。
【解決手段】カメラ1等の光学機器に用いられる変倍光学系ZLは、最も物体側に配置された正の屈折力を有する第1レンズ群G1と、第2レンズ群G2と、後群GLとからなり、変倍の際に各レンズ群の間隔が変化し、第1レンズ群G1は、最も物体側に正レンズL11を有し、後群GLは、物体側から順に、正レンズ群と、正レンズ群と、負レンズ群と、を有し、後群GL内に開口絞りSを有し、開口絞りSより像面側の少なくとも一部は、合焦の際に光軸方向に移動する合焦群Gfであり、合焦群Gfは、物体側から順に、正レンズと、負レンズとからなり、所定の条件を満足する。
【選択図】図1
特許請求の範囲
【請求項1】
最も物体側に配置された正の屈折力を有する第1レンズ群と、
第2レンズ群と、
後群とからなり、
変倍の際に各レンズ群の間隔が変化し、
前記第1レンズ群は、最も物体側に正レンズを有し、
前記後群は、物体側から順に、正レンズ群と、正レンズ群と、負レンズ群と、を有し、
前記後群内に絞りを有し、
前記絞りより像面側の少なくとも一部は、合焦の際に光軸方向に移動する合焦群であり、
前記合焦群は、物体側から順に、正レンズと、負レンズとからなり、
次式の条件を満足する
変倍光学系。
0.30 < D1MAX/G1d < 0.70
0.064 < D1MAX/f1 < 0.140
0.005 < Gfd/TLt < 0.015
但し、
D1MAX:前記第1レンズ群内の光軸上の最大空気間隔
G1d:前記第1レンズ群の光軸上の厚さ
f1:前記第1レンズ群の焦点距離
Gfd:前記合焦群の光軸上の厚さ
TLt:前記変倍光学系の望遠端状態における光学全長
発明の詳細な説明
【技術分野】
【0001】
本発明は、変倍光学系に関する。
続きを表示(約 2,500 文字)
【背景技術】
【0002】
近年、望遠変倍光学系において、鏡筒を小型化、軽量化することが求められている(特許文献1参照)。しかしながら、特許文献1に記載の光学系は、さらなる光学性能の向上が要望されている。
【先行技術文献】
【特許文献】
【0003】
特開2016-080824号公報
【発明の概要】
【0004】
本発明の第一の態様に係る変倍光学系は、最も物体側に配置された正の屈折力を有する第1レンズ群と、第2レンズ群と、後群とからなり、変倍の際に各レンズ群の間隔が変化し、前記第1レンズ群は、最も物体側に正レンズを有し、前記後群は、物体側から順に、正レンズ群と、正レンズ群と、負レンズ群と、を有し、前記後群内に絞りを有し、前記絞りより像面側の少なくとも一部は、合焦の際に光軸方向に移動する合焦群であり、前記合焦群は、物体側から順に、正レンズと、負レンズとからなり、次式の条件を満足する。
0.30 < D1MAX/G1d < 0.70
0.064 < D1MAX/f1 < 0.140
0.005 < Gfd/TLt < 0.015
但し、
D1MAX:前記第1レンズ群内の光軸上の最大空気間隔
G1d:前記第1レンズ群の光軸上の厚さ
f1:前記第1レンズ群の焦点距離
Gfd:前記合焦群の光軸上の厚さ
TLt:前記変倍光学系の望遠端状態における光学全長
【図面の簡単な説明】
【0005】
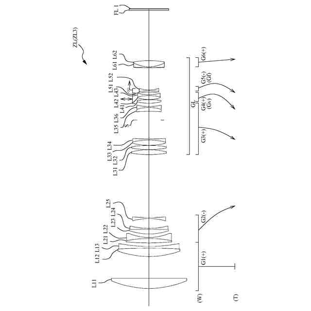
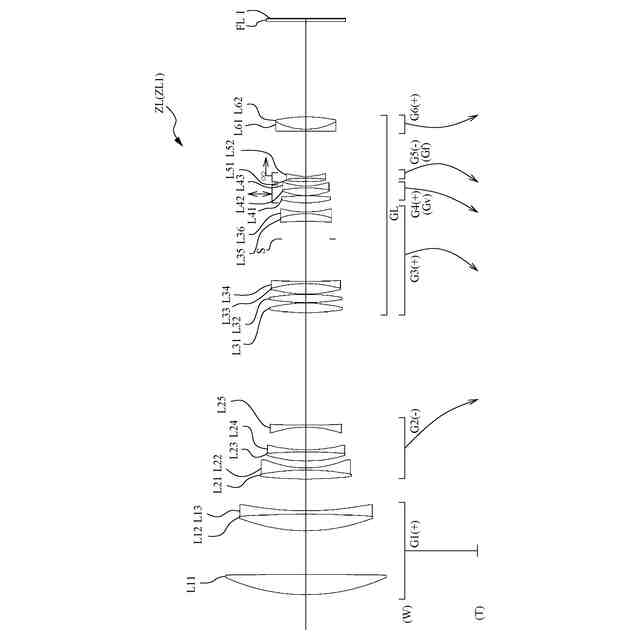
第1実施例に係る変倍光学系の広角端状態における無限遠合焦状態でのレンズ構成を示す断面図である。
第1実施例に係る変倍光学系の無限遠合焦状態での諸収差図であって、(a)は広角端状態を示し、(b)は望遠端状態を示す。
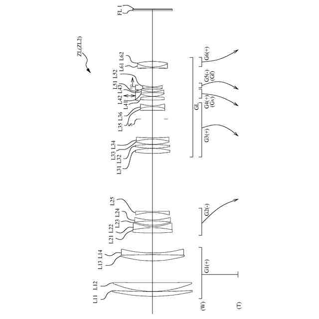
第2実施例に係る変倍光学系の広角端状態における無限遠合焦状態でのレンズ構成を示す断面図である。
第2実施例に係る変倍光学系の無限遠合焦状態での諸収差図であって、(a)は広角端状態を示し、(b)は望遠端状態を示す。
第3実施例に係る変倍光学系の広角端状態における無限遠合焦状態でのレンズ構成を示す断面図である。
第3実施例に係る変倍光学系の無限遠合焦状態での諸収差図であって、(a)は広角端状態を示し、(b)は望遠端状態を示す。
第4実施例に係る変倍光学系の広角端状態における無限遠合焦状態でのレンズ構成を示す断面図である。
第4実施例に係る変倍光学系の無限遠合焦状態での諸収差図であって、(a)は広角端状態を示し、(b)は望遠端状態を示す。
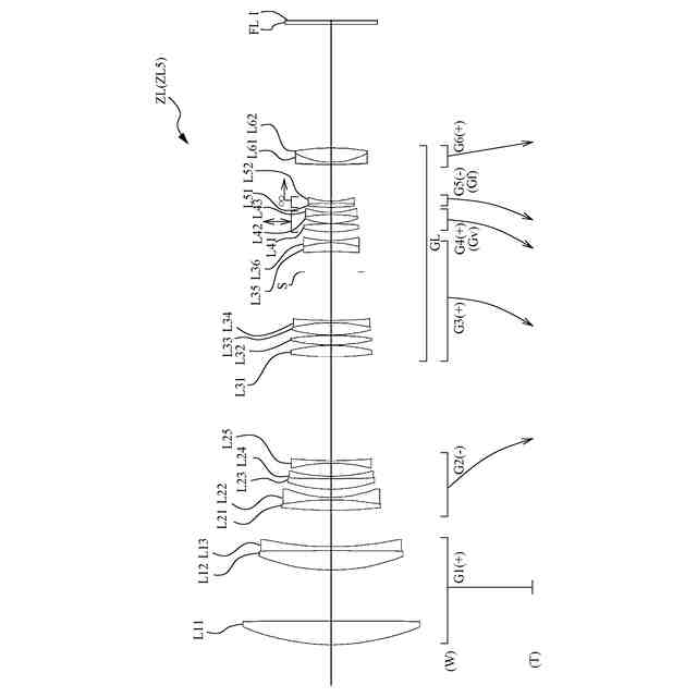
第5実施例に係る変倍光学系の広角端状態における無限遠合焦状態でのレンズ構成を示す断面図である。
第5実施例に係る変倍光学系の無限遠合焦状態での諸収差図であって、(a)は広角端状態を示し、(b)は望遠端状態を示す。
第6実施例に係る変倍光学系の広角端状態における無限遠合焦状態でのレンズ構成を示す断面図である。
第6実施例に係る変倍光学系の無限遠合焦状態での諸収差図であって、(a)は広角端状態を示し、(b)は望遠端状態を示す。
第7実施例に係る変倍光学系の広角端状態における無限遠合焦状態でのレンズ構成を示す断面図である。
第7実施例に係る変倍光学系の無限遠合焦状態での諸収差図であって、(a)は広角端状態を示し、(b)は望遠端状態を示す。
第8実施例に係る変倍光学系の広角端状態における無限遠合焦状態でのレンズ構成を示す断面図である。
第8実施例に係る変倍光学系の無限遠合焦状態での諸収差図であって、(a)は広角端状態を示し、(b)は望遠端状態を示す。
上記変倍光学系を搭載するカメラの断面図である。
上記変倍光学系の製造方法を説明するためのフローチャートである。
【発明を実施するための形態】
【0006】
以下、好ましい実施形態について図面を参照して説明する。
【0007】
(第1の実施形態)
第1の実施形態に係る変倍光学系ZLは、図1に示すように、最も物体側に配置された正の屈折力を有する第1レンズ群G1と、第2レンズ群G2と、後群GLと、を有し、変倍の際に各レンズ群の間隔が変化する。また、この変倍光学系ZLにおいて、第1レンズ群G1は、最も物体側に正レンズ(例えば、図1の例では、両凸正レンズL11)を有している。このように構成することにより、光学性能を確保しつつ、変倍光学系ZLを小型化、軽量化することができる。
【0008】
また、第1の実施形態に係る変倍光学系ZLは、以下に示す条件式(1)を満足することが望ましい。
【0009】
0.30 < D1MAX/G1d < 0.70 (1)
但し、
D1MAX:第1レンズ群G1内の光軸上の最大空気間隔
G1d:第1レンズ群G1の光軸上の厚さ
【0010】
条件式(1)は、第1レンズ群G1内の最大空気間隔と第1レンズ群G1の光軸上の厚さとの比を規定するものである。この条件式(1)の上限値を上回ると、第1レンズ群G1の光軸上の厚さが厚くなりすぎるため、球面収差、軸上色収差、倍率色収差等の補正が困難となり好ましくない。なお、条件式(1)の効果を確実なものとするために、条件式(1)の上限値を0.68、0.65、0.63、0.60、0.58、更に0.55とすることがより望ましい。また、条件式(1)の下限値を下回ると、小型化、軽量化には不利となり、小型化、軽量化しようとすると、球面収差、コマ収差、像面湾曲等の補正が困難となるため好ましくない。なお、条件式(1)の効果を確実なものとするために、条件式(1)の下限値を0.33、更に0.35とすることがより望ましい。
(【0011】以降は省略されています)
この特許をJ-PlatPat(特許庁公式サイト)で参照する
関連特許
株式会社ニコン
撮像素子
20日前
株式会社ニコン
撮像素子
12日前
株式会社ニコン
撮像装置
28日前
株式会社ニコン
撮像素子
14日前
株式会社ニコン
撮像装置
22日前
株式会社ニコン
レンズ鏡筒
1か月前
株式会社ニコン
変倍光学系
1か月前
株式会社ニコン
カメラボディ
22日前
株式会社ニコン
撮像素子及び撮像装置
1か月前
株式会社ニコン
光学系および光学機器
22日前
株式会社ニコン
撮像素子および撮像装置
1日前
株式会社ニコン
撮像素子および撮像装置
14日前
株式会社ニコン
撮像素子および撮像装置
12日前
株式会社ニコン
眼科装置及び眼科撮影方法
14日前
株式会社ニコン
眼科用光学系及び眼科装置
1日前
株式会社ニコン
測定システム、及び測定方法
28日前
株式会社ニコン
焦点検出装置および撮像素子
1か月前
株式会社ニコン
加工システム及び検査システム
20日前
株式会社ニコン
リレー光学系、及びアタッチメント
1日前
株式会社ニコン
システム、情報処理装置、及びプログラム
28日前
株式会社ニコン
光学系、光学機器および光学系の製造方法
1か月前
株式会社ニコン
変倍光学系、光学機器、および変倍光学系の製造方法
1か月前
株式会社ニコン
変倍光学系、光学機器、および変倍光学系の製造方法
1か月前
株式会社ニコン
画像処理方法、画像処理装置、及び画像処理プログラム
28日前
株式会社ニコン
画像処理方法、画像処理装置、及び画像処理プログラム
1か月前
株式会社ニコン
フォトマスク用基板の製造方法、フォトマスクブランクスの製造方法、フォトマスクの製造方法、フォトマスク用基板の再利用方法、フォトマスク用基板、フォトマスクブランクス、フォトマスク、石英ガラス基板の加工装置
15日前
株式会社ニコン
フッ化バリウム焼結体、フッ化ランタンドープフッ化バリウム焼結体、フッ化バリウム粒子の製造方法、フッ化バリウム焼結体の製造方法、フッ化ランタンドープフッ化バリウム粒子の製造方法、フッ化ランタンドープフッ化バリウム焼結体の製造方法、光学素子、光学系、交換レンズおよび光学装置
14日前
個人
立体像表示装置
1か月前
住友化学株式会社
偏光板
1か月前
カンタツ株式会社
光学系
28日前
株式会社シグマ
結像光学系
22日前
株式会社シグマ
結像光学系
12日前
住友化学株式会社
垂直偏光板
1か月前
東レ株式会社
赤外線遮蔽構成体
1か月前
東レ株式会社
貼合体の製造方法
1か月前
日本精機株式会社
ミラーユニット
21日前
続きを見る
他の特許を見る