TOP
|
特許
|
意匠
|
商標
特許ウォッチ
Twitter
他の特許を見る
10個以上の画像は省略されています。
公開番号
2025143519
公報種別
公開特許公報(A)
公開日
2025-10-01
出願番号
2025120184,2024013917
出願日
2025-07-17,2020-12-02
発明の名称
変倍光学系および光学機器
出願人
株式会社ニコン
代理人
個人
,
個人
,
個人
,
個人
主分類
G02B
15/20 20060101AFI20250924BHJP(光学)
要約
【課題】合焦の際の画角変動を抑えることが可能な変倍光学系を提供する。
【解決手段】変倍光学系ZLは、光軸に沿って物体側から順に並んだ、負の屈折力を有する先行レンズ群GAと、正の屈折力を有する後続レンズ群GBとからなり、先行レンズ群GAは、負の第1レンズ群G1からなり、後続レンズ群GBは、正の第2レンズ群G2と、正の第3レンズ群G3と、正の第4レンズ群G4と、負の第5レンズ群G5とからなる。第2レンズ群G2は、合焦群であり、第3~第5レンズ群G3-G5は合焦群より像側に配置された像側群である。第1レンズ群G1は、4枚のレンズから構成され、後続レンズ群は、条件式75.0<νdを満足するレンズを少なくとも1枚有する。この変倍光学系は、さらに以下の条件式を満足する。1.80<fF/fBaw FNоw<3.40
-5.50<(rL2R2+rL2R1)/(rL2R2-rL2R1)<-1.50
【選択図】図7
特許請求の範囲
【請求項1】
光軸に沿って物体側から順に並んだ、負の屈折力を有する先行レンズ群と、正の屈折力を有する後続レンズ群とからなり、
前記先行レンズ群は、負の屈折力を有する第1レンズ群からなり、
前記後続レンズ群は、物体側から順に、正の屈折力を有する第2レンズ群と、正の屈折力を有する第3レンズ群と、正の屈折力を有する第4レンズ群と、負の屈折力を有する第5レンズ群とからなり、
前記第2レンズ群は、合焦の際に移動する合焦群であり、
前記第3レンズ群と、前記第4レンズ群と、前記第5レンズ群とは前記合焦群より像側に配置された像側群であり、
変倍の際、前記先行レンズ群と前記後続レンズ群との間隔が変化し、前記後続レンズ群における隣り合う各レンズ群の間隔が変化し、
無限遠物体から近距離物体への合焦の際、前記合焦群が光軸に沿って像側へ移動し、
前記第1レンズ群は、4枚のレンズから構成され、
前記後続レンズ群は、以下の条件式を満足するレンズを少なくとも1枚有し、
75.0<νd
但し、νd:前記レンズのアッベ数
さらに以下の条件式を満足する変倍光学系。
1.80<fF/fBaw
FNоw<3.40
-5.50<(rL2R2+rL2R1)/(rL2R2-rL2R1)<-1.50
但し、fF:前記合焦群の焦点距離
fBaw:前記後続レンズ群において前記合焦群から像側に配置されたレンズで構成されるレンズ群の広角端状態における焦点距離
FNоw:広角端状態における前記変倍光学系のFナンバー
rL2R1:前記変倍光学系の物体側から数えて2番目に配置されたレンズにおける物体側のレンズ面の曲率半径
rL2R2:前記変倍光学系の物体側から数えて2番目に配置されたレンズにおける像側のレンズ面の曲率半径
続きを表示(約 3,000 文字)
【請求項2】
光軸に沿って物体側から順に並んだ、負の屈折力を有する先行レンズ群と、正の屈折力を有する後続レンズ群とからなり、
前記先行レンズ群は、負の屈折力を有する第1レンズ群からなり、
前記後続レンズ群は、物体側から順に、正の屈折力を有する第2レンズ群と、正の屈折力を有する第3レンズ群と、負の屈折力を有する第4レンズ群とからなり、前記第2レンズ群は合焦の際に移動する合焦群であり、前記第3レンズ群と、前記第4レンズ群とは前記合焦群より像側に配置された像側群であり、
または、前記後続レンズ群は、物体側から順に、1つの接合レンズから構成され正の屈折力を有する第2レンズ群と、正の屈折力を有する第3レンズ群と、負の屈折力を有する第4レンズ群と、正の屈折力を有する第5レンズ群と、負の屈折力を有する第6レンズ群とからなり、前記第2レンズ群は合焦の際に移動する合焦群であり、前記第3レンズ群と、前記第4レンズ群と、前記第5レンズ群と、前記第6レンズ群とは前記合焦群より像側に配置された像側群であり、
変倍の際、前記先行レンズ群と前記後続レンズ群との間隔が変化し、前記後続レンズ群における隣り合う各レンズ群の間隔が変化し、
無限遠物体から近距離物体への合焦の際、前記合焦群が光軸に沿って像側へ移動し、
前記後続レンズ群は、以下の条件式を満足するレンズを少なくとも1枚有し、
75.0<νd
但し、νd:前記レンズのアッベ数
さらに以下の条件式を満足する変倍光学系。
1.80<fF/fBaw
FNоw<3.40
-5.50<(rL2R2+rL2R1)/(rL2R2-rL2R1)<-1.50
但し、fF:前記合焦群の焦点距離
fBaw:前記後続レンズ群において前記合焦群から像側に配置されたレンズで構成されるレンズ群の広角端状態における焦点距離
FNоw:広角端状態における前記変倍光学系のFナンバー
rL2R1:前記変倍光学系の物体側から数えて2番目に配置されたレンズにおける物体側のレンズ面の曲率半径
rL2R2:前記変倍光学系の物体側から数えて2番目に配置されたレンズにおける像側のレンズ面の曲率半径
【請求項3】
光軸に沿って物体側から順に並んだ、負の屈折力を有する先行レンズ群と、正の屈折力を有する後続レンズ群とからなり、
前記先行レンズ群は、負の屈折力を有する第1レンズ群からなり、
前記後続レンズ群は、物体側から順に、正の屈折力を有する第2レンズ群と、負の屈折力を有する第3レンズ群と、正の屈折力を有する第4レンズ群と、負の屈折力を有する第5レンズ群とからなり、
前記第2レンズ群のうち物体側に配置された2枚のレンズは合焦の際に移動する合焦群であり、
前記第2レンズ群のうち前記2枚のレンズより像側のレンズと、前記第3レンズ群と、
前記第4レンズ群と、前記第5レンズ群とは前記合焦群より像側に配置された像側群であり、
変倍の際、前記先行レンズ群と前記後続レンズ群との間隔が変化し、前記後続レンズ群における隣り合う各レンズ群の間隔が変化し、
無限遠物体から近距離物体への合焦の際、前記合焦群が光軸に沿って像側へ移動し、
前記後続レンズ群は、以下の条件式を満足するレンズを少なくとも1枚有し、
75.0<νd
但し、νd:前記レンズのアッベ数
さらに以下の条件式を満足する変倍光学系。
1.80<fF/fBaw
FNоw<3.40
-5.50<(rL2R2+rL2R1)/(rL2R2-rL2R1)<-1.50
但し、fF:前記合焦群の焦点距離
fBaw:前記後続レンズ群において前記合焦群から像側に配置されたレンズで構成されるレンズ群の広角端状態における焦点距離
FNоw:広角端状態における前記変倍光学系のFナンバー
rL2R1:前記変倍光学系の物体側から数えて2番目に配置されたレンズにおける物体側のレンズ面の曲率半径
rL2R2:前記変倍光学系の物体側から数えて2番目に配置されたレンズにおける像側のレンズ面の曲率半径
【請求項4】
以下の条件式を満足する請求項1~3に記載の変倍光学系。
1.50<βFw<15.00
0.00<fBaw/fCw<1.00
但し、βFw:広角端状態における前記合焦群の倍率
fCw:広角端状態における前記像側群の焦点距離
fBaw:前記後続レンズ群において前記合焦群から像側に配置されたレンズで構成されるレンズ群の広角端状態における焦点距離
【請求項5】
以下の条件式を満足する請求項1~4のいずれか一項に記載の変倍光学系。
0.60<Bfw/fw<4.00
但し、fw:広角端状態における前記変倍光学系の焦点距離
Bfw:広角端状態における前記変倍光学系のバックフォーカス
【請求項6】
前記後続レンズ群に開口絞りが配置され、
以下の条件式を満足する請求項1~5のいずれか一項に記載の変倍光学系。
0.40<STLw/TLw<0.70
但し、TLw:広角端状態における前記変倍光学系の全長
STLw:広角端状態における前記変倍光学系の最も物体側のレンズ面から前記開口絞りまでの光軸上の距離
【請求項7】
以下の条件式を満足する請求項1~6のいずれか一項に記載の変倍光学系。
0.00<TLt/TLw<1.00
但し、TLw:広角端状態における前記変倍光学系の全長
TLt:望遠端状態における前記変倍光学系の全長
【請求項8】
前記先行レンズ群は、最も物体側に配置された第1レンズ群を含み、
以下の条件式を満足する請求項1~7のいずれか一項に記載の変倍光学系。
1.00<(-f1)/fw<1.80
但し、f1:前記第1レンズ群の焦点距離
fw:広角端状態における前記変倍光学系の焦点距離
【請求項9】
前記先行レンズ群は、最も物体側に配置された第1レンズ群を含み、
以下の条件式を満足する請求項1~8のいずれか一項に記載の変倍光学系。
0.42<(-f1)/ft<1.20
但し、f1:前記第1レンズ群の焦点距離
ft:望遠端状態における前記変倍光学系の焦点距離
【請求項10】
以下の条件式を満足する請求項1~9のいずれか一項に記載の変倍光学系。
-3.00<(rL1R2+rL1R1)/(rL1R2-rL1R1)<-0.80
但し、rL1R1:前記変倍光学系の最も物体側に配置されたレンズにおける物体側のレンズ面の曲率半径
rL1R2:前記変倍光学系の最も物体側に配置されたレンズにおける像側のレンズ面の曲率半径
(【請求項11】以降は省略されています)
発明の詳細な説明
【技術分野】
【0001】
本発明は、変倍光学系および光学機器に関する。
続きを表示(約 3,100 文字)
【背景技術】
【0002】
従来から、写真用カメラ、電子スチルカメラ、ビデオカメラ等に適した変倍光学系が提案されている(例えば、特許文献1を参照)。このような変倍光学系においては、合焦の際の画角変動を抑えることが求められている。
【先行技術文献】
【特許文献】
【0003】
特開2018-13685号公報
【発明の概要】
【0004】
第1の本発明に係る変倍光学系は、光軸に沿って物体側から順に並んだ、負の屈折力を有する先行レンズ群と、正の屈折力を有する後続レンズ群とからなり、変倍の際、前記先行レンズ群と前記後続レンズ群との間隔が変化し、前記後続レンズ群は、合焦群と、前記合焦群より像側に配置された像側群とを有し、無限遠物体から近距離物体への合焦の際、前記合焦群が光軸に沿って像側へ移動し、以下の条件式を満足する。
1.80<fF/fBaw
FNоw<3.40
但し、fF:前記合焦群の焦点距離
fBaw:前記後続レンズ群において前記合焦群から像側に配置されたレンズで構成されるレンズ群の広角端状態における焦点距離
FNоw:広角端状態における前記変倍光学系のFナンバー
【0005】
第2の本発明に係る変倍光学系は、光軸に沿って物体側から順に並んだ、負の屈折力を有する先行レンズ群と、正の屈折力を有する後続レンズ群とからなり、変倍の際、前記先行レンズ群と前記後続レンズ群との間隔が変化し、前記後続レンズ群は、合焦群と、前記合焦群より像側に配置された像側群とを有し、無限遠物体から近距離物体への合焦の際、前記合焦群が光軸に沿って像側へ移動し、以下の条件式を満足する。
2.00<βFw/(-βBaw)<15.00
FNоw<3.40
但し、βFw:広角端状態における前記合焦群の倍率
βBaw:前記後続レンズ群において前記合焦群から像側に配置されたレンズで構成されるレンズ群の広角端状態における倍率
FNоw:広角端状態における前記変倍光学系のFナンバー
【0006】
本発明に係る光学機器は、上記変倍光学系を備えて構成される。
【図面の簡単な説明】
【0007】
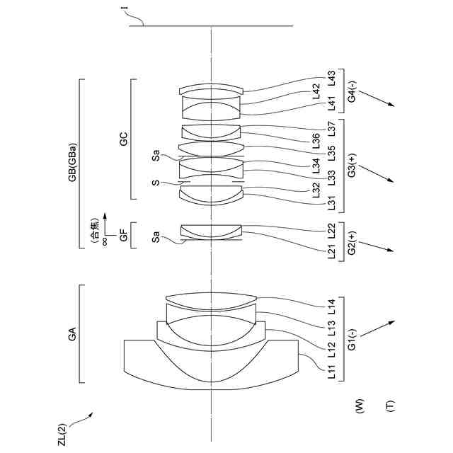
第1実施例に係る変倍光学系のレンズ構成を示す図である。
図2(A)および図2(B)はそれぞれ、第1実施例に係る変倍光学系の広角端状態、望遠端状態における無限遠合焦時の諸収差図である。
図3(A)および図3(B)はそれぞれ、第1実施例に係る変倍光学系の広角端状態、望遠端状態における近距離合焦時の諸収差図である。
第2実施例に係る変倍光学系のレンズ構成を示す図である。
図5(A)および図5(B)はそれぞれ、第2実施例に係る変倍光学系の広角端状態、望遠端状態における無限遠合焦時の諸収差図である。
図6(A)および図6(B)はそれぞれ、第2実施例に係る変倍光学系の広角端状態、望遠端状態における近距離合焦時の諸収差図である。
第3実施例に係る変倍光学系のレンズ構成を示す図である。
図8(A)および図8(B)はそれぞれ、第3実施例に係る変倍光学系の広角端状態、望遠端状態における無限遠合焦時の諸収差図である。
図9(A)および図9(B)はそれぞれ、第3実施例に係る変倍光学系の広角端状態、望遠端状態における近距離合焦時の諸収差図である。
第4実施例に係る変倍光学系のレンズ構成を示す図である。
図11(A)および図11(B)はそれぞれ、第4実施例に係る変倍光学系の広角端状態、望遠端状態における無限遠合焦時の諸収差図である。
図12(A)および図12(B)はそれぞれ、第4実施例に係る変倍光学系の広角端状態、望遠端状態における近距離合焦時の諸収差図である。
第5実施例に係る変倍光学系のレンズ構成を示す図である。
図14(A)および図14(B)はそれぞれ、第5実施例に係る変倍光学系の広角端状態、望遠端状態における無限遠合焦時の諸収差図である。
図15(A)および図15(B)はそれぞれ、第5実施例に係る変倍光学系の広角端状態、望遠端状態における近距離合焦時の諸収差図である。
第6実施例に係る変倍光学系のレンズ構成を示す図である。
図17(A)および図17(B)はそれぞれ、第6実施例に係る変倍光学系の広角端状態、望遠端状態における無限遠合焦時の諸収差図である。
図18(A)および図18(B)はそれぞれ、第6実施例に係る変倍光学系の広角端状態、望遠端状態における近距離合焦時の諸収差図である。
第7実施例に係る変倍光学系のレンズ構成を示す図である。
図20(A)および図20(B)はそれぞれ、第7実施例に係る変倍光学系の広角端状態、望遠端状態における無限遠合焦時の諸収差図である。
図21(A)および図21(B)はそれぞれ、第7実施例に係る変倍光学系の広角端状態、望遠端状態における近距離合焦時の諸収差図である。
各実施形態に係る変倍光学系を備えたカメラの構成を示す図である。
各実施形態に係る変倍光学系の製造方法を示すフローチャートである。
【発明を実施するための形態】
【0008】
以下、本発明に係る好ましい実施形態について説明する。まず、各実施形態に係る変倍光学系を備えたカメラ(光学機器)を図22に基づいて説明する。このカメラ1は、図22に示すように、本体2と、本体2に装着される撮影レンズ3により構成される。本体2は、撮像素子4と、デジタルカメラの動作を制御する本体制御部(不図示)と、液晶画面5とを備える。撮影レンズ3は、複数のレンズ群からなる変倍光学系ZLと、各レンズ群の位置を制御するレンズ位置制御機構(不図示)とを備える。レンズ位置制御機構は、レンズ群の位置を検出するセンサと、レンズ群を光軸に沿って前後に移動させるモータと、モータを駆動する制御回路などにより構成される。
【0009】
被写体からの光は、撮影レンズ3の変倍光学系ZLにより集光されて、撮像素子4の像面I上に到達する。像面Iに到達した被写体からの光は、撮像素子4により光電変換され、デジタル画像データとして不図示のメモリに記録される。メモリに記録されたデジタル画像データは、ユーザの操作に応じて液晶画面5に表示することが可能である。なお、このカメラは、ミラーレスカメラでも、クイックリターンミラーを有した一眼レフタイプのカメラであっても良い。
【0010】
次に、第1実施形態に係る変倍光学系について説明する。第1実施形態に係る変倍光学系(ズームレンズ)ZLの一例としての変倍光学系ZL(1)は、図1に示すように、光軸に沿って物体側から順に並んだ、負の屈折力を有する先行レンズ群GAと、正の屈折力を有する後続レンズ群GBとから構成される。変倍の際、先行レンズ群GAと後続レンズ群GBとの間隔が変化する。後続レンズ群GBは、合焦群GFと、合焦群GFより像側に配置された像側群GCとを有する。無限遠物体から近距離物体への合焦の際、合焦群GFが光軸に沿って像側へ移動する。
(【0011】以降は省略されています)
この特許をJ-PlatPat(特許庁公式サイト)で参照する
関連特許
株式会社ニコン
撮像素子および撮像装置
3日前
株式会社ニコン
顕微鏡、方法、及びプログラム
13日前
株式会社ニコン
光学系、光学機器及び光学系の製造方法
14日前
株式会社ニコン
光学系、光学機器及び光学系の製造方法
14日前
株式会社ニコン
変倍光学系、光学機器、および変倍光学系の製造方法
13日前
株式会社ニコン
変倍光学系、光学機器、および変倍光学系の製造方法
13日前
株式会社ニコンビジョン
観察光学系、光学機器、および観察光学系の製造方法
1日前
株式会社ニコン
変倍光学系、光学機器、および変倍光学系の製造方法
13日前
株式会社ニコン
電子機器
15日前
株式会社ニコン
撮像素子
15日前
株式会社ニコン
撮像装置
3日前
株式会社ニコン
撮像装置
15日前
株式会社ニコン
交換レンズ
3日前
株式会社ニコン
光学系および光学機器
2日前
株式会社ニコン
レンズ鏡筒及び撮像装置
13日前
株式会社ニコン
カバー装置及び撮像装置
7日前
株式会社ニコン
装置及び構造物の製造方法
15日前
株式会社ニコン
眼科装置及び画像処理方法
28日前
株式会社ニコン
変倍光学系および光学機器
1日前
株式会社ニコン
固体撮像素子及び撮像装置
2日前
株式会社ニコン
変倍光学系および光学機器
2日前
株式会社ニコン
マイクロ流体デバイス、マイクロ流体デバイスの観察装置、マイクロ流体デバイスの観察方法
29日前
株式会社ニコン
パルス光生成装置、パルス光生成方法及び加工装置
7日前
株式会社ニコン
診断支援装置、学習装置、診断支援方法、学習方法及びプログラム
7日前
カンタツ株式会社
光学系
24日前
アイカ工業株式会社
反射防止フィルム
今日
キヤノン株式会社
映像表示装置
13日前
アイカ工業株式会社
反射防止フィルム
24日前
インターマン株式会社
立体映像表示装置
13日前
沖電気工業株式会社
光導波路素子
29日前
沖電気工業株式会社
光導波路素子
29日前
沖電気工業株式会社
光導波路素子
29日前
個人
透過型及び反射型顕微鏡
13日前
キヤノン株式会社
レンズ装置および撮像装置
1日前
東レ株式会社
プラスチック光ファイバ
23日前
キヤノン株式会社
画像表示装置
21日前
続きを見る
他の特許を見る