TOP
|
特許
|
意匠
|
商標
特許ウォッチ
Twitter
他の特許を見る
公開番号
2025146895
公報種別
公開特許公報(A)
公開日
2025-10-03
出願番号
2025123786,2024063238
出願日
2025-07-24,2009-02-17
発明の名称
撮像素子
出願人
株式会社ニコン
代理人
個人
,
個人
,
個人
主分類
H04N
25/704 20230101AFI20250926BHJP(電気通信技術)
要約
【課題】画素が小さくなっても焦点検出画素の搭載が可能になる撮像素子を提供する。
【解決手段】第1マイクロレンズからの光が通る第1開口部を有する第1部材と、第2マイクロレンズからの光が通る、第1開口部より開口面積が小さい第2開口部を有する第2部材と、第1開口部からの光を電荷に変換する第1光電変換部と、行方向において第1光電変換部の隣に並んで配置され、第2開口部からの光を電荷に変換する第2光電変換部と、第1信号が出力される第1信号出力線と、第2信号が出力される第2信号出力線と、行方向において第1信号出力線と第2信号出力線との間に配置される配線と、を備え、第1光電変換部は、第1マイクロレンズの光軸方向において第1部材と第1信号出力線との間に配置され、第2光電変換部は、第2マイクロレンズの光軸方向において第2部材と第2信号出力線との間に配置される、撮像素子。
【選択図】図10
特許請求の範囲
【請求項1】
第1マイクロレンズからの光が通る第1開口部を有する第1部材と、
第2マイクロレンズからの光が通る、前記第1開口部より開口面積が小さい第2開口部を有する第2部材と、
前記第1開口部からの光を電荷に変換する第1光電変換部と、
行方向において前記第1光電変換部の隣に並んで配置され、前記第2開口部からの光を電荷に変換する第2光電変換部と、
前記第1光電変換部で変換された電荷に基づく第1信号が出力される第1信号出力線と、
前記第2光電変換部で変換された電荷に基づく第2信号が出力される第2信号出力線と、
前記行方向において前記第1信号出力線と前記第2信号出力線との間に配置される配線と、
を備え、
前記第1光電変換部は、前記第1マイクロレンズの光軸方向において前記第1部材と前記第1信号出力線との間に配置され、
前記第2光電変換部は、前記第2マイクロレンズの光軸方向において前記第2部材と前記第2信号出力線との間に配置される、
撮像素子。
発明の詳細な説明
【技術分野】
【0001】
本発明は、撮像素子に関する。
続きを表示(約 2,100 文字)
【背景技術】
【0002】
撮像画素とともに、1つの撮像画素と略同サイズのエリアの中に一対の焦点検出用画素を有する表面照射型撮像素子が従来技術として知られている(たとえば、特許文献1)。
【先行技術文献】
【特許文献】
【0003】
特開2000-305010号公報
【発明の概要】
【発明が解決しようとする課題】
【0004】
特許文献1に記載されているような従来の表面照射型撮像素子では、受光部の入射光側に光電変換部からの信号を読み出すための配線を形成しなければならないため、受光開口はその配線を避けながら設定する必要があり、受光部に光を入射させるための開口が狭くなる。このため、通常の撮像画素よりも更に小さい受光開口(一対の受光開口)にする必要がある焦点検出用画素の場合には、画素の小型化にともない、焦点検出用画素の搭載が困難になるという問題がある。
【課題を解決するための手段】
【0005】
第1の態様によると、撮像素子は、第1マイクロレンズからの光が通る第1開口部を有する第1部材と、第2マイクロレンズからの光が通る、前記第1開口部より開口面積が小さい第2開口部を有する第2部材と、前記第1開口部からの光を電荷に変換する第1光電変換部と、行方向において前記第1光電変換部の隣に並んで配置され、前記第2開口部からの光を電荷に変換する第2光電変換部と、前記第1光電変換部で変換された電荷に基づく第1信号が出力される第1信号出力線と、前記第2光電変換部で変換された電荷に基づく第2信号が出力される第2信号出力線と、前記行方向において前記第1信号出力線と前記第2信号出力線との間に配置される配線と、を備え、前記第1光電変換部は、前記第1マイクロレンズの光軸方向において前記第1部材と前記第1信号出力線との間に配置され、前記第2光電変換部は、前記第2マイクロレンズの光軸方向において前記第2部材と前記第2信号出力線との間に配置される。
【図面の簡単な説明】
【0006】
一実施の形態の電子カメラの構成を示す図である。
交換レンズの予定結像面に設定した撮像画面上の焦点検出領域を示す図である。
色フィルタのベイヤー配列を示す図である。
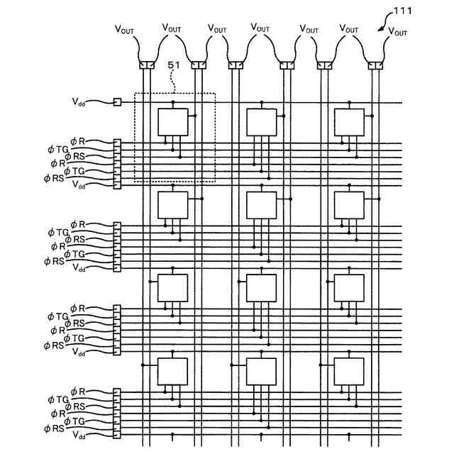
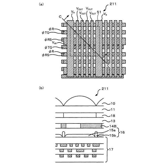
撮像素子の詳細な構成を示す図である。
撮像画素の構造を示す図である。
焦点検出画素の構造を示す図である。
瞳分割方式による焦点検出方法を説明するための図である。
撮像素子の基本画素構成を示す図である。
1つの画素に含まれる配線を説明するための図である。
配線層の配線を示す図である。
撮像素子の製造方法を説明するための図である。
撮像素子の製造方法を説明するための図である。
撮像素子の製造方法を説明するための図である。
【発明を実施するための形態】
【0007】
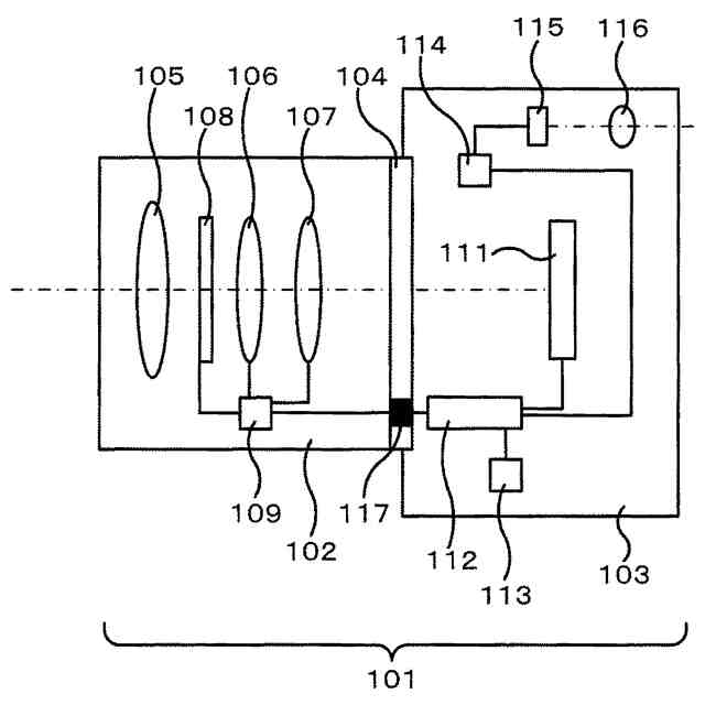
本願発明を撮像装置としての電子カメラに適用した一実施の形態を説明する。図1は一実施の形態の電子カメラの構成を示す図である。一実施の形態の電子カメラ101は交換レンズ102とカメラボディ103とから構成され、交換レンズ102はカメラボディ103のマウント部104に装着される。
【0008】
交換レンズ102は、レンズ105~107、絞り108、レンズ駆動制御装置109などを備えている。なお、レンズ106はズーミング用、レンズ107はフォーカシング用である。レンズ駆動制御装置109は、CPUとその周辺部品を備え、フォーカシング用レンズ107および絞り108の駆動制御を行う。さらに、レンズ駆動制御装置109
は、ズーミング用レンズ106、フォーカシング用レンズ107および絞り108の位置検出と、カメラボディ103の制御装置との間の通信による、レンズ情報の送信およびカメラ情報の受信とを行う。
【0009】
一方、カメラボディ103は、撮像素子111、カメラ駆動制御装置112、メモリカード113、LCDドライバー114、LCD115、接眼レンズ116などを備えている。撮像素子111は交換レンズ102の予定結像面(予定焦点面)に配置され、交換レンズ102により結像された被写体像を撮像して画像信号を出力する。撮像素子111には撮像用画素(以下、単に撮像画素という)が二次元状に配置されており、その内の焦点検出位置に対応した部分には撮像画素に代えて焦点検出用画素(以下、単に焦点検出画素という)列が組み込まれている。
【0010】
カメラ駆動制御装置112は、CPUとその周辺部品を備え、撮像素子111の駆動制御、撮像画像の処理、交換レンズ102の焦点検出および焦点調節、絞り108の制御、LCD115の表示制御、レンズ駆動制御装置109との通信、カメラ全体のシーケンス制御などを行う。なお、カメラ駆動制御装置112は、マウント部104に設けられた電気接点117を介してレンズ駆動制御装置109と通信を行う。
(【0011】以降は省略されています)
この特許をJ-PlatPat(特許庁公式サイト)で参照する
関連特許
株式会社ニコン
撮像素子および撮像装置
6日前
株式会社ニコン
顕微鏡、方法、及びプログラム
16日前
株式会社ニコン
光学系、光学機器及び光学系の製造方法
17日前
株式会社ニコン
光学系、光学機器及び光学系の製造方法
17日前
株式会社ニコン
変倍光学系、光学機器、および変倍光学系の製造方法
16日前
株式会社ニコンビジョン
観察光学系、光学機器、および観察光学系の製造方法
4日前
株式会社ニコン
変倍光学系、光学機器、および変倍光学系の製造方法
16日前
株式会社ニコン
変倍光学系、光学機器、および変倍光学系の製造方法
16日前
株式会社ニコン
撮像装置
18日前
株式会社ニコン
撮像素子
18日前
株式会社ニコン
電子機器
18日前
株式会社ニコン
撮像装置
6日前
株式会社ニコン
撮像素子
2日前
株式会社ニコン
交換レンズ
6日前
株式会社ニコン
撮像素子及び撮像装置
2日前
株式会社ニコン
光学系および光学機器
5日前
株式会社ニコン
レンズ鏡筒及び撮像装置
16日前
株式会社ニコン
カバー装置及び撮像装置
10日前
株式会社ニコン
固体撮像素子及び撮像装置
5日前
株式会社ニコン
変倍光学系および光学機器
5日前
株式会社ニコン
装置及び構造物の製造方法
18日前
株式会社ニコン
変倍光学系および光学機器
4日前
株式会社ニコン
眼科装置及び画像処理方法
1か月前
株式会社ニコン
マイクロ流体デバイス、マイクロ流体デバイスの観察装置、マイクロ流体デバイスの観察方法
1か月前
株式会社ニコン
パルス光生成装置、パルス光生成方法及び加工装置
10日前
株式会社ニコン
診断支援装置、学習装置、診断支援方法、学習方法及びプログラム
10日前
個人
店内配信予約システム
2か月前
サクサ株式会社
中継装置
2か月前
WHISMR合同会社
収音装置
24日前
アイホン株式会社
電気機器
18日前
キヤノン株式会社
撮像装置
3か月前
キヤノン株式会社
撮像装置
1か月前
キヤノン株式会社
電子機器
2か月前
株式会社リコー
画像形成装置
1か月前
株式会社リコー
画像形成装置
1か月前
電気興業株式会社
無線中継器
3か月前
続きを見る
他の特許を見る