TOP
|
特許
|
意匠
|
商標
特許ウォッチ
Twitter
他の特許を見る
公開番号
2025132809
公報種別
公開特許公報(A)
公開日
2025-09-10
出願番号
2024030616
出願日
2024-02-29
発明の名称
トリガー式噴出器およびトリガー式噴出容器
出願人
株式会社吉野工業所
代理人
個人
,
個人
,
個人
主分類
B65D
47/34 20060101AFI20250903BHJP(運搬;包装;貯蔵;薄板状または線条材料の取扱い)
要約
【課題】狙いを定めた噴射が容易な、トリガー式噴出器およびトリガー式噴出容器を提供する。
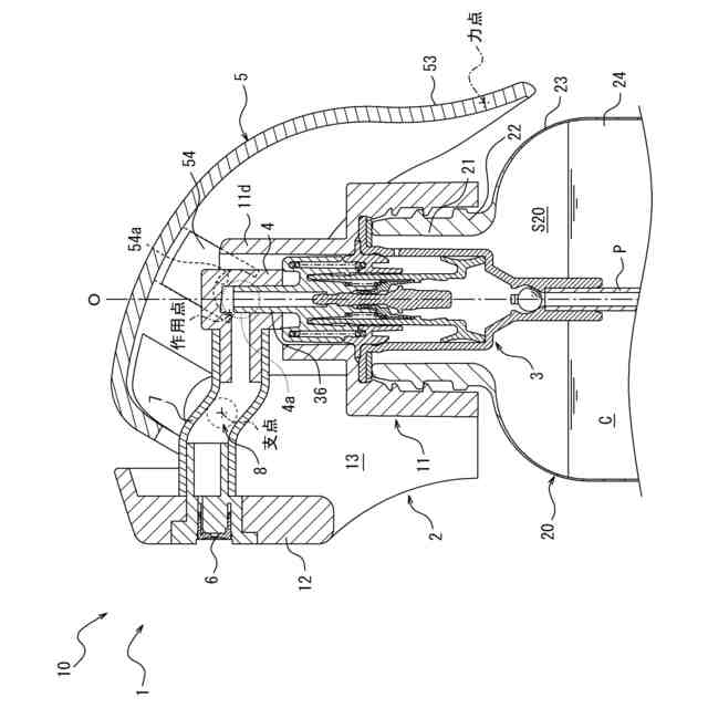
【解決手段】噴出器1は、ボディ2と、ボディ2によって容器20の口部21に保持されることで内容液Cを吸引して圧送可能なポンプ3と、ステム36の上端部に保持されるヘッド4と、ボディ2に対して揺動可能であるとともにヘッド4を押圧可能なレバー5と、噴出口6と、ヘッド4と噴出口6とを接続する接続部材7と、を備える。ボディ2は、口部21に装着可能なベース11と、噴出口6が設けられた噴出壁12と、噴出壁12をベース11の前方上側に保持するとともにレバー5を揺動可能に保持する2つの保持壁13と、を備えており、噴出口6はステム36の上下動に対して不動である。
【選択図】図3
特許請求の範囲
【請求項1】
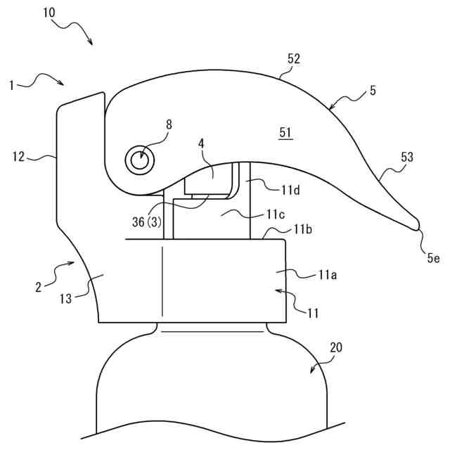
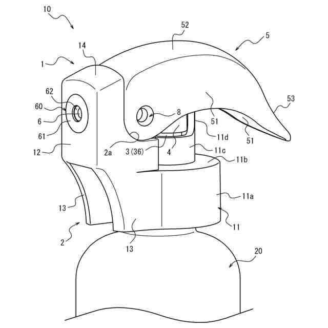
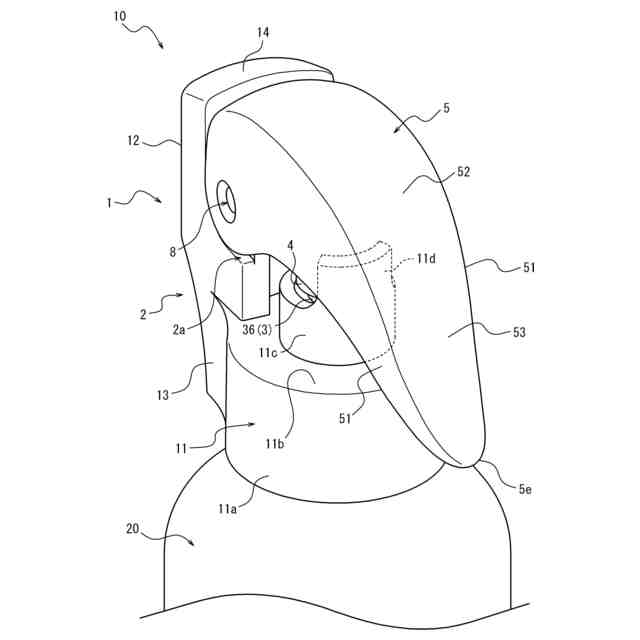
容器の口部に装着可能なボディと、前記ボディによって前記口部に保持されることで前記容器の内容液を吸引して圧送可能なポンプと、前記ポンプに備わるステムの上端部に保持されるとともに内容液の流路が設けられたヘッドと、前記ボディに対して揺動可能であるとともに前記ヘッドを押圧可能な操作レバーと、前記ポンプから圧送された内容液を噴出可能な噴出口と、前記ヘッドと前記噴出口とを接続するとともに内容液の流路が設けられた接続部材と、を備えており、
前記ボディは、前記口部に装着可能なベースと、前記噴出口が設けられた噴出壁と、前記噴出壁を前記ベースの前方上側に保持するとともに前記操作レバーを揺動可能に保持する保持壁と、を備えており、前記噴出口は前記ステムの上下動に対して不動である、トリガー式噴出器。
続きを表示(約 380 文字)
【請求項2】
前記操作レバーは、前記保持壁から前記ヘッドの上方を後側に向かって伸びており、
前記操作レバーの揺動部と当該操作レバーの後端との間に前記ヘッドを下側に向かって押し込む押し込み片を備える、請求項1に記載されたトリガー式噴出器。
【請求項3】
前記接続部材は、可撓性を有する接続パイプである、請求項1に記載されたトリガー式噴出器。
【請求項4】
前記操作レバーは、当該操作レバーの後端と隣接する位置に窪みを備える、請求項1に記載されたトリガー式噴出器。
【請求項5】
前記ボディは、前記ステムの後側の位置に支持壁をさらに備える、請求項1に記載されたトリガー式噴出器。
【請求項6】
請求項1に記載されたトリガー式噴出器と、容器本体とを備える、トリガー式噴出容器。
発明の詳細な説明
【技術分野】
【0001】
本発明は、トリガー式噴出器およびトリガー式噴出容器に関する。
続きを表示(約 1,100 文字)
【背景技術】
【0002】
従来のトリガー式噴出器には、ノズルが取り付けられたステムを操作レバーによって押し下げることで、噴出口を通した内容液の噴出を可能としたものがある(例えば、特許文献1参照。)。
【先行技術文献】
【特許文献】
【0003】
特開2019-189285号公報
【発明の概要】
【発明が解決しようとする課題】
【0004】
しかしながら、上記従来のトリガー式噴出器は、噴出口がステムといっしょに上下に移動することから、狙いを定めた噴射が容易ではなかった。
【0005】
本発明の目的は、狙いを定めた噴射が容易な、トリガー式噴出器およびトリガー式噴出容器を提供することである。
【課題を解決するための手段】
【0006】
(1)本発明であるトリガー式噴出器は、容器の口部に装着可能なボディと、前記ボディによって前記口部に保持されることで前記容器の内容液を吸引して圧送可能なポンプと、前記ポンプに備わるステムの上端部に保持されるとともに内容液の流路が設けられたヘッドと、前記ボディに対して揺動可能であるとともに前記ヘッドを押圧可能な操作レバーと、前記ポンプから圧送された内容液を噴出可能な噴出口と、前記ヘッドと前記噴出口とを接続するとともに内容液の流路が設けられた接続部材と、を備えており、前記ボディは、前記口部に装着可能なベースと、前記噴出口が設けられた噴出壁と、前記噴出壁を前記ベースの前方上側に保持するとともに前記操作レバーを揺動可能に保持する保持壁と、を備えており、前記噴出口は前記ステムの上下動に対して不動である。
【0007】
(2)上記(1)のトリガー式噴出器において、前記操作レバーは、前記保持壁から前記ヘッドの上方を後側に向かって伸びており、前記操作レバーの揺動部と当該操作レバーの後端との間に前記ヘッドを下側に向かって押し込む押し込み片を備えることが好ましい。
【0008】
(3)上記(1)又は(2)のトリガー式噴出器において、前記接続部材は、可撓性を有する接続パイプであることが好ましい。
【0009】
(4)上記(1)~(3)のいずれか1つのトリガー式噴出器において、前記操作レバーは、当該操作レバーの後端と隣接する位置に窪みを備えることが好ましい。
【0010】
(5)上記(1)~(4)のいずれか1つのトリガー式噴出器において、前記ボディは、前記ステムの後側の位置に支持壁をさらに備えることが好ましい。
(【0011】以降は省略されています)
この特許をJ-PlatPat(特許庁公式サイト)で参照する
関連特許
株式会社吉野工業所
吐出器
26日前
株式会社吉野工業所
吐出器
4日前
株式会社吉野工業所
排出容器
25日前
株式会社吉野工業所
開閉容器
26日前
株式会社吉野工業所
繰出容器
25日前
株式会社吉野工業所
吐出容器
25日前
株式会社吉野工業所
吐出容器
25日前
株式会社吉野工業所
箱型容器
25日前
株式会社吉野工業所
蓋付き容器
25日前
株式会社吉野工業所
蓋付き容器
25日前
株式会社吉野工業所
ポンプ容器
26日前
株式会社吉野工業所
ポンプ容器
25日前
株式会社吉野工業所
蓋付き容器
25日前
株式会社吉野工業所
蓋付き容器
25日前
株式会社吉野工業所
蓋付き容器
25日前
株式会社吉野工業所
繰り出し容器
25日前
株式会社吉野工業所
レフィル容器
26日前
株式会社吉野工業所
合成樹脂製容器
26日前
株式会社吉野工業所
合成樹脂製容器
25日前
株式会社吉野工業所
ポンプ式吐出器
27日前
株式会社吉野工業所
中蓋付きキャップ
2日前
株式会社吉野工業所
ポンプ式吐出容器
25日前
株式会社吉野工業所
合成樹脂製の吐出器
26日前
株式会社吉野工業所
弾性構造体及び吐出器
25日前
株式会社吉野工業所
弾性構造体及び吐出器
25日前
株式会社吉野工業所
飾りパーツ付きキャップ
27日前
株式会社吉野工業所
トリガー式液体噴出容器
27日前
株式会社吉野工業所
液体容器、及び液体容器の製造方法
25日前
株式会社吉野工業所
ポンプ式吐出具及びポンプ式吐出容器
1か月前
株式会社吉野工業所
トリガー式噴出器およびトリガー式噴出容器
25日前
株式会社吉野工業所
ヒンジキャップ
16日前
個人
箱
11か月前
個人
ゴミ箱
11か月前
個人
収容箱
2か月前
個人
コンベア
4か月前
個人
ゴミ収集器
6か月前
続きを見る
他の特許を見る