TOP
|
特許
|
意匠
|
商標
特許ウォッチ
Twitter
他の特許を見る
公開番号
2025132052
公報種別
公開特許公報(A)
公開日
2025-09-10
出願番号
2024029370
出願日
2024-02-29
発明の名称
蓋付き容器
出願人
株式会社吉野工業所
代理人
個人
,
個人
主分類
B65D
50/04 20060101AFI20250903BHJP(運搬;包装;貯蔵;薄板状または線条材料の取扱い)
要約
【課題】1度の解除操作で蓋体を開けるようにしたチャイルドレジスタンス機能を備えた蓋付き容器を創出することを課題とする。
【解決手段】容器本体10と、該容器本体10の開口部12に組み付け可能に設けられた蓋部材20と、を有する蓋付き容器であって、蓋部材20は、下枠部21と、上枠部26と蓋板27とが設けられた蓋体25とを備えると共に、蓋部材20の開閉を許容する嵌合部Aを有し、上枠嵌合片26Dが、下枠嵌合部24に形成された挿入穴24aに挿入されると共に、下枠嵌合部24と上枠嵌合片26Dを外方向に押圧可能な下枠外壁21Cとが対向する挿入空間S2内に配置され、下枠嵌合部24の内面に形成された被係合突起24bと上枠嵌合片26Dの下端の外面に形成された係合突起26bとが係合可能な構成とする。
【選択図】 図5
特許請求の範囲
【請求項1】
内容物を収容する容器本体(10)と、該容器本体(10)の開口部(12)に設けられたフランジ(11)に組み付け可能に設けられた蓋部材(20)と、を有する蓋付き容器であって、
前記蓋部材(20)は、前記フランジ(11)に組み付く下枠部(21)と、該下枠部(21)に嵌合する上枠部(26)と蓋板(27)とが設けられて前記開口部(12)を閉塞する蓋体(25)と、を備えると共に、前記蓋部材(20)の開閉を許容する嵌合部(A)を有し、
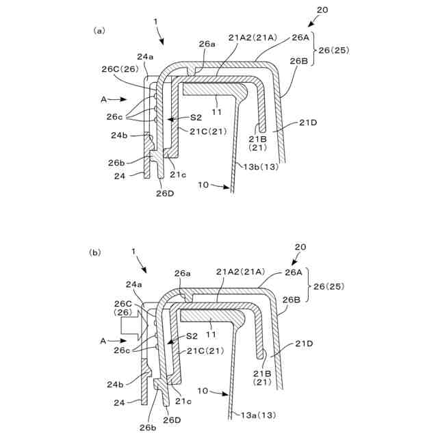
前記下枠部(21)は、下枠頂壁(21A)と、該下枠頂壁(21A)の内側及び外側に対向配置された下枠内壁(21B)及び下枠外壁(21C)とを有し、前記上枠部(26)は、上枠頂壁(26A)と、該上枠頂壁(26A)の内側及び外側に対向配置された上枠内壁(26B)及び上枠外壁(26C)とを有して構成され、
該嵌合部(A)は、外面に操作部(26c)を有すると共に前記上枠外壁(26C)の一部が下方に延設された上枠嵌合片(26D)と、前記下枠頂壁(21A)の一部を延出してその先端部に形成された下枠嵌合部(24)と、前記下枠外壁(21C)とを有して構成され、前記上枠嵌合片(26D)が前記下枠嵌合部(24)に形成された挿入穴(24a)に挿入されると共に、前記下枠嵌合部(24)と前記上枠嵌合片(26D)を外方向に支える前記下枠外壁(21C)とが対向する挿入空間(S2)内に配置され、
前記下枠嵌合部(24)の内面に形成された被係合突起(24b)と前記上枠嵌合片(26D)の下端の外面に形成された係合突起(26b)とが係合可能とされていることを特徴とする蓋付き容器。
続きを表示(約 220 文字)
【請求項2】
前記下枠外壁(21C)の外面に、前記上枠嵌合片(26D)の内面に当接可能な押圧突起(21c)が設けられている請求項1記載の蓋付き容器。
【請求項3】
前記下枠部(21)と前記蓋体(25)との間がヒンジ部(29)を介して回動可能に連結されている請求項1又は2記載の蓋付き容器。
【請求項4】
前記下枠部(21)が、前記フランジ(11)に一体に形成されている請求項1又は2記載の蓋付き容器。
発明の詳細な説明
【技術分野】
【0001】
本発明は、チャイルドレジスタンス機能を備えた蓋付き容器に関する。
続きを表示(約 2,000 文字)
【背景技術】
【0002】
容器内に収容されている内容物の危険度を理解しないままに、幼児等が周囲の大人のしぐさをまねて容器の蓋体を外し、内容物を口に入れて誤食又は誤飲したりすることによる事故を防止すべく、蓋体に幼児等では容易に取り外しのできない機能、即ち、所謂チャイルドレジスタンス機能を備えた蓋付きの容器が知られている(例えば、特許文献1)。
特許文献1の記載の容器は、蓋体の正面側に設けた一対の第1嵌合部と、側面側に設けた第2嵌合部を有し、開口部を開放するには第1嵌合部と第2嵌合部の双方に対して嵌合を解除する操作を要するようにしたことで、チャイルドレジスタンス機能を持たせたものである。
【先行技術文献】
【特許文献】
【0003】
特開2017-95157号公報
【発明の概要】
【発明が解決しようとする課題】
【0004】
しかしながら、特許文献1に記載の容器では、開口部を開放する際には、第1嵌合部と第2嵌合部の双方について、同じような解除操作を少なくとも2度行う必要があることから、収容される内容物の特性を十分に理解している使用者にとっては煩雑であるという問題があった。
本発明は、上記した従来技術における問題点を解消すべく、1度の解除操作で蓋体を開けるようにしたチャイルドレジスタンス機能を備えた蓋付き容器を創出することを課題とする。
【課題を解決するための手段】
【0005】
上記課題を解決するための手段のうち、本発明の第1の手段は、
内容物を収容する容器本体と、該容器本体の開口部に設けられたフランジに組み付け可能に設けられた蓋部材と、を有する蓋付き容器であって、
前記蓋部材は、前記フランジに組み付く下枠部と、該下枠部に嵌合する上枠部と蓋板とが設けられて前記開口部を閉塞する蓋体と、を備えると共に、前記蓋部材の開閉を許容する嵌合部を有し、
前記下枠部は、下枠頂壁と、該下枠頂壁の内側及び外側に対向配置された下枠内壁及び下枠外壁とを有し、前記上枠部は、上枠頂壁と、該上枠頂壁の内側及び外側に対向配置された上枠内壁及び上枠外壁とを有して構成され、
該嵌合部は、外面に操作部を有すると共に前記上枠外壁の一部が下方に延設された上枠嵌合片と、前記下枠頂壁の一部を延出してその先端部に形成された下枠嵌合部と、前記下枠外壁とを有して構成され、前記上枠嵌合片が前記下枠嵌合部に形成された挿入穴に挿入されると共に、前記下枠嵌合部と前記上枠嵌合片を外方向に支える前記下枠外壁とが対向する挿入空間内に配置され、
前記下枠嵌合部の内面に形成された被係合突起と前記上枠嵌合片の下端の外面に形成された係合突起とが係合可能とされていることを特徴とする、と云うものである。
本発明の第1の手段では、下枠外壁が上枠嵌合片を外方向に支えることで押し込む力がより必要になることから、被係合突起と係合突起との間の係合を簡単には解除できなくしてチャイルドレジスタンス機能を維持することができると共に、大きな力で操作部を押し込むことで1度の操作で係合を解除することができる。
【0006】
また本発明の第2の手段は、上記第1の手段に、前記下枠外壁の外面に、前記上枠嵌合片の内面に当接可能な押圧突起が設けられている、との手段を加えたものである。
上記手段では、押圧突起が上枠嵌合片の内面に当接可能となり、下枠外壁が上枠嵌合片を補助的に支えることが可能となる。
【0007】
また本発明の第3の手段は、上記第1又は第2の手段に、前記下枠部と前記蓋体との間がヒンジ部を介して回動可能に連結されている、との手段を加えたものである。
上記手段では、蓋体の紛失を防止できると共に、蓋体による開口部の開閉を容易且つ確実に行うことができる。
【0008】
また本発明の第4の手段は、上記第1又は第2の手段に、前記下枠部が、前記フランジに一体に形成されている、との手段を加えたものである。
上記手段では、部品点数の削減によるコストダウンを達成することが可能となる。
【発明の効果】
【0009】
本発明は、上記した構成となっているので、チャイルドレジスタンス機能を備えると共に、1度の解除操作で蓋体を開くことができる。
【図面の簡単な説明】
【0010】
本発明の実施の形態を示す蓋付き容器の平面図である。
蓋付き容器の正面図である。
閉蓋状態を示す図2のIII-IIIにおける矢視方向の断面図である。
開蓋状態を示す図3同様の断面図である。
嵌合部の断面図を示し、(a)は閉蓋状態の断面図、(b)は解除操作を示す断面図である。
【発明を実施するための形態】
(【0011】以降は省略されています)
この特許をJ-PlatPat(特許庁公式サイト)で参照する
関連特許
株式会社吉野工業所
吐出器
2日前
株式会社吉野工業所
吐出器
24日前
株式会社吉野工業所
吐出器
1か月前
株式会社吉野工業所
繰出容器
23日前
株式会社吉野工業所
吐出容器
23日前
株式会社吉野工業所
開閉容器
24日前
株式会社吉野工業所
箱型容器
23日前
株式会社吉野工業所
排出容器
23日前
株式会社吉野工業所
吐出容器
23日前
株式会社吉野工業所
ポンプ容器
24日前
株式会社吉野工業所
蓋付き容器
23日前
株式会社吉野工業所
蓋付き容器
23日前
株式会社吉野工業所
蓋付き容器
23日前
株式会社吉野工業所
蓋付き容器
23日前
株式会社吉野工業所
ポンプ容器
23日前
株式会社吉野工業所
蓋付き容器
23日前
株式会社吉野工業所
レフィル容器
24日前
株式会社吉野工業所
吐出キャップ
1か月前
株式会社吉野工業所
繰り出し容器
23日前
株式会社吉野工業所
ポンプ式吐出器
25日前
株式会社吉野工業所
合成樹脂製容器
24日前
株式会社吉野工業所
合成樹脂製容器
23日前
株式会社吉野工業所
ポンプ式吐出容器
23日前
株式会社吉野工業所
合成樹脂製の吐出器
24日前
株式会社吉野工業所
弾性構造体及び吐出器
23日前
株式会社吉野工業所
弾性構造体及び吐出器
23日前
株式会社吉野工業所
飾りパーツ付きキャップ
25日前
株式会社吉野工業所
トリガー式液体噴出容器
25日前
株式会社吉野工業所
液体容器、及び液体容器の製造方法
23日前
株式会社吉野工業所
ポンプ式吐出具及びポンプ式吐出容器
28日前
株式会社吉野工業所
トリガー式噴出器およびトリガー式噴出容器
23日前
サントリーホールディングス株式会社
キャップおよび容器
1か月前
株式会社吉野工業所
ヒンジキャップ
14日前
個人
箱
11か月前
個人
ゴミ箱
11か月前
個人
収容箱
2か月前
続きを見る
他の特許を見る