TOP
|
特許
|
意匠
|
商標
特許ウォッチ
Twitter
他の特許を見る
公開番号
2025130010
公報種別
公開特許公報(A)
公開日
2025-09-05
出願番号
2024168928
出願日
2024-09-27
発明の名称
ポンプ式吐出具及びポンプ式吐出容器
出願人
株式会社吉野工業所
代理人
個人
,
個人
,
個人
主分類
B65D
47/34 20060101AFI20250829BHJP(運搬;包装;貯蔵;薄板状または線条材料の取扱い)
要約
【課題】より簡素な構成で合成ゴム製または合成樹脂製の弾性体の弾性復元力の低下を抑制することが可能なポンプ式吐出具及びポンプ式吐出容器を提供することである。
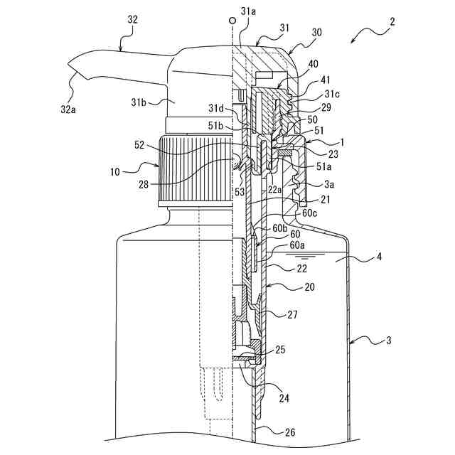
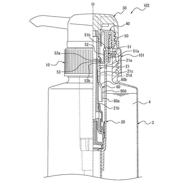
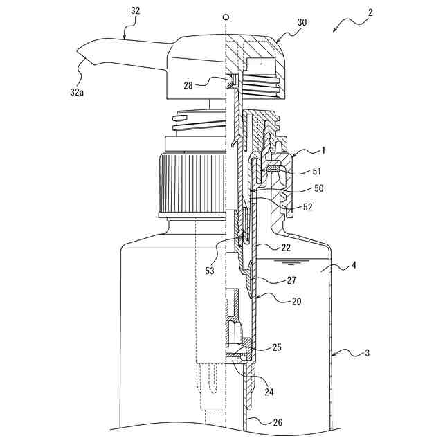
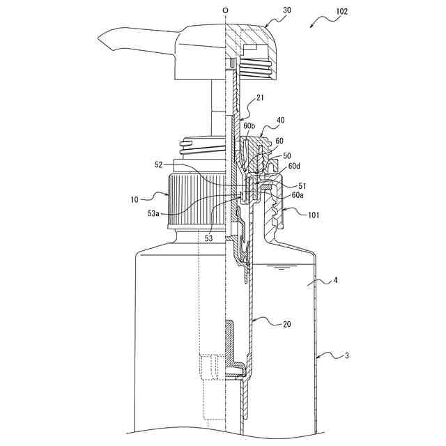
【解決手段】容器本体3に装着して使用されるポンプ式吐出具1であって、装着キャップ10と、ステム21の押下げ操作により作動するポンプ20と、ステム21の上端に取り付けられた押下げヘッド30と、押下げヘッド30を下端位置に保持する保持体40と、支持部51と弾性変形部52と被係止フック部53とを備えた合成ゴム製または合成樹脂製の弾性体50と、ステム21の外周面に設けられ、押下げヘッド30が保持体40に保持された状態において被係止フック部53よりも下方に配置されるとともに押下げヘッド30が下端位置から上端位置にまで移動すると被係止フック部53に係合する下向きの係止フック部60と、を有するポンプ式吐出具1及びこれを用いたポンプ式吐出容器2。
【選択図】図1
特許請求の範囲
【請求項1】
容器本体の口部に装着して使用されるポンプ式吐出具であって、
前記口部に装着される装着キャップと、
前記装着キャップに支持され、ステムの押下げ操作により作動するポンプと、
ヘッド側ねじを備えたヘッド部とノズル部とを備え、前記ステムの上端に取り付けられて前記ステムとともに上端位置と下端位置との間で上下方向に移動自在の押下げヘッドと、
前記装着キャップの上部に配置され、外周面に設けられた保持体側ねじに前記ヘッド側ねじがねじ結合することで前記押下げヘッドを前記下端位置に保持する保持体と、
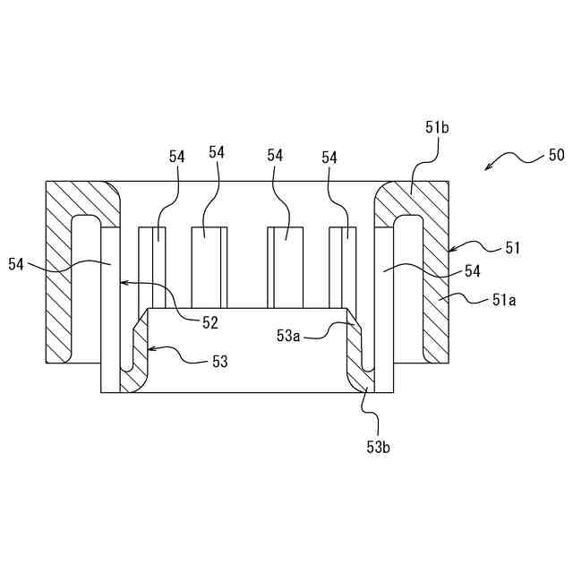
前記ポンプに支持される支持部と、前記支持部から前記ポンプの内部において下方に延びるとともに上下方向に弾性変形自在の弾性変形部と、前記弾性変形部の下端の内周面に設けられた上向きの被係止フック部とを備えた合成ゴム製または合成樹脂製の弾性体と、
前記ステムの外周面に設けられ、前記押下げヘッドが前記保持体に保持された状態において前記被係止フック部よりも下方に配置されるとともに、前記ヘッド側ねじの前記保持体側ねじとのねじ結合が解除されて前記押下げヘッドが前記下端位置から前記上端位置にまで移動すると前記被係止フック部に係合する下向きの係止フック部と、を有することを特徴とするポンプ式吐出具。
続きを表示(約 570 文字)
【請求項2】
前記弾性変形部が円筒状である、請求項1に記載のポンプ式吐出具。
【請求項3】
前記弾性変形部に周方向に間隔を空けて複数の貫通孔が設けられている、請求項2に記載のポンプ式吐出具。
【請求項4】
前記被係止フック部が、前記弾性変形部よりも小径の円筒状の被係止側フック部分と前記被係止側フック部分の下端から径方向外側に向けて延びる円環状の被係止側連接部分とを備え、
前記係止フック部が、前記被係止側フック部分より大径且つ弾性変形部よりも小径の円筒状の係止側フック部分と前記係止側フック部分の上端から前記ステムに向けて軸線に対して傾斜して延びて前記係止側フック部分を前記ステムに連接する係止側連接部分とを備え、
前記ステムの外周面と前記係止側フック部分との間の隙間が、前記被係止側フック部分の厚みよりも大きい、請求項1に記載のポンプ式吐出具。
【請求項5】
前記係止フック部が、前記係止側フック部分の下端から上方に向けて延びる複数本のスリットを備えている、請求項4に記載のポンプ式吐出具。
【請求項6】
容器本体と、前記容器本体の口部に装着された請求項1~5の何れか1項に記載の前記ポンプ式吐出具と、を有することを特徴とするポンプ式吐出容器。
発明の詳細な説明
【技術分野】
【0001】
本発明は、ポンプ式吐出具及びポンプ式吐出容器に関する。
続きを表示(約 1,600 文字)
【背景技術】
【0002】
押下げヘッドの押下げ操作によりポンプを作動させて内容物を所定量ずつ外部に吐出させることができるように構成されたポンプ式吐出具ないしポンプ式吐出容器として、押下げヘッドを上方に付勢するための弾性体として合成ゴム製のものや合成樹脂製のものを用いたものが知られている。このようなポンプ式吐出具ないしポンプ式吐出容器によれば、ポンプ式吐出具を構成する全ての部品を合成樹脂製とすることを可能として、ポンプ式吐出具ないしポンプ式吐出容器のリサイクル性を高め、環境負荷を低減させることができる。
【0003】
しかし、ポンプ式吐出具は、押下げヘッドを下端位置に保持した状態で流通される場合が多いので、合成ゴムや合成樹脂製のスプリングでは、長期に亘って縮んだ状態に保持されることで弾性復元力の低下を生じ、使用時に所望の吐出量が得られなくなってしまうという問題を生じる虞がある。
【0004】
従来、このような問題点を解消するために、合成樹脂製のスプリングを受けるピストン部材とポンプのステムとをねじ結合させた構成とし、流通時においてはピストン部材に対してステムを締め込み方向に回転させることでスプリングが伸びた状態のまま押下げヘッドを下端位置に保持された状態とし、使用時にはピストン部材に対してステムを緩み方向に回転させることでスプリングが伸びた状態のまま押下げヘッドを上端位置に位置させるようにしたポンプ式吐出具ないしポンプ式吐出容器が開発されている(例えば特許文献1参照)。
【先行技術文献】
【特許文献】
【0005】
特許第3616456号公報
【発明の概要】
【発明が解決しようとする課題】
【0006】
しかし、上記従来のポンプ式吐出具ないしポンプ式吐出容器は、ピストン部材とステムとをねじ結合させた構成であるため、その構造が複雑である、という問題点があった。
【0007】
本発明は、このような課題に鑑みてなされたものであり、その目的は、より簡素な構成で合成ゴム製または合成樹脂製の弾性体の弾性復元力の低下を抑制することが可能なポンプ式吐出具及びポンプ式吐出容器を提供することにある。
【課題を解決するための手段】
【0008】
本発明のポンプ式吐出具は、容器本体の口部に装着して使用されるポンプ式吐出具であって、前記口部に装着される装着キャップと、前記装着キャップに支持され、ステムの押下げ操作により作動するポンプと、ヘッド側ねじを備えたヘッド部とノズル部とを備え、前記ステムの上端に取り付けられて前記ステムとともに上端位置と下端位置との間で上下方向に移動自在の押下げヘッドと、前記装着キャップの上部に配置され、外周面に設けられた保持体側ねじに前記ヘッド側ねじがねじ結合することで前記押下げヘッドを前記下端位置に保持する保持体と、前記ポンプに支持される支持部と、前記支持部から前記ポンプの内部において下方に延びるとともに上下方向に弾性変形自在の弾性変形部と、前記弾性変形部の下端の内周面に設けられた上向きの被係止フック部とを備えた合成ゴム製または合成樹脂製の弾性体と、前記ステムの外周面に設けられ、前記押下げヘッドが前記保持体に保持された状態において前記被係止フック部よりも下方に配置されるとともに、前記ヘッド側ねじの前記保持体側ねじとのねじ結合が解除されて前記押下げヘッドが前記下端位置から前記上端位置にまで移動すると前記被係止フック部に係合する下向きの係止フック部と、を有することを特徴とする。
【0009】
本発明のポンプ式吐出具は、上記構成において、前記弾性変形部が円筒状であるのが好ましい。
【0010】
本発明のポンプ式吐出具は、上記構成において、前記弾性変形部に周方向に間隔を空けて複数の貫通孔が設けられているのが好ましい。
(【0011】以降は省略されています)
この特許をJ-PlatPat(特許庁公式サイト)で参照する
関連特許
株式会社吉野工業所
吐出器
4日前
株式会社吉野工業所
箱型容器
25日前
株式会社吉野工業所
繰出容器
25日前
株式会社吉野工業所
吐出容器
25日前
株式会社吉野工業所
吐出容器
25日前
株式会社吉野工業所
排出容器
25日前
株式会社吉野工業所
蓋付き容器
25日前
株式会社吉野工業所
蓋付き容器
25日前
株式会社吉野工業所
ポンプ容器
25日前
株式会社吉野工業所
繰り出し容器
25日前
株式会社吉野工業所
合成樹脂製容器
25日前
株式会社吉野工業所
中蓋付きキャップ
2日前
株式会社吉野工業所
ポンプ式吐出容器
25日前
株式会社吉野工業所
弾性構造体及び吐出器
25日前
株式会社吉野工業所
弾性構造体及び吐出器
25日前
株式会社吉野工業所
液体容器、及び液体容器の製造方法
25日前
株式会社吉野工業所
トリガー式噴出器およびトリガー式噴出容器
25日前
株式会社吉野工業所
ヒンジキャップ
16日前
個人
箱
11か月前
個人
ゴミ箱
11か月前
個人
収容箱
2か月前
個人
コンベア
4か月前
個人
ゴミ収集器
6か月前
個人
段ボール箱
6か月前
個人
容器
8か月前
個人
段ボール箱
6か月前
個人
土嚢運搬器具
7か月前
個人
楽ちんハンド
4か月前
個人
パウチ補助具
11か月前
個人
バンド
1か月前
個人
宅配システム
6か月前
個人
角筒状構造体
4か月前
個人
閉塞装置
9か月前
個人
廃棄物収容容器
1か月前
個人
包装容器
16日前
個人
お薬の締結装置
5か月前
続きを見る
他の特許を見る