TOP
|
特許
|
意匠
|
商標
特許ウォッチ
Twitter
他の特許を見る
公開番号
2025132339
公報種別
公開特許公報(A)
公開日
2025-09-10
出願番号
2024029821
出願日
2024-02-29
発明の名称
ポンプ容器
出願人
株式会社吉野工業所
代理人
個人
主分類
B65D
47/34 20060101AFI20250903BHJP(運搬;包装;貯蔵;薄板状または線条材料の取扱い)
要約
【課題】スプリングレスのポンプ容器を提供する。
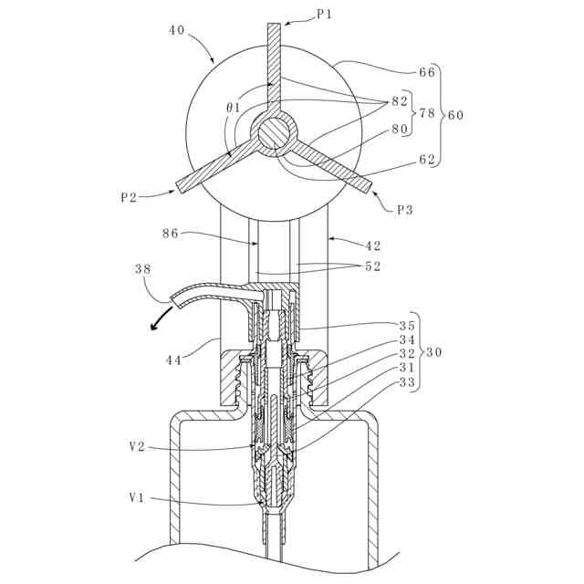
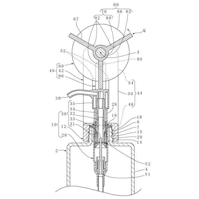
【解決手段】口頸部6を起立する容器体2と、口頸部6に装着部材12を介して装着され、口頸部6の上方に配置されたヘッド部35の昇降により前記容器体2から吸い上げた内容物を前記ヘッド部35の吐出口38から吐出するように構成した吐出ポンプ10と、ヘッド部35を昇降させるための操作用アダプタ40とを具備する。この操作用アダプタ40は、装着部材12から立設された支持部42と、この支持部42へ軸着させてヘッド部35の上側に配置され、かつ回転操作のための操作部82を有する回転体60と、回転体60及びヘッド部35の間に配備され、当該回転体60と連動して前記ヘッド部35の昇降を案内する案内機構Gとを備える。
【選択図】図1
特許請求の範囲
【請求項1】
口頸部(6)を起立する容器体(2)と、
前記口頸部(6)に装着部材(12)を介して装着され、前記口頸部(6)の上方に配置されたヘッド部(35)の昇降により前記容器体(2)から吸い上げた内容物を前記ヘッド部(35)の吐出口(38)から吐出するように構成した吐出ポンプ(10)と、
前記ヘッド部(35)を昇降させるための操作用アダプタ(40)とを具備するポンプ容器において、
前記操作用アダプタ(40)は、
前記装着部材(12)から立設された支持部(42)と、
この支持部(42)へ軸着させて前記ヘッド部(35)の上側に配置され、かつ回転操作のための操作部(82)を有する回転体(60)と、
前記回転体(60)及び前記ヘッド部(35)の間に配備され、当該回転体(60)と連動して前記ヘッド部(35)の昇降を案内する案内機構(G)と、を備えることを特徴とする、ポンプ容器。
続きを表示(約 660 文字)
【請求項2】
前記操作部片(82)として、前記回転体(60)の全周に亘って相互に離間させた複数の操作片(82)を配備させたことを特徴とする、請求項1に記載のポンプ容器。
【請求項3】
前記案内機構(G)は、前記回転体(60)及び前記ヘッド部(35)に連結された案内体(86)と、この案内体(86)及び前記回転体(60)の間に介在され、前記回転体(60)の回転力を前記案内体(86)への昇降力に変換するカム手段(F)とを有していることを特徴とする、請求項1又は請求項2に記載のポンプ容器。
【請求項4】
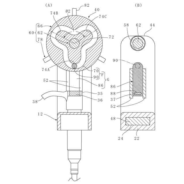
前記カム手段(F)は、前記回転体(60)の軸線方向(X)の端面(68)に、その軸線(A)を囲むループ状に形成されたカム溝(70)と、前記案内体(86)に付設され、前記カム溝(70)内を摺動する摺動突子(90)とで形成されていることを特徴とする、請求項2に記載のポンプ容器。
【請求項5】
前記カム溝(70)は、前記軸線方向(X)から見て、その軸線(A)に近づく複数の近位部位(72)及び当該軸線(A)から離れる複数の遠位部位(74)が周方向に互い違いにかつ前記軸線(A)に対して等角的に配置されるように形成されており、
かつ、前記操作部(82)として、前記近位部位(72)の個数及び前記遠位部位(74)の個数と同数の操作片(82)を前記軸線(A)に対して等角的に前記回転体(60)の周囲に配備させたことを特徴とする、請求項4に記載のポンプ容器。
発明の詳細な説明
【技術分野】
【0001】
本発明は、ポンプ容器、特にスプリングレスのポンプ容器に関する。
続きを表示(約 1,800 文字)
【背景技術】
【0002】
ポンプ容器として、容器体の口頸部内に垂設したシリンダに作動部材の下半部を昇降可能に挿入するとともに、この下半部とシリンダの下部との間に上方付勢用の金属製のコイルスプリングを介装し、作動部材の上下動により、シリンダ内の液体を作動部材のヘッドから吐出するとともにシリンダへ液体を吸い上げるものが知られている(特許文献1)。
またスプリングレス式ポンプ容器として、ヘッドの傍らに支承した梃子の一端を上下動させると、梃子の他端に連係させたヘッドが昇降するものも知られている(特許文献2)。
【先行技術文献】
【特許文献】
【0003】
特開2021-070512
特表2021-503425
【発明の概要】
【発明が解決しようとする課題】
【0004】
特許文献1の容器には、金属製のコイルスプリングが入っており、廃棄時やリサイクル時に金属と合成樹脂とを分別する必要があった。また、樹脂バネによるポンプも存在するがバネ部のへたり等の問題がある。特許文献2の容器は、一回の吐出作業毎に梃子の一端を押し上げ・引き下げるという2種類の動作(別種の動作)を手動でしなければならず、何度も吐出を繰り返すときには面倒である。
【0005】
本発明の第1の目的は、スプリングレスのポンプ容器を提供することである。
本発明の第2の目的は、同じ動作で内容物を吐出できるスプリングレスのポンプ容器を提供することである。
【課題を解決するための手段】
【0006】
第1の手段は、口頸部6を起立する容器体2と、
前記口頸部6に装着部材12を介して装着され、前記口頸部6の上方に配置されたヘッド部35の昇降により前記容器体2から吸い上げた内容物を前記ヘッド部35の吐出口38から吐出するように構成した吐出ポンプ10と、
前記ヘッド部35を昇降させるための操作用アダプタ40とを具備するポンプ容器において、
前記操作用アダプタ40は、
前記装着部材12から立設された支持部42と、
この支持部42へ軸着させて前記ヘッド部35の上側に配置され、かつ回転操作のための操作部82を有する回転体60と、
前記回転体60及び前記ヘッド部35の間に配備され、当該回転体60と連動して前記ヘッド部35の昇降を案内する案内機構Gと、を備える。
【0007】
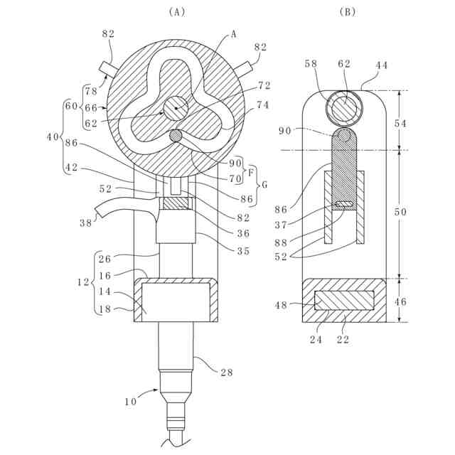
本手段では、図2及び図3に示す如く、作動部材30のヘッド部35を昇降させるための操作用アダプタ40とを具備する。この操作用アダプタ40は、装着部材12から立設された支持部42と、この支持部42へ軸着させてヘッド部35の上側に配置され、かつ回転操作のための操作部82を有する回転体60と、回転体60及びヘッド部35の間に配備され、当該回転体60と連動してヘッド部35の昇降を案内する案内機構Gとを備える。
この構成によれば、ヘッド部35を昇降させるための操作用アダプタ40を具備するので、スプリングを使用しなくても手動でヘッド部35を昇降させることができ、スプリングレスのポンプ容器を提供できる。
また回転体60と連動してヘッド部35を昇降させる案内機構Gを有するから、操作をスムーズに行うことができる。
【0008】
第2の手段は、第1の手段を有し、かつ、前記操作部82として、前記回転体60の全周に亘って相互に離間させた複数の操作片82を配備させた。
【0009】
本手段では、前記操作部82として、前記回転体60の全周に亘って相互に離間させた複数の操作片82を配備させている。
この構造によれば、複数の操作片82に順次指を掛けて回転体60を一方向に回転させ続けることができるので、連続した吐出作業を行う場合に有利である。
【0010】
第3の手段は、第1の手段又は第2の手段を有し、かつ前記案内機構Gは、前記回転体60及び前記ヘッド部35に連結された案内体86と、この案内体86及び前記回転体60の間に介在され、前記回転体60の回転力を前記案内体86への昇降力に変換するカム手段Fとを有している。
(【0011】以降は省略されています)
この特許をJ-PlatPat(特許庁公式サイト)で参照する
関連特許
株式会社吉野工業所
二重容器
13日前
株式会社吉野工業所
塗布容器
12日前
株式会社吉野工業所
塗布容器
12日前
株式会社吉野工業所
吐出容器
12日前
株式会社吉野工業所
吐出ポンプ
12日前
株式会社吉野工業所
削り出し容器
12日前
株式会社吉野工業所
スポイト容器
12日前
株式会社吉野工業所
ポンプ式吐出器
13日前
株式会社吉野工業所
ポンプ式吐出器
13日前
株式会社吉野工業所
合成樹脂製壜体
12日前
株式会社吉野工業所
ポンプ式吐出器
12日前
株式会社吉野工業所
コンパクト容器
12日前
株式会社吉野工業所
ポンプ式吐出容器
12日前
株式会社吉野工業所
キャップ付き吐出栓
12日前
株式会社吉野工業所
トリガー式液体噴出器
12日前
株式会社吉野工業所
トリガー式液体噴出器
13日前
花王株式会社
吐出容器
5日前
株式会社吉野工業所
移行栓キャップ付き容器
12日前
株式会社吉野工業所
泡吐出具及び泡吐出容器
12日前
花王株式会社
吐出容器
5日前
株式会社吉野工業所
オーバーキャップ付き容器
12日前
株式会社吉野工業所
ポンプ式吐出具及びポンプ式吐出容器
12日前
株式会社吉野工業所
ノズル部材、ポンプ式吐出器、及び吐出器付き容器
12日前
個人
収容箱
3か月前
個人
コンベア
5か月前
個人
ゴミ収集器
6か月前
個人
段ボール箱
7か月前
個人
段ボール箱
6か月前
個人
容器
9か月前
個人
パウチ補助具
12か月前
個人
バンド
1か月前
個人
角筒状構造体
5か月前
個人
土嚢運搬器具
8か月前
個人
宅配システム
6か月前
個人
楽ちんハンド
4か月前
個人
閉塞装置
10か月前
続きを見る
他の特許を見る