TOP
|
特許
|
意匠
|
商標
特許ウォッチ
Twitter
他の特許を見る
公開番号
2025132069
公報種別
公開特許公報(A)
公開日
2025-09-10
出願番号
2024029394
出願日
2024-02-29
発明の名称
ポンプ式吐出容器
出願人
株式会社吉野工業所
代理人
個人
主分類
B65D
47/34 20060101AFI20250903BHJP(運搬;包装;貯蔵;薄板状または線条材料の取扱い)
要約
【課題】従来と同じようにして内容液を吐出することが可能であって、さらにリサイクル性にも優れるポンプ式吐出容器を提案する。
【解決手段】ポンプ式吐出容器1は、容器本体2と、キャップ3と、を備え、キャップ3は、容器本体2に向けて押圧操作可能であって、内容液Lを外部空間S3へ吐出するための吐出口31hが設けられた押圧ヘッド31と、押圧操作によって弾性変形可能であり、内側に圧力空間S2が形成された変形壁部33と、外部空間S3の空気Aを圧力空間S2に導入する導入口と、導入口を通過する空気Aの流れを規制可能な第一逆止弁35と、圧力空間S2から収容空間S1に向けて空気Aを送給する接続路39と、収容空間S1から外部空間S3に向けて内容液Lを送給する送給筒37と、吐出口31hを通過する内容液L及び空気Aの流れを規制可能な第二逆止弁38と、を有し、変形壁部33は、合成樹脂材料によって形成されている。
【選択図】図1
特許請求の範囲
【請求項1】
内容液を収容するための収容空間が形成された本体部と、前記本体部の一端に設けられた口部と、を有する容器本体と、
前記口部に装着されるキャップと、を備え、
前記キャップは、
前記容器本体に向けて押圧操作可能であって、前記内容液を外部空間へ吐出するための吐出口が設けられた押圧ヘッドと、
前記押圧ヘッドの押圧操作によって弾性変形可能であり、内側に圧力空間が形成された変形壁部と、
前記外部空間と前記圧力空間とを連通させ、前記外部空間の空気を前記圧力空間に導入する導入口と、
前記導入口を通過する前記空気の流れを規制可能であって、前記外部空間から前記圧力空間への前記空気の流入を許容する一方で、前記圧力空間から前記外部空間への前記空気の流出を遮断する第一逆止弁と、
前記圧力空間と前記収容空間とを連通させ、前記圧力空間から前記収容空間に向けて前記空気を送給する接続路と、
前記収容空間と前記吐出口とを連通させ、前記収容空間から前記外部空間に向けて前記内容液を送給する送給筒と、
前記吐出口を通過する前記内容液及び前記空気の流れを規制可能であって、前記収容空間から前記外部空間への前記内容液の流出を許容する一方で、前記外部空間から前記収容空間への前記空気の流入を遮断する第二逆止弁と、を有し、
前記変形壁部は、合成樹脂材料によって形成されている、ポンプ式吐出容器。
続きを表示(約 690 文字)
【請求項2】
前記キャップは、前記圧力空間と前記収容空間とを隔てる中栓をさらに有し、
前記中栓は、
前記口部を覆う板状部と、
前記板状部に設けられ、前記送給筒を支持するとともに前記圧力空間と前記収容空間とに亘って延在する案内筒と、を含み、
前記接続路は、前記送給筒と前記案内筒との間の隙間によって形成されている、請求項1に記載のポンプ式吐出容器。
【請求項3】
前記送給筒及び前記案内筒のいずれか一方には、前記送給筒及び前記案内筒のいずれか他方に対向し前記押圧ヘッドが押圧操作される押圧方向に沿って延在する第一溝部と前記第一溝部の終端に設けられた係止部とが形成されており、
前記送給筒及び前記案内筒のいずれか他方には、前記押圧方向から見て前記第一溝部と対向する位置であって前記押圧方向に沿って前記第一溝部とは逆向きに延在する第二溝部と前記第二溝部の終端に設けられた突起とが形成されており、
使用開始前の状態において前記接続路が前記係止部及び前記突起によって封止される一方で、前記押圧ヘッドが押圧操作された状態において前記第一溝部と前記第二溝部とが連通されて前記接続路が形成される、請求項2に記載のポンプ式吐出容器。
【請求項4】
前記押圧ヘッドは、前記吐出口が開口する皿部と、前記皿部を覆う閉姿勢と前記皿部から離反する開姿勢とに変位可能な蓋部と、をさらに有し、
前記蓋部には、前記閉姿勢において前記吐出口を閉塞する突起部が設けられている、請求項1から3のいずれか1項に記載のポンプ式吐出容器。
発明の詳細な説明
【技術分野】
【0001】
本発明は、ポンプ式吐出容器に関する。
続きを表示(約 2,000 文字)
【背景技術】
【0002】
ポンプ式吐出容器として、容器の口部に装着されるキャップと、キャップにより口部に保持されステムが進退移動することによって駆動するポンプと、ステムに連結するヘッドとを備え、ヘッドをキャップに向けて移動させることによって容器内の内容液をヘッドの吐出口から吐出させるものが既知である(例えば特許文献1参照)。
【0003】
このようなポンプ式吐出容器の内部には、特許文献1に示されているように、キャップに向けて移動させたヘッドを初期位置に復帰させるためにコイルスプリングが設けられている。
【先行技術文献】
【特許文献】
【0004】
特開2011-31950号公報
【発明の概要】
【発明が解決しようとする課題】
【0005】
ところでこのようなポンプ式吐出容器は、大部分の部材は合成樹脂製であるものの、コイルスプリングは金属製である。このため使用後に廃棄するにあたって、このままの状態では樹脂品としてリサイクルすることができない。また一般にこの種のポンプ式吐出容器では、通常の使用時において部材が外れてしまうことを避けるべく、例えば嵌合等によって部材同士は強固に固定されている。したがって、ポンプ式吐出容器を分解してコイルスプリングと他の部材とに分別するにも手間を要することとなる。
【0006】
本発明はこのような問題点を解決することを課題とするものであって、従来と同じようにして内容液を吐出することが可能であって、さらにリサイクル性にも優れるポンプ式吐出容器を提案することを目的とする。
【課題を解決するための手段】
【0007】
本発明は、内容液を収容するための収容空間が形成された本体部と、前記本体部の一端に設けられた口部と、を有する容器本体と、前記口部に装着されるキャップと、を備え、前記キャップは、前記容器本体に向けて押圧操作可能であって、前記内容液を外部空間へ吐出するための吐出口が設けられた押圧ヘッドと、前記押圧ヘッドの押圧操作によって弾性変形可能であり、内側に圧力空間が形成された変形壁部と、前記外部空間と前記圧力空間とを連通させ、前記外部空間の空気を前記圧力空間に導入する導入口と、前記導入口を通過する前記空気の流れを規制可能であって、前記外部空間から前記圧力空間への前記空気の流入を許容する一方で、前記圧力空間から前記外部空間への前記空気の流出を遮断する第一逆止弁と、前記圧力空間と前記収容空間とを連通させ、前記圧力空間から前記収容空間に向けて前記空気を送給する接続路と、前記収容空間と前記吐出口とを連通させ、前記収容空間から前記外部空間に向けて前記内容液を送給する送給筒と、前記吐出口を通過する前記内容液及び前記空気の流れを規制可能であって、前記収容空間から前記外部空間への前記内容液の流出を許容する一方で、前記外部空間から前記収容空間への前記空気の流入を遮断する第二逆止弁と、を有し、前記変形壁部は、合成樹脂材料によって形成されているポンプ式吐出容器である。
【発明の効果】
【0008】
本発明によれば、従来と同じようにして内容液を吐出することが可能であって、さらにリサイクル性にも優れるポンプ式吐出容器を提供することができる。
【図面の簡単な説明】
【0009】
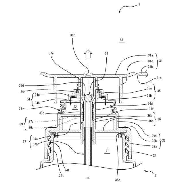
図1は、本発明に係るポンプ式吐出容器の一実施形態における使用開始前の状態を示す側面視での断面図である。
図2は、図1に示したポンプ式吐出容器の一部を拡大して示す断面図である。
図3Aは、図1に示したポンプ式吐出器の接続路を説明するための図であり、接続路が封止された状態を示すV部分の拡大断面図である。
図3Bは、図1に示したポンプ式吐出器の接続路を説明するための図であり、接続路が封止解除された状態を示すV部分の拡大断面図である。
図4は、図1に示したポンプ式吐出容器に関し、押圧操作した状態を説明するための断面図である。
図5は、図1に示したポンプ式吐出容器に関し、押圧操作を解除した状態を説明するための断面図である。
【発明を実施するための形態】
【0010】
以下、本発明の実施形態について、図面を参照して詳細に説明する。説明において、同一の要素又は相当する要素には同一の符号を用い、重複する説明を省略する場合がある。説明の便宜上、ポンプ式吐出容器の正立姿勢を基準として、鉛直方向上側を示す「上」、鉛直方向下側を示す「下」の用語を用いる。また、ポンプ式吐出容器の口部(後述)の軸心を「軸心O」と称する。
(【0011】以降は省略されています)
この特許をJ-PlatPat(特許庁公式サイト)で参照する
関連特許
株式会社吉野工業所
吐出器
1か月前
株式会社吉野工業所
吐出器
29日前
株式会社吉野工業所
吐出器
7日前
株式会社吉野工業所
吐出容器
28日前
株式会社吉野工業所
開閉容器
29日前
株式会社吉野工業所
繰出容器
28日前
株式会社吉野工業所
吐出容器
28日前
株式会社吉野工業所
箱型容器
28日前
株式会社吉野工業所
排出容器
28日前
株式会社吉野工業所
ポンプ容器
29日前
株式会社吉野工業所
蓋付き容器
28日前
株式会社吉野工業所
蓋付き容器
28日前
株式会社吉野工業所
蓋付き容器
28日前
株式会社吉野工業所
蓋付き容器
28日前
株式会社吉野工業所
化粧用容器
今日
株式会社吉野工業所
ポンプ容器
28日前
株式会社吉野工業所
蓋付き容器
28日前
株式会社吉野工業所
繰り出し容器
28日前
株式会社吉野工業所
吐出キャップ
1か月前
株式会社吉野工業所
レフィル容器
29日前
株式会社吉野工業所
ポンプ式吐出器
1か月前
株式会社吉野工業所
合成樹脂製容器
29日前
株式会社吉野工業所
合成樹脂製容器
28日前
株式会社吉野工業所
中蓋付きキャップ
5日前
株式会社吉野工業所
キャップ付き容器
今日
株式会社吉野工業所
ポンプ式吐出容器
28日前
株式会社吉野工業所
合成樹脂製の吐出器
29日前
株式会社吉野工業所
弾性構造体及び吐出器
28日前
株式会社吉野工業所
トリガー式液体噴出器
今日
株式会社吉野工業所
弾性構造体及び吐出器
28日前
株式会社吉野工業所
飾りパーツ付きキャップ
1か月前
株式会社吉野工業所
トリガー式液体噴出容器
1か月前
株式会社吉野工業所
液体容器、及び液体容器の製造方法
28日前
株式会社吉野工業所
ポンプ式吐出具及びポンプ式吐出容器
1か月前
株式会社吉野工業所
トリガー式噴出器およびトリガー式噴出容器
28日前
サントリーホールディングス株式会社
キャップおよび容器
1か月前
続きを見る
他の特許を見る