TOP
|
特許
|
意匠
|
商標
特許ウォッチ
Twitter
他の特許を見る
10個以上の画像は省略されています。
公開番号
2025179508
公報種別
公開特許公報(A)
公開日
2025-12-10
出願番号
2024086311
出願日
2024-05-28
発明の名称
冷凍サイクル装置
出願人
三菱電機株式会社
代理人
弁理士法人きさ特許商標事務所
主分類
F25B
49/02 20060101AFI20251203BHJP(冷凍または冷却;加熱と冷凍との組み合わせシステム;ヒートポンプシステム;氷の製造または貯蔵;気体の液化または固体化)
要約
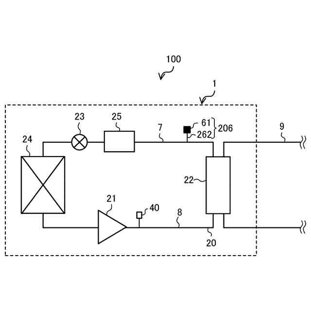
【課題】可溶栓を備えた冷凍サイクル装置においてサービス時などの作業性を向上させることができる。
【解決手段】外郭を構成し、着脱自在の前面部を有した筐体の内部に、冷媒が循環する冷媒回路の少なくとも一部が配置された冷凍サイクル装置であって、冷媒回路の少なくとも一部は、凝縮器と、冷媒が貯留される圧力容器と、凝縮器と圧力容器とを接続し冷媒が流通する第1配管と、可溶栓を有するものであって、第1配管に設けられ、第1配管内の圧力が予め決められた圧力になると冷媒を放出する圧力解放装置と、を備えたものであり、第1配管において圧力解放装置が設けられた部分は、筐体の内部において前面部の側に配置されている。
【選択図】図4
特許請求の範囲
【請求項1】
外郭を構成し、着脱自在の前面部を有した筐体の内部に、冷媒が循環する冷媒回路の少なくとも一部が配置された冷凍サイクル装置であって、
前記冷媒回路の前記少なくとも一部は、
凝縮器と、
前記冷媒が貯留される圧力容器と、
前記凝縮器と前記圧力容器とを接続し前記冷媒が流通する第1配管と、
可溶栓を有するものであって、前記第1配管に設けられ、前記第1配管内の圧力が予め決められた圧力になると前記冷媒を放出する圧力解放装置と、を備えたものであり、
前記第1配管において前記圧力解放装置が設けられた部分は、前記筐体の内部において前記前面部の側に配置されている
冷凍サイクル装置。
続きを表示(約 480 文字)
【請求項2】
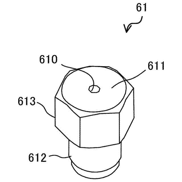
前記可溶栓は、おねじが設けられた外周部を有している
請求項1に記載の冷凍サイクル装置。
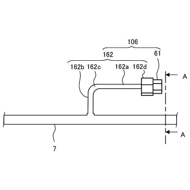
【請求項3】
前記圧力解放装置は、前記可溶栓と前記第1配管の前記部分とを接続する枝管を有するものである
請求項1または請求項2に記載の冷凍サイクル装置。
【請求項4】
前記枝管は、曲部を有するものである
請求項3に記載の冷凍サイクル装置。
【請求項5】
前記枝管は、先端部が前記第1配管の前記部分の延伸方向に延びるように前記曲部が形成されたものである
請求項4に記載の冷凍サイクル装置。
【請求項6】
前記枝管は、キャピラリチューブである
請求項3に記載の冷凍サイクル装置。
【請求項7】
前記冷媒回路の前記少なくとも一部は、
前記冷媒を圧縮する圧縮機と、
前記圧縮機と前記凝縮器とを接続する第2配管と、
前記第2配管に設けられた高圧スイッチと、を備えたものである
請求項6に記載の冷凍サイクル装置。
発明の詳細な説明
【技術分野】
【0001】
本開示は、冷媒回路を有する例えばヒートポンプチラーなどの冷凍サイクル装置に関し、特に冷媒回路における可溶栓の取り付け構造に関する。
続きを表示(約 2,300 文字)
【背景技術】
【0002】
例えばヒートポンプチラーなどの冷凍サイクル装置において、冷媒回路における圧力過昇への保護手段として、従来は、圧力スイッチによる保護、圧力センサーの検知値を用いたソフトウエアでの保護、あるいは、圧力スイッチおよび圧力センサーを用いない制御装置による保護の手法が確立されている。
【0003】
しかし、例えば米国では、空調機器、チラー機器、および給湯機器等の冷媒回路内に圧力容器を有する機器に関しては、安全規格であるUL60335-2-40に基づいて可溶栓または安全弁等、冷媒を安全に開放するための物理的な装置が必要となっている。UL60335-2-40に準拠するためには、従来用いられている圧力スイッチ、圧力センサーまたは圧力制御では不十分であり、可溶栓等の圧力解放装置(すなわち安全装置)を設ける必要がある。特許文献1には、冷凍機の安全装置として、可溶栓を備えたものが開示されている。可溶栓は、温度を検知して冷媒を開放する装置である。
【先行技術文献】
【特許文献】
【0004】
実開昭57-198472号公報
【発明の概要】
【発明が解決しようとする課題】
【0005】
冷凍サイクル装置において冷媒回路に可溶栓が用いられる場合、可溶栓は温度を検知して冷媒を開放する装置であるため、メンテナンスおよび定期検査といったサービス時、あるいは機器の組み立て時、作業者は可溶栓の誤作動を生じさせないように気をつけながら作業を行う必要がある。特許文献1の冷凍サイクル装置(冷凍機)では、本体ケーシング内において後ろ側に可溶栓があるため、サービス時などの作業または確認がしづらく、作業性が低下する、といった課題があった。
【0006】
本開示は、上記のような課題を背景としてなされたものであり、可溶栓を備えた冷凍サイクル装置においてサービス時などの作業性を向上させることを目的とする。
【課題を解決するための手段】
【0007】
本開示に係る冷凍サイクル装置は、外郭を構成し、着脱自在の前面部を有した筐体の内部に、冷媒が循環する冷媒回路の少なくとも一部が配置された冷凍サイクル装置であって、前記冷媒回路の前記少なくとも一部は、凝縮器と、前記冷媒が貯留される圧力容器と、前記凝縮器と前記圧力容器とを接続し前記冷媒が流通する第1配管と、可溶栓を有するものであって、前記第1配管に設けられ、前記第1配管内の圧力が予め決められた圧力になると前記冷媒を放出する圧力解放装置と、を備えたものであり、前記第1配管において前記圧力解放装置が設けられた部分は、前記筐体の内部において前記前面部の側に配置されている。
【発明の効果】
【0008】
本開示によれば、可溶栓を備えた冷凍サイクル装置においてサービス時などの作業性を向上させることができる。
【図面の簡単な説明】
【0009】
実施の形態1に係る冷凍サイクル装置を含むヒートポンプチラーシステムの回路構成図である。
実施の形態1に係る冷凍サイクル装置の外観斜視図である。
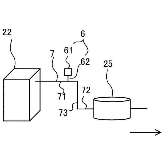
実施の形態1に係る冷凍サイクル装置の筐体内部における可溶栓と圧力容器との位置関係を示す模式図である。
実施の形態1に係る冷凍サイクル装置の内部構成を示す平面図である。
実施の形態1に係る冷凍サイクル装置における可溶栓の一構成例を示す図である。
図3の圧力解放装置の第1変形例を示す図であり、圧力解放装置および圧力解放装置が設けられる配管の正面図である。
図6の圧力解放装置および配管のA-A断面図である。
図3の圧力解放装置の第2変形例を示す正面図である。
図1のヒートポンプチラーシステムの他の構成例を示す回路構成図である。
【発明を実施するための形態】
【0010】
以下、本開示に係る冷凍サイクル装置を、ヒートポンプチラー(以下、チラーユニット1という)に適用した場合の実施の形態を、図面を参照して説明する。本開示は、以下の実施の形態に限定されるものではなく、本開示の主旨を逸脱しない範囲で種々に変形することが可能である。また、本開示は、以下の各実施の形態に示す構成のうち、組合せ可能な構成のあらゆる組合せを含むものである。特に構成要素の組み合わせは、各実施の形態における組み合わせのみに限定するものではなく、一の実施の形態に記載した構成要素を別の実施の形態に適用することができる。また、図面に示す冷凍サイクル装置は、本開示の冷凍サイクル装置が適用される機器の一例を示すものであり、図面に示された冷凍サイクル装置によって本開示の適用機器が限定されるものではない。冷凍サイクル装置は、空気調和機、給湯装置、冷蔵庫、または冷凍機などであってもよい。また、以下の説明において、理解を容易にするために方向を表す用語(例えば「上」、「下」、「右」、「左」、「前」、「後」など)を適宜用いるが、これらは説明のためのものであって、本開示を限定するものではない。また、各図において、同一の符号を付したものは、同一のまたはこれに相当するものであり、これは明細書の全文において共通している。なお、各図面では、各構成部材の相対的な寸法関係または形状等が実際のものとは異なる場合がある。
(【0011】以降は省略されています)
この特許をJ-PlatPat(特許庁公式サイト)で参照する
関連特許
三菱電機株式会社
換気扇
13日前
三菱電機株式会社
冷蔵庫
1か月前
三菱電機株式会社
増幅器
1か月前
三菱電機株式会社
冷蔵庫
20日前
三菱電機株式会社
扇風機
1か月前
三菱電機株式会社
換気扇
1か月前
三菱電機株式会社
換気扇
1か月前
三菱電機株式会社
換気扇
1か月前
三菱電機株式会社
照明装置
1か月前
三菱電機株式会社
送風装置
1日前
三菱電機株式会社
照明器具
14日前
三菱電機株式会社
換気装置
12日前
三菱電機株式会社
収集装置
1か月前
三菱電機株式会社
電気機器
20日前
三菱電機株式会社
電子機器
1か月前
三菱電機株式会社
送風装置
1日前
三菱電機株式会社
半導体装置
7日前
三菱電機株式会社
半導体装置
1か月前
三菱電機株式会社
空気調和機
1か月前
三菱電機株式会社
半導体装置
7日前
三菱電機株式会社
保護リレー
1か月前
三菱電機株式会社
半導体装置
20日前
三菱電機株式会社
半導体装置
5日前
三菱電機株式会社
電動送風機
12日前
三菱電機株式会社
加熱調理器
28日前
三菱電機株式会社
回路遮断器
28日前
三菱電機株式会社
半導体装置
2か月前
三菱電機株式会社
半導体装置
1日前
三菱電機株式会社
半導体装置
1日前
三菱電機株式会社
冷凍冷蔵庫
5日前
三菱電機株式会社
空調システム
1か月前
三菱電機株式会社
車載通信装置
今日
三菱電機株式会社
調理システム
1か月前
三菱電機株式会社
ねじ締め装置
1か月前
三菱電機株式会社
貯湯式給湯機
1か月前
三菱電機株式会社
炊飯システム
1か月前
続きを見る
他の特許を見る