TOP
|
特許
|
意匠
|
商標
特許ウォッチ
Twitter
他の特許を見る
10個以上の画像は省略されています。
公開番号
2025178672
公報種別
公開特許公報(A)
公開日
2025-12-09
出願番号
2024085420
出願日
2024-05-27
発明の名称
機電一体型駆動装置
出願人
三菱電機株式会社
代理人
弁理士法人ぱるも特許事務所
主分類
H02K
9/19 20060101AFI20251202BHJP(電力の発電,変換,配電)
要約
【課題】モータの冷却を効率よく行い、モータ回転数および出力トルクの範囲を拡大できる機電一体型駆動装置を提供する。
【解決手段】インバータ(4)は、外部で冷却された第1冷媒(40)を通流する熱交換部(41)を備え、モータ(200)は、第2冷媒(10)を貯えるモータ側貯留部(20)からの第2冷媒(10)を熱交換部(41)を介して冷却する熱交換通路(21)を有し、ギヤ側貯留部(30)の第2冷媒(10)をギヤユニット(301)に供給するギヤ側通路(31)を有し、熱交換通路(21)は、第2冷媒(10)を、コイル(211)側に供給するコイル側通路(23)、または、磁石(221)側に供給する磁石側通路(22)の内、どちらか1方、または、その両方と接続され、熱交換通路(21)の流路断面積(S1)は、コイル側通路(23)の流路断面積(S2)および磁石側通路(22)の流路断面積(S3)よりも大きい。
【選択図】図1
特許請求の範囲
【請求項1】
モータを収納するモータ収納部と、
前記モータを駆動する電力を供給するインバータと、
前記モータの出力トルクを伝達するギヤユニットを収納するギヤ収納部とが一体に保持された機電一体型駆動装置において、
前記インバータは、外部で冷却された第1冷媒を通流する熱交換部によって冷却され、
前記モータ収納部は、
第2冷媒を貯えるモータ側貯留部と、
前記モータ側貯留部から分岐されるとともに、前記第2冷媒を前記熱交換部を介して冷却する熱交換通路とを有し、
前記ギヤ収納部は、
前記モータ側貯留部からオーバーフロした前記第2冷媒を貯えるギヤ側貯留部と、
前記ギヤ側貯留部の前記第2冷媒を前記ギヤユニットに供給するギヤ側通路とを有し、
前記熱交換通路は、
前記モータのコイル側に前記第2冷媒を供給するコイル側通路、または、前記モータの磁石側に前記第2冷媒を供給する磁石側通路の内、どちらか1方、または、その両方と接続され、
前記熱交換通路の流路断面積は、前記コイル側通路の流路断面積および前記磁石側通路の流路断面積よりも大きく形成されている機電一体型駆動装置。
続きを表示(約 2,500 文字)
【請求項2】
前記ギヤ収納部は、前記ギヤ側通路から前記ギヤユニットに供給された前記第2冷媒を前記モータ側貯留部に戻す返還部を有し、
前記熱交換通路は、前記コイル側通路および前記磁石側通路の両方に接続され、
前記コイル側通路と前記磁石側通路との分岐を行う分岐部と、
前記分岐部の分流比を制御する分岐制御部と、
前記熱交換通路の出口側に設置され、前記コイル側通路および前記磁石側通路への前記第2冷媒の循環を行うポンプと、
前記ポンプの前記第2冷媒の吐出流量を制御するポンプ制御部とを備え、
前記分岐制御部および前記ポンプ制御部は、前記モータのコイル温度および磁石温度に応じて、前記コイル側通路と前記磁石側通路に流れる前記第2冷媒の分流比および前記ポンプの吐出流量を制御する請求項1に記載の機電一体型駆動装置。
【請求項3】
前記モータのコイル閾値温度Tc、前記モータの磁石閾値温度Tm、前記モータのコイル温度T1、前記モータの磁石温度T2とすると、
T1≦Tc、T2≦Tmの場合、
前記ポンプ制御部は、前記ポンプの前記第2冷媒の吐出流量を前記ポンプにより決定される最低吐出流量に前記ポンプを制御し、
前記分岐制御部は、前記コイル側通路へ前記第2冷媒を全量流すよう前記分岐部を制御する請求項2に記載の機電一体型駆動装置。
【請求項4】
前記モータのコイル閾値温度Tc、前記モータの磁石閾値温度Tm、前記モータのコイル温度T1、前記モータの磁石温度T2とすると、
T1≧Tc、T2≦Tmの場合、
前記ポンプ制御部は、前記コイル温度T1の増加に伴って前記ポンプの前記第2冷媒の吐出流量を増加するように制御し、
前記分岐制御部は、前記コイル側通路へ前記第2冷媒を全量流すよう前記分岐部を制御する請求項2に記載の機電一体型駆動装置。
【請求項5】
前記モータのコイル閾値温度Tc、前記モータの磁石閾値温度Tm、前記モータのコイル温度T1、前記モータの磁石温度T2とすると、
T1≦Tc、T2≧Tmの場合、
前記磁石温度T2の増加に伴って、前記コイル側通路の前記第2冷媒の流量を一定量に保ち、かつ、前記磁石側通路の前記第2冷媒の流量を増加するように、
前記ポンプ制御部および前記分岐制御部により前記ポンプおよび前記分岐部を制御する請求項2に記載の機電一体型駆動装置。
【請求項6】
前記モータのコイル閾値温度Tc、前記モータの磁石閾値温度Tm、前記モータのコイル温度T1、前記モータの磁石温度T2とすると、
T1≧Tc、T2≧Tmの場合、
前記コイル温度T1の増加に伴って、前記コイル側通路の前記第2冷媒の流量を増加し、かつ、前記磁石温度T2の増加に伴って、前記磁石側通路の前記第2冷媒の流量を増加するように、
前記ポンプ制御部および前記分岐制御部により前記ポンプおよび前記分岐部を制御する請求項2に記載の機電一体型駆動装置。
【請求項7】
前記熱交換通路は、前記コイル側通路に接続され、
前記ギヤ側通路は、前記磁石側通路に接続され、
前記熱交換通路の出口側に設置され、前記コイル側通路への前記第2冷媒の循環を行う第1ポンプと、
前記第1ポンプの前記第2冷媒の吐出流量を制御する第1ポンプ制御部と、
前記ギヤ側貯留部に設置され、前記ギヤ側通路を介して前記磁石側通路への前記第2冷媒の循環を行う第2ポンプと、
前記第2ポンプの前記第2冷媒の吐出流量を制御する第2ポンプ制御部とを備え、
前記第1ポンプ制御部および前記第2ポンプ制御部は、前記モータのコイル温度および磁石温度に応じて、前記第1ポンプおよび前記第2ポンプの吐出流量を制御する請求項1に記載の機電一体型駆動装置。
【請求項8】
前記モータのコイル閾値温度Tc、前記モータの磁石閾値温度Tm、前記モータのコイル温度T1、前記モータの磁石温度T2とすると、
前記第1ポンプ制御部は、
T1<Tcの場合、
前記第1ポンプの前記第2冷媒の吐出流量を、前記第1ポンプにより決定される最低吐出流量とし、
T1≧Tcの場合、
前記第1ポンプの前記第2冷媒の吐出流量が、前記コイル温度T1の増加に伴って増加するように制御する請求項7に記載の機電一体型駆動装置。
【請求項9】
前記モータのコイル閾値温度Tc、前記モータの磁石閾値温度Tm、前記モータのコイル温度T1、前記モータの磁石温度T2とすると、
前記第2ポンプ制御部は、
T2<Tmの場合、
前記第2ポンプの前記第2冷媒の吐出流量が、前記第2ポンプにより決定される最低吐出流量とし、
T2≧Tmの場合、
前記第2ポンプの前記第2冷媒の吐出流量が、前記磁石温度T2の増加に伴って増加するように制御する請求項7に記載の機電一体型駆動装置。
【請求項10】
前記熱交換通路は、前記磁石側通路に接続され、
前記ギヤ側通路は、前記コイル側通路に接続され、
前記熱交換通路の出口側に設置され、前記磁石側通路への前記第2冷媒の循環を行う第1ポンプと、
前記第1ポンプの前記第2冷媒の吐出流量を制御する第1ポンプ制御部と、
前記ギヤ側貯留部に設置され、前記ギヤ側通路を介して前記コイル側通路への前記第2冷媒の循環を行う第2ポンプと、
前記第2ポンプの前記第2冷媒の吐出流量を制御する第2ポンプ制御部とを備え、
前記第1ポンプ制御部および前記第2ポンプ制御部は、前記モータのコイル温度および磁石温度に応じて、前記第1ポンプおよび前記第2ポンプの吐出流量を制御する請求項1に記載の機電一体型駆動装置。
(【請求項11】以降は省略されています)
発明の詳細な説明
【技術分野】
【0001】
本開示は、機電一体型駆動装置に関するものである。
続きを表示(約 2,400 文字)
【背景技術】
【0002】
従来の機電一体型駆動装置は、インバータに搭載された冷却器を用いて、モータ内を循環するオイルとインバータに通流する冷却水を熱交換させることで、駆動装置と別体のオイルクーラを削減する技術が知られている(例えば、特許文献1参照)。
【先行技術文献】
【特許文献】
【0003】
特開2020-54185号公報
【発明の概要】
【発明が解決しようとする課題】
【0004】
従来の機電一体型駆動装置は、モータ内のオイル貯留部または、オイルの循環路をインバータ冷却器により筐体を介して冷却していた。また、冷却されたオイルはギヤの潤滑と冷却、およびモータの冷却の両方に使用される循環路によって構成されている。上記冷却通路の構成では、発熱量の少ないギヤの冷却と発熱量の大きいモータの冷却とに対して、同様の温度に冷却したオイルを使用している。このような場合、モータの冷却に使用するオイルのみを重点的に冷却する場合に対して、モータの耐熱温度を満たすために、モータ回転数および出力トルクの範囲が狭くなるという問題点があった。
【0005】
本開示は、上記のような課題を解決するための技術を開示するものであり、モータの冷却を効率よく行い、モータ回転数および出力トルクの範囲を拡大できる機電一体型駆動装置を提供することを目的とする。
【課題を解決するための手段】
【0006】
本開示の機電一体型駆動装置は、
モータを収納するモータ収納部と、
前記モータを駆動する電力を供給するインバータと、
前記モータの出力トルクを伝達するギヤユニットを収納するギヤ収納部とが一体に保持された機電一体型駆動装置において、
前記インバータは、外部で冷却された第1冷媒を通流する熱交換部によって冷却され、
前記モータ収納部は、
第2冷媒を貯えるモータ側貯留部と、
前記モータ側貯留部から分岐されるとともに、前記第2冷媒を前記熱交換部を介して冷却する熱交換通路とを有し、
前記ギヤ収納部は、
前記モータ側貯留部からオーバーフロした前記第2冷媒を貯えるギヤ側貯留部と、
前記ギヤ側貯留部の前記第2冷媒を前記ギヤユニットに供給するギヤ側通路とを有し、
前記熱交換通路は、
前記モータのコイル側に前記第2冷媒を供給するコイル側通路、または、前記モータの磁石側に前記第2冷媒を供給する磁石側通路の内、どちらか1方、または、その両方と接続され、
前記熱交換通路の流路断面積は、前記コイル側通路の流路断面積および前記磁石側通路の流路断面積よりも大きく形成されているものである。
【発明の効果】
【0007】
本開示の機電一体型駆動装置によれば、
モータの冷却を効率よく行い、モータ回転数および出力トルクの範囲を拡大できる。
【図面の簡単な説明】
【0008】
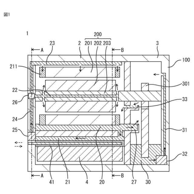
実施の形態1による機電一体型駆動装置の構成を示す断面図である。
図1に示した機電一体型駆動装置のA-A線断面を示す断面図である。
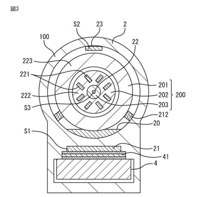
図1に示した機電一体型駆動装置のB-B線断面を示す断面図である。
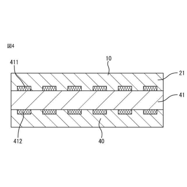
図1に示した機電一体型駆動装置の部分拡大断面図である。
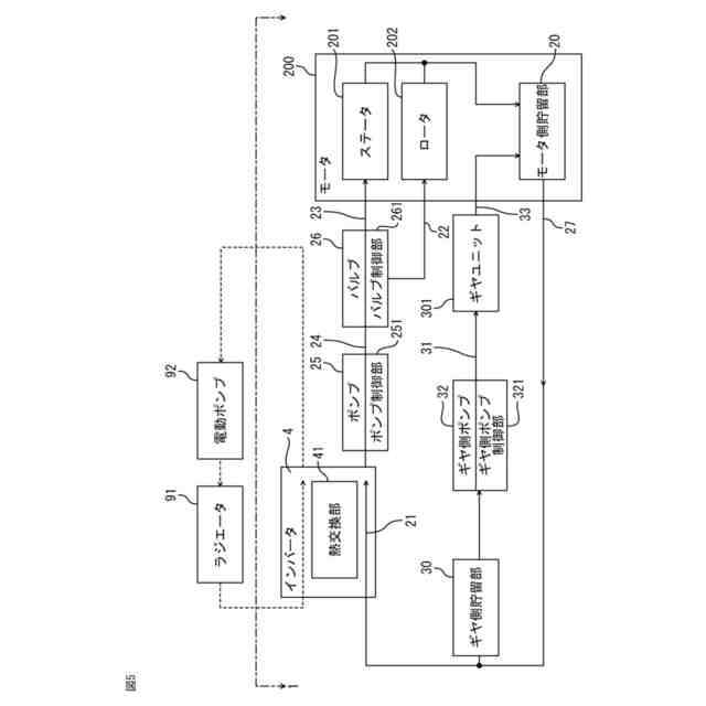
図1に示した機電一体型駆動装置の第1冷媒および第2冷媒の冷却順序と冷却対象との関係を示すブロック図である。
図1に示した機電一体型駆動装置の各ポンプと各バルブとの制御の関係を示す図である。
図1に示した機電一体型駆動装置の動作範囲とヒートラン試験の試験ポイントとの関係を示した図である。
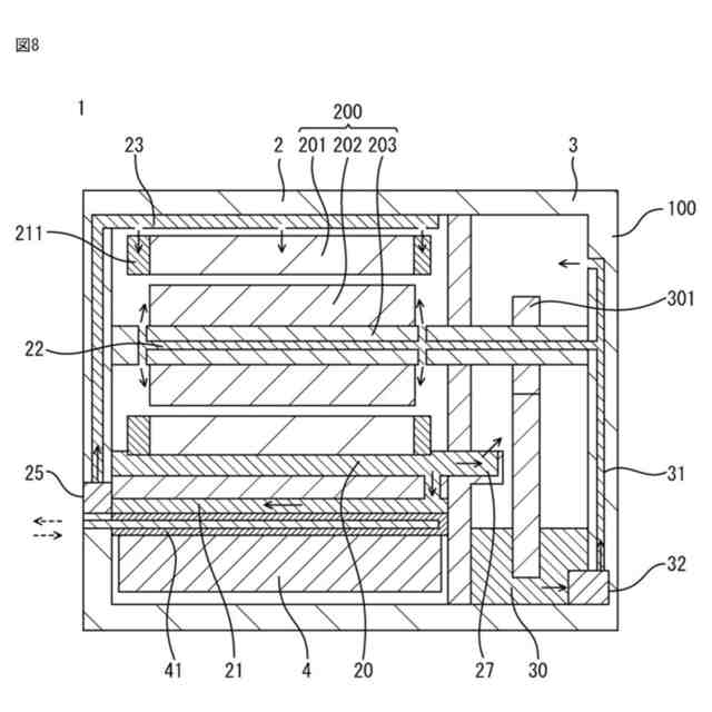
実施の形態2による機電一体型駆動装置の構成を示す断面図である。
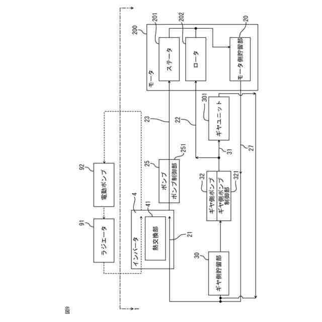
図8に示した機電一体型駆動装置の第1冷媒および第2冷媒の冷却順序と冷却対象との関係を示すブロック図である。
実施の形態3による機電一体型駆動装置の構成を示す断面図である。
図10に示した機電一体型駆動装置の第1冷媒および第2冷媒の冷却順序と冷却対象との関係を示すブロック図である。
実施の形態4による機電一体型駆動装置の構成を示す断面図である。
図12に示した機電一体型駆動装置の第1冷媒および第2冷媒の冷却順序と冷却対象との関係を示すブロック図である。
図12に示した機電一体型駆動装置の各ポンプと各バルブとの制御の関係を示す図である。
各実施の形態の各制御部のハードウエアの構成を示すブロック図である。
【発明を実施するための形態】
【0009】
実施の形態1.
図1は、実施の形態1による機電一体型駆動装置の構成を示す断面図である。図2は、図1に示した機電一体型駆動装置のA-A線断面を示す断面図である。図3は、図1に示した機電一体型駆動装置のB-B線断面を示す断面図である。図4は、図1に示した機電一体型駆動装置の部分拡大断面図である。図5は、図1に示した機電一体型駆動装置の第1冷媒および第2冷媒の冷却順序と冷却対象との関係を示すブロック図である。
【0010】
図6は、図1に示した機電一体型駆動装置の各ポンプと各バルブとの制御の関係を示す図である。図7は、図1に示した機電一体型駆動装置の動作範囲とヒートラン試験の試験ポイントとの関係を示した図である。なお、各図において、点線矢印が後述する第1冷媒40の流れを示し、実線矢印が後述する第2冷媒10の流れを示している。また、このことは、他の実施の形態においても同様であるためその説明は適宜省略する。
(【0011】以降は省略されています)
この特許をJ-PlatPat(特許庁公式サイト)で参照する
関連特許
三菱電機株式会社
換気扇
13日前
三菱電機株式会社
冷蔵庫
20日前
三菱電機株式会社
扇風機
1か月前
三菱電機株式会社
冷蔵庫
1か月前
三菱電機株式会社
増幅器
1か月前
三菱電機株式会社
電気機器
20日前
三菱電機株式会社
送風装置
1日前
三菱電機株式会社
収集装置
1か月前
三菱電機株式会社
照明器具
14日前
三菱電機株式会社
換気装置
12日前
三菱電機株式会社
照明装置
1か月前
三菱電機株式会社
送風装置
1日前
三菱電機株式会社
電動送風機
12日前
三菱電機株式会社
空気調和機
1か月前
三菱電機株式会社
半導体装置
1か月前
三菱電機株式会社
保護リレー
1か月前
三菱電機株式会社
半導体装置
7日前
三菱電機株式会社
回路遮断器
28日前
三菱電機株式会社
半導体装置
7日前
三菱電機株式会社
冷凍冷蔵庫
5日前
三菱電機株式会社
半導体装置
5日前
三菱電機株式会社
半導体装置
1日前
三菱電機株式会社
半導体装置
1日前
三菱電機株式会社
半導体装置
20日前
三菱電機株式会社
加熱調理器
28日前
三菱電機株式会社
電力変換装置
7日前
三菱電機株式会社
貯湯式給湯機
1か月前
三菱電機株式会社
調理システム
1か月前
三菱電機株式会社
電力変換装置
7日前
三菱電機株式会社
空気清浄装置
28日前
三菱電機株式会社
点検管理装置
1か月前
三菱電機株式会社
車両制御装置
12日前
三菱電機株式会社
空調システム
1か月前
三菱電機株式会社
制御システム
1か月前
三菱電機株式会社
光源デバイス
1か月前
三菱電機株式会社
貯湯式給湯機
1か月前
続きを見る
他の特許を見る