TOP
|
特許
|
意匠
|
商標
特許ウォッチ
Twitter
他の特許を見る
10個以上の画像は省略されています。
公開番号
2025177462
公報種別
公開特許公報(A)
公開日
2025-12-05
出願番号
2024084317
出願日
2024-05-23
発明の名称
半導体試験装置および半導体装置の製造方法
出願人
三菱電機株式会社
代理人
弁理士法人高田・高橋国際特許事務所
主分類
H01L
21/683 20060101AFI20251128BHJP(基本的電気素子)
要約
【課題】複数のサイズのリム付き半導体ウエハをセットすることができる半導体試験装置および、その半導体試験装置を用いた半導体装置の製造方法を得ることを目的とする。
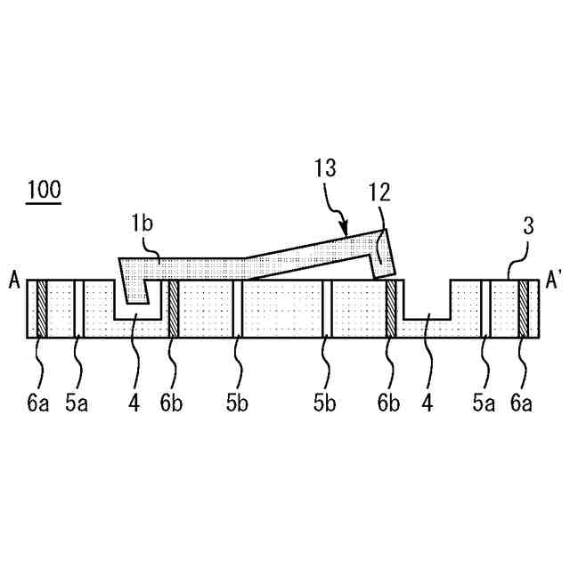
【解決手段】本開示に係る半導体試験装置は、リムを有した半導体ウエハが上面に搭載される円盤状のチャックトップと、コンタクトプローブと、を備え、前記チャックトップの前記上面には、前記チャックトップの外縁と同心円状に形成された円環状のリム落とし込み溝と、前記リム落とし込み溝よりも内側に形成され、半導体ウエハを吸着するように構成された第1吸着孔と、前記リム落とし込み溝よりも外側に形成され、半導体ウエハを吸着するように構成された第2吸着孔と、が形成されている。
【選択図】図1
特許請求の範囲
【請求項1】
リムを有した半導体ウエハが上面に搭載される円盤状のチャックトップと、
コンタクトプローブと、
を備え、
前記チャックトップの前記上面には、
前記チャックトップの外縁と同心円状に形成された円環状のリム落とし込み溝と、
前記リム落とし込み溝よりも内側に形成され、半導体ウエハを吸着するように構成された第1吸着孔と、
前記リム落とし込み溝よりも外側に形成され、半導体ウエハを吸着するように構成された第2吸着孔と、
が形成されていることを特徴とする半導体試験装置。
続きを表示(約 890 文字)
【請求項2】
前記チャックトップの前記上面のうち、前記リム落とし込み溝よりも内側には、前記第1吸着孔および前記第2吸着孔とは独立した圧力系統に繋がる第1凹部が形成され、
前記第1凹部には、前記第1凹部の内部の圧力を検出するように構成された圧力計が接続されることを特徴とする請求項1に記載の半導体試験装置。
【請求項3】
前記第1凹部には、近接センサまたは光学センサが設けられることを特徴とする請求項2に記載の半導体試験装置。
【請求項4】
前記チャックトップの前記上面のうち、前記リム落とし込み溝よりも外側には、前記第1吸着孔および前記第2吸着孔とは独立した圧力系統に繋がる第2凹部が形成され、
前記第2凹部には、前記第2凹部の内部の圧力を検出するように構成された圧力計が接続されることを特徴とする請求項1から3の何れか1項に記載の半導体試験装置。
【請求項5】
前記第2凹部には、近接センサまたは光学センサが設けられることを特徴とする請求項4に記載の半導体試験装置。
【請求項6】
前記リム落とし込み溝を埋めるスペーサを備えることを特徴とする請求項1から3の何れか1項に記載の半導体試験装置。
【請求項7】
前記スペーサは少なくとも表面が導電性であることを特徴とする請求項6に記載の半導体試験装置。
【請求項8】
前記リム落とし込み溝の底部には、前記スペーサを吸着するように構成された第3吸着孔が形成されていることを特徴とする請求項6に記載の半導体試験装置。
【請求項9】
前記リム落とし込み溝の底部から前記リム落とし込み溝の内部に突出して、前記スペーサを持ち上げるように構成されたリフトアップピンを備えることを特徴とする請求項6に記載の半導体試験装置。
【請求項10】
前記リム落とし込み溝の幅は、底部側よりも上面側の方が広いことを特徴とする請求項1から3の何れか1項に記載の半導体試験装置。
(【請求項11】以降は省略されています)
発明の詳細な説明
【技術分野】
【0001】
本開示は、半導体試験装置および半導体装置の製造方法に関する。
続きを表示(約 2,100 文字)
【背景技術】
【0002】
特許文献1には、リム構造を持つ半導体ウエハを吸着できる半導体ウエハプロセス用吸着プレートが開示されている。この吸着プレートは、ウエハ裏面内周部のウエハ凹部底面の平坦面に密着する凸部表面と、ウエハ裏面外周の環状補強リブを収納する外周凹部を備える。凸部表面の外周から2mm以上5mm以内の円周上には、複数の減圧用吸着孔が対称配置される。
【先行技術文献】
【特許文献】
【0003】
特開2014-216440号公報
【発明の概要】
【発明が解決しようとする課題】
【0004】
一般に、半導体ウエハをセットするチャックトップは、1つの半導体ウエハのサイズの専用として作製される。つまり、複数のサイズの半導体ウエハを1つのチャックトップにセットする事は想定されていない場合が多い。ここで、例えば12インチ半導体ウエハ対応のチャックトップに8インチ半導体ウエハを乗せることは可能である。しかし、ウエハ外周に内周よりも突出したリムを有したウエハの場合は、想定されたサイズよりも小さいウエハをチャックトップに載せても、リムの影響で正常に半導体ウエハを吸着することが出来ない。
【0005】
特許文献1では、リムを有した半導体ウエハに対応するチャックトップが開示されている。しかし、特許文献1においても、特定のサイズの半導体ウエハをチャックトップにセットすることが前提とされている。つまり、チャックトップで想定している半導体ウエハより小さい半導体ウエハのセットは不可能である。このため、異なるサイズの半導体ウエハをセットする為には、チャックトップ全体を交換するか、専用の設備を新規導入する必要がある。これにより、大きな手間およびコストがかかるといった課題があった。
【0006】
本開示は、上述の課題を解決するためになされたもので、複数のサイズのリム付き半導体ウエハをセットすることができる半導体試験装置および、その半導体試験装置を用いた半導体装置の製造方法を得ることを目的とする。
【課題を解決するための手段】
【0007】
第1の開示に係る半導体試験装置は、リムを有した半導体ウエハが上面に搭載される円盤状のチャックトップと、コンタクトプローブと、を備え、前記チャックトップの前記上面には、前記チャックトップの外縁と同心円状に形成された円環状のリム落とし込み溝と、前記リム落とし込み溝よりも内側に形成され、半導体ウエハを吸着するように構成された第1吸着孔と、前記リム落とし込み溝よりも外側に形成され、半導体ウエハを吸着するように構成された第2吸着孔と、が形成されている。
【0008】
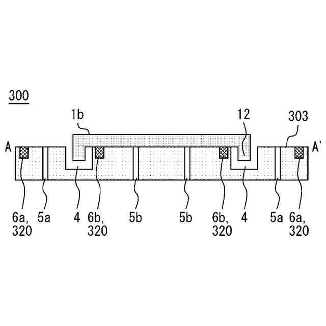
第2の開示に係る半導体試験装置は、主面と、前記主面から突出した凸部と、を有するチャックトップと、円環状であり、前記凸部を囲むように前記主面に配置され、交換可能であるスペーサリングと、コンタクトプローブと、を備え、前記スペーサリングの外縁を形成する側面と、リムを有した半導体ウエハの前記リムが対向するように、前記凸部の上面と前記スペーサリングの上面に前記半導体ウエハが搭載される。
【0009】
第1の開示に係る半導体装置の製造方法は、円盤状であり、チャックトップの外縁と同心円状に形成された円環状のリム落とし込み溝と、前記リム落とし込み溝よりも内側に形成された第1吸着孔と、前記リム落とし込み溝よりも外側に形成された第2吸着孔と、が上面に形成された前記チャックトップの前記上面に、リムを有した半導体ウエハを搭載し、前記チャックトップの前記上面に前記半導体ウエハを搭載した状態で、コンタクトプローブにより前記半導体ウエハの電気特性を測定し、前記チャックトップの前記上面に前記半導体ウエハを搭載した状態において、前記リムは、前記半導体ウエハのサイズに応じて、前記リム落とし込み溝に配置、または、前記チャックトップの前記外縁を形成する側面と対向するように配置され、前記リムが前記リム落とし込み溝に配置された状態では、前記第1吸着孔が前記半導体ウエハを吸着し、前記リムが前記チャックトップの前記側面と対向するように配置された状態では、前記第2吸着孔が前記半導体ウエハを吸着する。
【0010】
第2の開示に係る半導体装置の製造方法は、主面と、前記主面から突出した凸部と、を有するチャックトップの前記主面に、前記凸部を囲むように円環状のスペーサリングを配置し、前記スペーサリングの外縁を形成する側面と、リムを有した半導体ウエハの前記リムが対向するように、前記凸部の上面と前記スペーサリングの上面に前記半導体ウエハを搭載し、前記凸部の上面と前記スペーサリングの上面に前記半導体ウエハを搭載した状態で、コンタクトプローブにより前記半導体ウエハの電気特性を測定し、前記スペーサリングは、前記半導体ウエハのサイズに合わせて交換される。
【発明の効果】
(【0011】以降は省略されています)
この特許をJ-PlatPat(特許庁公式サイト)で参照する
関連特許
三菱電機株式会社
換気扇
12日前
三菱電機株式会社
換気扇
1か月前
三菱電機株式会社
換気扇
1か月前
三菱電機株式会社
換気扇
1か月前
三菱電機株式会社
扇風機
1か月前
三菱電機株式会社
冷蔵庫
19日前
三菱電機株式会社
冷蔵庫
1か月前
三菱電機株式会社
増幅器
1か月前
三菱電機株式会社
電子機器
1か月前
三菱電機株式会社
照明装置
1か月前
三菱電機株式会社
回転電機
2か月前
三菱電機株式会社
収集装置
1か月前
三菱電機株式会社
電気機器
19日前
三菱電機株式会社
照明器具
13日前
三菱電機株式会社
換気装置
11日前
三菱電機株式会社
送風装置
今日
三菱電機株式会社
送風装置
今日
三菱電機株式会社
半導体装置
今日
三菱電機株式会社
空気調和機
1か月前
三菱電機株式会社
半導体装置
6日前
三菱電機株式会社
半導体装置
6日前
三菱電機株式会社
半導体装置
今日
三菱電機株式会社
電動送風機
11日前
三菱電機株式会社
半導体装置
19日前
三菱電機株式会社
半導体装置
4日前
三菱電機株式会社
半導体装置
1か月前
三菱電機株式会社
保護リレー
1か月前
三菱電機株式会社
回路遮断器
27日前
三菱電機株式会社
半導体装置
2か月前
三菱電機株式会社
加熱調理器
2か月前
三菱電機株式会社
冷凍冷蔵庫
4日前
三菱電機株式会社
加熱調理器
27日前
三菱電機株式会社
位置算出装置
12日前
三菱電機株式会社
貯湯式給湯機
1か月前
三菱電機株式会社
光源デバイス
1か月前
三菱電機株式会社
車両制御装置
11日前
続きを見る
他の特許を見る