TOP
|
特許
|
意匠
|
商標
特許ウォッチ
Twitter
他の特許を見る
10個以上の画像は省略されています。
公開番号
2025177396
公報種別
公開特許公報(A)
公開日
2025-12-05
出願番号
2024084196
出願日
2024-05-23
発明の名称
学習装置、推論装置、通信システム
出願人
三菱電機株式会社
代理人
個人
,
個人
主分類
H04W
28/02 20090101AFI20251128BHJP(電気通信技術)
要約
【課題】本開示は、地上装置と複数の基地局装置とで共有される回線網を用いた通信システムにおける、トラフィック量の抑制を目的とする。
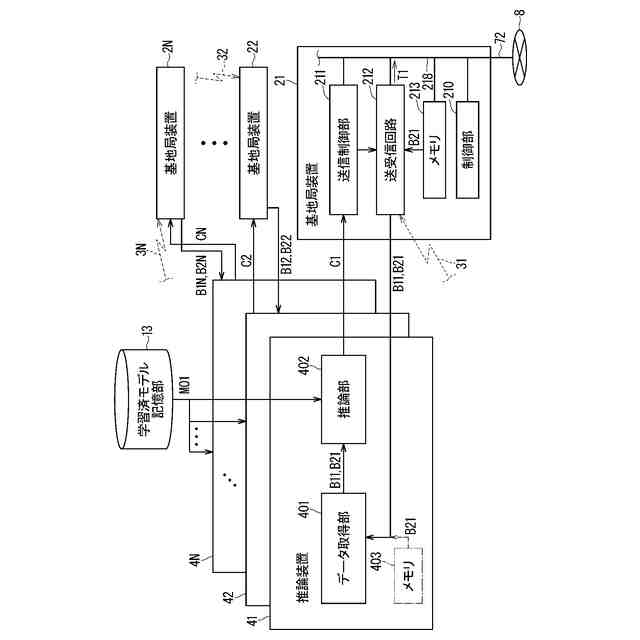
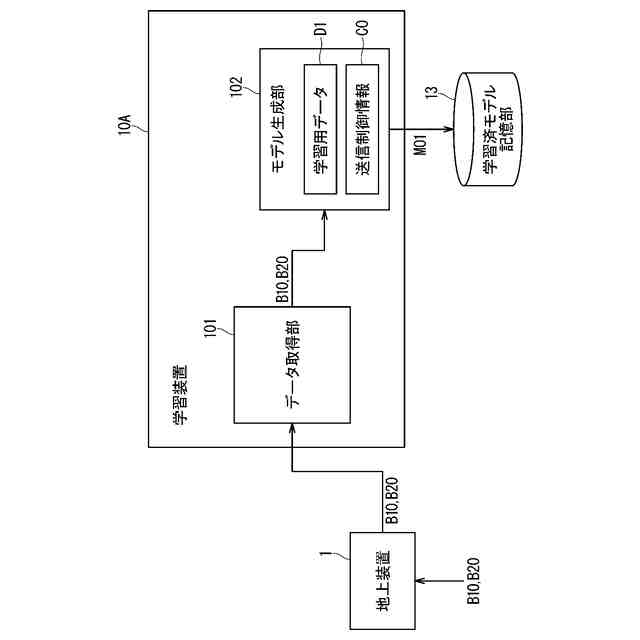
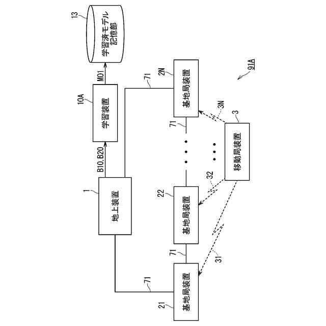
【解決手段】学習装置は、データ取得部とモデル生成部とを備える。データ取得部は、移動局装置からの無線信号を受信する複数の基地局装置のそれぞれを特定する基地局情報の一つ又は複数と、基地局装置のそれぞれが受信する無線信号の品質を表す無線回線品質の一つ又は複数とを取得する。モデル生成部は、いずれもデータ取得部から取得された基地局情報と無線回線品質とが対応づいて生成された学習用データを用いた学習によって、同じ地上装置への基地局装置のそれぞれからの送信の可否を制御する送信制御情報を、基地局情報と無線回線品質とから推論するための学習済みモデルを生成する。
【選択図】図3
特許請求の範囲
【請求項1】
移動局装置からの無線信号を受信する複数の基地局装置のそれぞれを特定する基地局情報の一つ又は複数と、前記基地局装置のそれぞれが受信する前記無線信号の品質を表す無線回線品質の一つ又は複数とを取得するデータ取得部と、
いずれも前記データ取得部から取得された前記基地局情報と前記無線回線品質とが対応づいて生成された学習用データを用いた学習によって、同じ地上装置への前記基地局装置のそれぞれからの送信の可否を制御する送信制御情報を、前記基地局情報と前記無線回線品質とから推論するための学習済みモデルを生成する、モデル生成部と
を備える学習装置。
続きを表示(約 1,000 文字)
【請求項2】
前記データ取得部は、前記無線回線品質のうちで最良の前記無線回線品質と、当該最良の前記無線回線品質を有する前記無線信号を受信した前記基地局装置を特定する前記基地局情報とを取得する、請求項1に記載の学習装置。
【請求項3】
前記学習用データは、前記基地局装置ごとに前記基地局情報と前記無線回線品質とが対応付いて生成される、請求項1に記載の学習装置。
【請求項4】
前記データ取得部は、前記学習において前記送信制御情報の正解情報として機能する評価基準情報を更に取得し、
前記学習用データは前記評価基準情報も纏めて生成される、請求項3に記載の学習装置。
【請求項5】
前記学習済みモデルは前記基地局装置ごとに生成される、請求項3に記載の学習装置。
【請求項6】
前記学習済みモデルは前記基地局装置ごとに記憶される、請求項5に記載の学習装置。
【請求項7】
前記基地局装置の各々は、自身の前記無線回線品質を他の前記基地局装置へブロードキャストし、
前記基地局装置の各々に対応づけて設けられる、請求項6に記載の学習装置。
【請求項8】
移動局装置からの無線信号を受信する複数の基地局装置のそれぞれを特定する基地局情報と、前記基地局装置のそれぞれが受信する前記無線信号の品質を表す無線回線品質とを取得して出力するデータ取得部と、
学習用データを用いて送信制御情報が学習された学習済みモデルと、前記データ取得部から出力される前記基地局情報および前記無線回線品質とから、前記データ取得部から出力される前記基地局情報に対応した前記基地局装置についての前記送信制御情報を推論する推論部と
を備え、
前記送信制御情報は、同じ地上装置への前記基地局装置からの送信の可否を制御し、
前記学習用データは、互いに対応付く前記基地局情報および前記無線回線品質を含む、推論装置。
【請求項9】
前記学習用データは、前記基地局装置ごとに前記基地局情報と前記無線回線品質とが対応付いて生成される、請求項8に記載の推論装置。
【請求項10】
前記学習用データは、前記学習において前記送信制御情報の正解情報として機能する評価基準情報を更に含む、請求項9に記載の推論装置。
(【請求項11】以降は省略されています)
発明の詳細な説明
【技術分野】
【0001】
本開示は、学習装置、推論装置、通信システムに関する。
続きを表示(約 1,400 文字)
【背景技術】
【0002】
通信システムとして、同一の移動局装置からの無線信号を複数の基地局装置が受信し、各基地局から出力された信号を中央装置が受信する構成が公知である(例えば特許文献1参照)。
【先行技術文献】
【特許文献】
【0003】
特開2002-325270号公報
【発明の概要】
【発明が解決しようとする課題】
【0004】
一つの中央装置と複数の基地局装置とが回線網(例えばイーサネット(登録商標))を共有して通信可能な構成が想定される。かかる構成においては、同一の移動局装置からの無線信号を、複数の基地局装置が互いに短い時間差で受信し、かつ中央装置へ出力する場合が想定される。このように時間差が短い信号の出力はトラフィック量の増大を招く。
【0005】
中央装置は、同一の移動局装置からの無線信号が含む情報を、複数の基地局装置から得る必要はない。中央装置に伝達される情報は、同一の移動局装置からの無線信号のうち、特定の無線信号を受信した基地局装置から出力される信号のみから得られてもよい。
【0006】
本開示は、中央装置としての地上装置と複数の基地局装置とで共有される回線網を用いた通信システムにおける、トラフィック量の抑制を目的とする。
【課題を解決するための手段】
【0007】
本開示にかかる学習装置は、データ取得部とモデル生成部とを備える。前記データ取得部は、移動局装置からの無線信号を受信する複数の基地局装置のそれぞれを特定する基地局情報の一つ又は複数と、前記基地局装置のそれぞれが受信する前記無線信号の品質を表す無線回線品質の一つ又は複数とを取得する。前記モデル生成部は、いずれも前記データ取得部から取得された前記基地局情報と前記無線回線品質とが対応づいて生成された学習用データを用いた学習によって、同じ地上装置への前記基地局装置のそれぞれからの送信の可否を制御する送信制御情報を、前記基地局情報と前記無線回線品質とから推論するための学習済みモデルを生成する。
【0008】
本開示にかかる推論装置は、データ取得部と推論部とを備える。前記データ取得部は、移動局装置からの無線信号を受信する複数の基地局装置のそれぞれを特定する基地局情報と、前記基地局装置のそれぞれが受信する前記無線信号の品質を表す無線回線品質とを取得して出力する。前記推論部は、学習用データを用いて送信制御情報が学習された学習済みモデルと、前記データ取得部から出力される前記基地局情報および前記無線回線品質とから、前記データ取得部から出力される前記基地局情報に対応した前記基地局装置についての前記送信制御情報を推論する。
【0009】
前記送信制御情報は、同じ地上装置への前記基地局装置からの送信の可否を制御する。前記学習用データは、互いに対応付く前記基地局情報および前記無線回線品質を含む。
【発明の効果】
【0010】
本開示によれば、地上装置と複数の基地局装置とで共有される回線網を用いた通信システムにおける、トラフィック量が抑制される。
【図面の簡単な説明】
(【0011】以降は省略されています)
この特許をJ-PlatPat(特許庁公式サイト)で参照する
関連特許
三菱電機株式会社
換気扇
11日前
三菱電機株式会社
冷蔵庫
18日前
三菱電機株式会社
照明器具
12日前
三菱電機株式会社
換気装置
10日前
三菱電機株式会社
照明装置
1か月前
三菱電機株式会社
電気機器
18日前
三菱電機株式会社
加熱調理器
26日前
三菱電機株式会社
電動送風機
10日前
三菱電機株式会社
回路遮断器
26日前
三菱電機株式会社
半導体装置
3日前
三菱電機株式会社
冷凍冷蔵庫
3日前
三菱電機株式会社
半導体装置
5日前
三菱電機株式会社
半導体装置
5日前
三菱電機株式会社
半導体装置
18日前
三菱電機株式会社
位置算出装置
11日前
三菱電機株式会社
電力変換装置
5日前
三菱電機株式会社
電力変換装置
5日前
三菱電機株式会社
車両制御装置
10日前
三菱電機株式会社
空気清浄装置
26日前
三菱電機株式会社
貯湯式給湯機
1か月前
三菱電機株式会社
光源デバイス
1か月前
三菱電機株式会社
制御システム
1か月前
三菱電機株式会社
移動体監視装置
1か月前
三菱電機株式会社
見守りシステム
11日前
三菱電機株式会社
電磁波発生装置
18日前
三菱電機株式会社
照明制御システム
18日前
三菱電機株式会社
回転電機ユニット
1か月前
三菱電機株式会社
加熱調理システム
1か月前
三菱電機株式会社
回転電機ユニット
1か月前
三菱電機株式会社
空気調和システム
1か月前
三菱電機株式会社
直流配電システム
12日前
三菱電機株式会社
食事支援システム
4日前
三菱電機株式会社
スクロール圧縮機
4日前
三菱電機株式会社
被加工物の製造方法
4日前
三菱電機株式会社
空気調和機の室内機
12日前
三菱電機株式会社
電子機器の冷却装置
1か月前
続きを見る
他の特許を見る