TOP
|
特許
|
意匠
|
商標
特許ウォッチ
Twitter
他の特許を見る
10個以上の画像は省略されています。
公開番号
2025177256
公報種別
公開特許公報(A)
公開日
2025-12-05
出願番号
2024083904
出願日
2024-05-23
発明の名称
容器供給装置、容器供給方法および蓋閉め装置
出願人
セイコーエプソン株式会社
代理人
個人
,
個人
,
個人
主分類
B65B
43/44 20060101AFI20251128BHJP(運搬;包装;貯蔵;薄板状または線条材料の取扱い)
要約
【課題】容器を反転させながら供給可能な容器供給装置および容器供給方法、ならびに、ロボットを用いて収容体に蓋体を閉める蓋閉め作業を効率よく行うことができる蓋閉め装置を提供すること。
【解決手段】互いに表裏の関係を持つ第1容器面および第2容器面を有する容器を、始点から終点まで搬送して供給する容器供給装置であって、水平面に対し傾斜する第1搬送面を有し、容器を、第1容器面が第1搬送面と対向する姿勢で、始点から鉛直下方の成分を含む第1方向に搬送する第1搬送部と、水平面に対し傾斜する第2搬送面を有し、第1搬送部で搬送された容器を、第2容器面が第2搬送面と対向する姿勢で、鉛直下方の成分を含むとともに終点に向かう第2方向に搬送する第2搬送部と、を備え、鉛直上方から見たとき、第1方向および第2方向が互いに逆向きの成分を含み、第2搬送面は、第1搬送面の終端位置より鉛直下方に離間して配置される容器供給装置。
【選択図】図4
特許請求の範囲
【請求項1】
互いに表裏の関係を持つ第1容器面および第2容器面を有する容器を、始点から終点まで搬送して供給する容器供給装置であって、
水平面に対し傾斜する第1搬送面を有し、前記容器を、前記第1容器面が前記第1搬送面と対向する姿勢で、前記始点から鉛直下方の成分を含む第1方向に搬送する第1搬送部と、
水平面に対し傾斜する第2搬送面を有し、前記第1搬送部で搬送された前記容器を、前記第2容器面が前記第2搬送面と対向する姿勢で、鉛直下方の成分を含むとともに前記終点に向かう第2方向に搬送する第2搬送部と、
を備え、
鉛直上方から見たとき、前記第1方向および前記第2方向が、互いに逆向きの成分を含み、
前記第2搬送面は、前記第1搬送面の終端位置より鉛直下方に離間して配置されることを特徴とする容器供給装置。
続きを表示(約 880 文字)
【請求項2】
水平面に対する前記第1搬送面の傾斜角度が、30°以上90°未満である請求項1に記載の容器供給装置。
【請求項3】
前記第1搬送面と前記第2搬送面とのなす角度のうち、鉛直上方に開く角度が、30°以上100°以下である請求項1または2に記載の容器供給装置。
【請求項4】
前記容器の外径を1とするとき、前記第1搬送面の前記終端位置から前記第2搬送面までの、前記第1方向における離間距離L2が、0.50超1.00未満である請求項1または2に記載の容器供給装置。
【請求項5】
前記第1搬送面および前記第2搬送面が、前記容器を滑らせて搬送する滑り面である請求項1または2に記載の容器供給装置。
【請求項6】
前記第2搬送面に沿って前記第2方向にガスを吹き出すガス吹出部を備える請求項5に記載の容器供給装置。
【請求項7】
前記第2搬送部が、前記第2搬送面に前記容器を載せて搬送するコンベアー式搬送装置である請求項1または2に記載の容器供給装置。
【請求項8】
前記始点よりも鉛直上方に配置され、互いに積み重ねられた複数の前記容器を貯留し、貯留された複数の前記容器の1つを前記始点に切り出す容器貯留部を備える請求項1に記載の容器供給装置。
【請求項9】
前記第1容器面は、凸面を含み、
前記第2容器面は、前記凸面の反対面である凹面を含み、
前記容器貯留部は、前記凸面が前記第1方向に向く姿勢で前記容器を貯留する請求項8に記載の容器供給装置。
【請求項10】
前記第1搬送部は、前記容器貯留部から切り出された前記容器の一部を係止する係止部を有し、
前記係止部は、前記容器貯留部から切り出されて落下する前記容器の一部を係止することにより、前記容器の姿勢を、前記第1容器面が前記第1搬送面と対向する姿勢に変化させる請求項8または9に記載の容器供給装置。
(【請求項11】以降は省略されています)
発明の詳細な説明
【技術分野】
【0001】
本発明は、容器供給装置、容器供給方法および蓋閉め装置に関するものである。
続きを表示(約 1,900 文字)
【背景技術】
【0002】
近年、各種の生産現場においてロボットの導入が検討されているが、その一例として、弁当のような箱状の容器に対し、蓋閉じを行う蓋閉じ装置が用いられている。弁当に用いられる容器では、容器本体の開口部に対して蓋体を被せ、嵌合させる態様が一般的である。
【0003】
例えば、特許文献1には、容器本体に蓋を内嵌合させることにより、容器本体の開口を閉塞する蓋閉装置が開示されている。この蓋閉装置は、容器本体を下方から支持する支持部材と、蓋を搬送する蓋搬送部と、容器本体を囲む枠体と、枠体の内壁面から出没する複数の爪と、を備える。そして、蓋搬送部によって容器本体の開口に対面する位置に蓋を搬送した後、複数の爪で蓋面の外周にある溝部を押圧することにより、蓋を容器本体に圧入する。これにより、蓋が容器本体に嵌合し、蓋閉めがなされる。
【先行技術文献】
【特許文献】
【0004】
特開2020-100424号公報
【発明の概要】
【発明が解決しようとする課題】
【0005】
食品等を収容した収容体に、蓋体を被せて閉める蓋閉め作業においては、ストックされた蓋体を供給する際に、蓋体の表裏の反転が必要になる場合がある。しかしながら、蓋体の表裏を反転させるために、リンク機構のような複雑な機構が必要となりうる。このため、簡易な構成で蓋体の反転を行い得る装置の実現が求められている。
【課題を解決するための手段】
【0006】
本発明の適用例に係る容器供給装置は、
互いに表裏の関係を持つ第1容器面および第2容器面を有する容器を、始点から終点まで搬送して供給する容器供給装置であって、
水平面に対し傾斜する第1搬送面を有し、前記容器を、前記第1容器面が前記第1搬送面と対向する姿勢で、前記始点から鉛直下方の成分を含む第1方向に搬送する第1搬送部と、
水平面に対し傾斜する第2搬送面を有し、前記第1搬送部で搬送された前記容器を、前記第2容器面が前記第2搬送面と対向する姿勢で、鉛直下方の成分を含むとともに前記終点に向かう第2方向に搬送する第2搬送部と、
を備え、
鉛直上方から見たとき、前記第1方向および前記第2方向が、互いに逆向きの成分を含み、
前記第2搬送面は、前記第1搬送面の終端位置より鉛直下方に離間して配置される。
【0007】
本発明の適用例に係る容器供給方法は、
互いに表裏の関係を持つ第1容器面および第2容器面を有する容器を、始点から終点まで搬送して供給する容器供給方法であって、
前記第1容器面が第1搬送面と対向する姿勢で、前記第1搬送面により、前記始点から前記容器を搬送するステップと、
前記第1搬送面の終端位置から第2搬送面に向けて前記容器を落下させながら、前記容器の姿勢を、前記第2容器面が前記第2搬送面と対向する姿勢に変化させるステップと、
前記第2容器面が前記第2搬送面と対向する姿勢で、前記第2搬送面により、前記終点まで前記容器を搬送するステップと、
を有する。
【0008】
本発明の適用例に係る蓋閉め装置は、
本発明の適用例に係る容器供給装置と、
ロボットアームを有するロボットと、
前記ロボットアームに取り付けられ、前記容器供給装置で供給された前記容器としての蓋体を、収容体に被せて、前記収容体に嵌合させる蓋閉め治具と、
を備える。
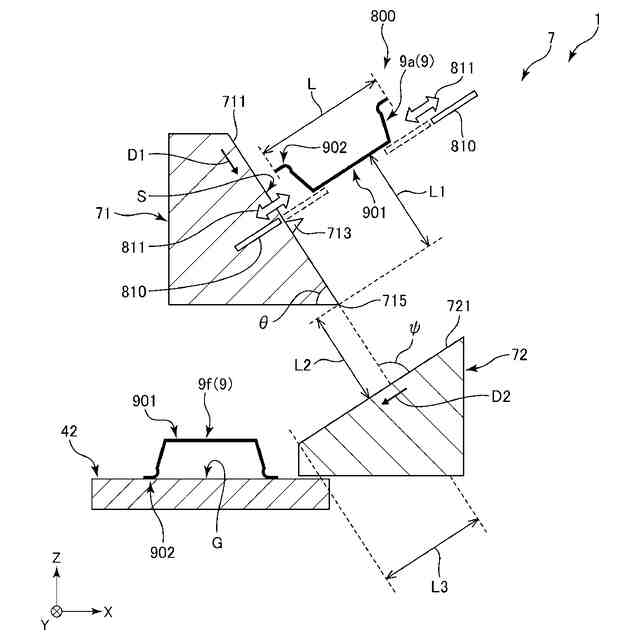
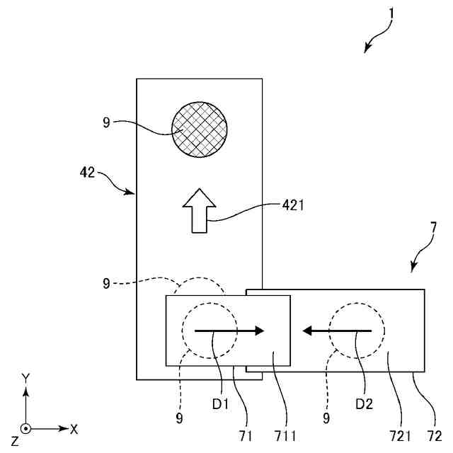
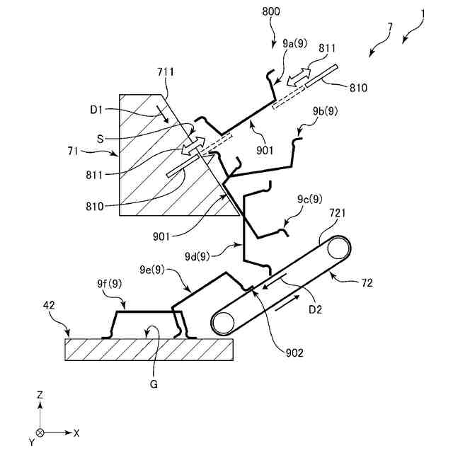
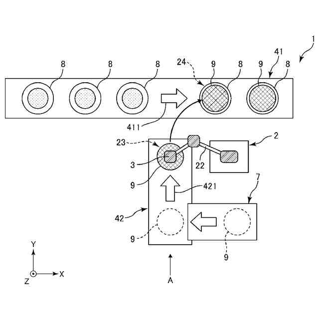
【図面の簡単な説明】
【0009】
第1実施形態に係る蓋閉め装置を示す概略図である。
図1の蓋閉め装置による蓋閉め作業に供される収容体および蓋体の形状の一例を示す断面図である。
図1に示す容器供給装置の断面を矢印Aの方向から見た断面図である。
図1に示す容器供給装置の断面を矢印Aの方向から見た断面図である。
図3に示す容器供給装置を鉛直上方から見た上面図である。
図3に示す容器貯留部の詳細図である。
図3に示す容器貯留部の詳細図である。
実施形態に係る容器供給方法の構成を示すフローチャートである。
第2実施形態に係る蓋閉め装置を示す断面図である。
【発明を実施するための形態】
【0010】
以下、本発明の容器供給装置、容器供給方法および蓋閉め装置を添付図面に示す実施形態に基づいて詳細に説明する。
(【0011】以降は省略されています)
この特許をJ-PlatPat(特許庁公式サイト)で参照する
関連特許
セイコーエプソン株式会社
シート製造装置
4日前
セイコーエプソン株式会社
時計用部品及び時計
4日前
セイコーエプソン株式会社
成形方法及び成形装置
4日前
セイコーエプソン株式会社
三次元造形物の製造方法
4日前
セイコーエプソン株式会社
印刷装置、及び制御方法
4日前
セイコーエプソン株式会社
電気光学装置および電子機器
4日前
セイコーエプソン株式会社
記録装置、及びクリーニング装置
4日前
セイコーエプソン株式会社
印刷装置及び印刷装置の制御方法
4日前
セイコーエプソン株式会社
容器供給装置、容器供給方法および蓋閉め装置
4日前
セイコーエプソン株式会社
電気光学装置、電気光学パネル及びドライバー
4日前
セイコーエプソン株式会社
材料吐出装置、三次元造形装置、及び射出成形装置
4日前
セイコーエプソン株式会社
記録装置
4日前
セイコーエプソン株式会社
記録装置
4日前
セイコーエプソン株式会社
液体吐出装置
4日前
セイコーエプソン株式会社
固定状態判定方法、固定状態判定装置および固定状態判定システム
4日前
セイコーエプソン株式会社
粒子被覆膜厚記録ユニット、粒子被覆装置および粒子被覆膜厚管理方法
4日前
セイコーエプソン株式会社
エンコーダーの故障診断方法、ロボット監視装置およびロボットシステム
4日前
セイコーエプソン株式会社
プルーフ画像データを作成する方法、プルーフ画像データ作成装置、および、コンピュータープログラム
4日前
セイコーエプソン株式会社
プルーフ画像データを作成する方法、プルーフ画像データ作成装置、および、コンピュータープログラム
4日前
セイコーエプソン株式会社
プルーフ画像データを作成する方法、プルーフ画像データ作成装置、および、コンピュータープログラム
4日前
セイコーエプソン株式会社
振動素子、物理量センサー、慣性計測装置、電子機器および移動体
4日前
個人
束ね具
28日前
個人
テープ引出機
28日前
個人
棒状体収容容器
1か月前
株式会社和気
包装用箱
1か月前
株式会社ナベル
検査装置
1か月前
三甲株式会社
運搬具
1か月前
個人
計量キャップ付き容器
19日前
三甲株式会社
運搬具
20日前
三甲株式会社
容器
11日前
株式会社三和
包装用容器
1か月前
個人
Uターン押出収納器
13日前
村田機械株式会社
搬送車
25日前
伊東電機株式会社
搬送装置
5日前
朝日印刷株式会社
包装用箱
19日前
三甲株式会社
緩衝材
1か月前
続きを見る
他の特許を見る