TOP
|
特許
|
意匠
|
商標
特許ウォッチ
Twitter
他の特許を見る
10個以上の画像は省略されています。
公開番号
2025177617
公報種別
公開特許公報(A)
公開日
2025-12-05
出願番号
2024084622
出願日
2024-05-24
発明の名称
三次元造形物の製造方法
出願人
セイコーエプソン株式会社
代理人
個人
,
個人
,
個人
主分類
B29C
64/393 20170101AFI20251128BHJP(プラスチックの加工;可塑状態の物質の加工一般)
要約
【課題】層を積層することで造形される三次元造形物の品質を向上できる技術を提供する。
【解決手段】三次元造形物の製造方法は、第n番目の層を積層する第1積層工程と、第n番目の層の温度分布を測定する温度測定工程と、第n番目の層の温度分布を予測する温度予測工程の、少なくともいずれか1つの工程と、第n番目の層の温度分布に基づいて、第n+1番目の層の造形データを生成または修正するデータ生成工程と、生成または修正された第n+1番目の層の造形データに基づいて第n+1番目の層を積層する第2積層工程と、を備え、第n番目の層は、第1領域および第2領域を有し、第1領域は、第2領域よりも温度の低い領域であり、データ生成工程において、第2領域の上方よりも第1領域の上方に先に造形材料が積層されるように、第n+1番目の層の造形データを生成または修正する。
【選択図】図6
特許請求の範囲
【請求項1】
三次元造形物の形状を表す形状データに基づいて生成された、前記三次元造形物を層ごとに造形するための造形データに従って、三次元造形装置に備えられた吐出部から造形材料を吐出させて複数の層を積層することで前記三次元造形物を造形する、三次元造形物の製造方法であって、
nを1以上の任意の整数としたとき、
前記吐出部から前記造形材料を吐出させて第n番目の層を積層する第1積層工程と、
前記第n番目の層の温度分布を測定する温度測定工程と、前記第n番目の層の温度分布を予測する温度予測工程の、少なくともいずれか1つの工程と、
前記第n番目の層の前記温度分布に基づいて、第n+1番目の層の前記造形データを生成または修正するデータ生成工程と、
生成または修正された前記第n+1番目の層の前記造形データに基づいて、前記吐出部から前記造形材料を吐出させて前記第n+1番目の層を積層する第2積層工程と、を備え、
前記第n番目の層は、第1領域および第2領域を有し、
前記第1領域は、前記第2領域よりも温度の低い領域であり、
前記データ生成工程において、前記第2領域の上方よりも前記第1領域の上方に先に前記造形材料が積層されるように、前記第n+1番目の層の前記造形データを生成または修正する、
三次元造形物の製造方法。
続きを表示(約 1,200 文字)
【請求項2】
請求項1に記載の三次元造形物の製造方法であって、
前記第n番目の層は、複数の前記第1領域と、前記複数の第1領域に接する前記第2領域と、を有し、
前記データ生成工程において、前記第2領域の上方に前記造形材料が積層されることを許容しつつ、前記造形材料の吐出を停止させることなく前記複数の第1領域の上方に前記造形材料が積層されるように、前記第n+1番目の層の前記造形データを生成または修正する、
三次元造形物の製造方法。
【請求項3】
請求項1に記載の三次元造形物の製造方法であって、
前記第n番目の層は、複数の前記第1領域を有し、
前記データ生成工程において、前記複数の第1領域の上方に前記造形材料が積層された後に、前記第2領域の上方に前記造形材料が積層されるように、前記第n+1番目の層の前記造形データを生成または修正する、
三次元造形物の製造方法。
【請求項4】
請求項1に記載の三次元造形物の製造方法であって、
前記温度測定工程において、前記第n番目の層の温度分布の時間変化を測定し、
前記温度予測工程において、前記第n番目の層の温度分布の時間変化を予測し、
前記第1領域または前記第2領域は、第3領域および第4領域を有し、
前記第3領域は、前記第4領域よりも温度が速く低下する領域であり、
前記データ生成工程において、前記第n番目の層の前記温度分布の時間変化に基づいて、前記第4領域の上方よりも前記第3領域の上方に先に前記造形材料が積層されるように、前記第n+1番目の層の前記造形データを生成または修正する、
三次元造形物の製造方法。
【請求項5】
請求項1に記載の三次元造形物の製造方法であって、
前記データ生成工程において、前記第1領域の上方に前記造形材料を積層するときの前記吐出部の移動速度である第1速度と、前記第2領域の上方に前記造形材料を積層するときの前記吐出部の移動速度である第2速度と、を設定し、
前記第1速度は、前記第2速度よりも速い、
三次元造形物の製造方法。
【請求項6】
請求項1に記載の三次元造形物の製造方法であって、
前記温度測定工程および前記温度予測工程を有し、
前記データ生成工程は、
前記温度予測工程における前記第n番目の層の前記温度分布の予測結果に基づいて、前記第n+1番目の層の前記造形データを生成する第1データ生成工程と、
前記温度測定工程における前記第n番目の層の前記温度分布の測定結果に基づいて、前記第1データ生成工程で生成された前記第n+1番目の層の前記造形データを修正する第2データ生成工程と、を有する、
三次元造形物の製造方法。
発明の詳細な説明
【技術分野】
【0001】
本開示は、三次元造形物の製造方法に関する。
続きを表示(約 2,400 文字)
【背景技術】
【0002】
特許文献1には、溶融した熱可塑性の材料を、予め設定された形状データにしたがって走査する押出ノズルから基台上に押し出し、その基台上で硬化した材料の上にさらに溶融した材料を積層して3次元物体を作成する技術が開示されている。
【先行技術文献】
【特許文献】
【0003】
特開2006-192710号公報
【発明の概要】
【発明が解決しようとする課題】
【0004】
層を積層することで造形される三次元造形物の品質を向上できる技術が望まれている。
【課題を解決するための手段】
【0005】
本開示の第1の形態によれば、三次元造形物の製造方法が提供される。この三次元造形物の製造方法は、三次元造形物の形状を表す形状データに基づいて生成された、前記三次元造形物を層ごとに造形するための造形データに従って、三次元造形装置に備えられた吐出部から造形材料を吐出させて複数の層を積層することで前記三次元造形物を造形する、三次元造形物の製造方法であって、nを1以上の任意の整数としたとき、前記吐出部から前記造形材料を吐出させて第n番目の層を積層する第1積層工程と、前記第n番目の層の温度分布を測定する温度測定工程と、前記第n番目の層の温度分布を予測する温度予測工程の、少なくともいずれか1つの工程と、前記第n番目の層の前記温度分布に基づいて、第n+1番目の層の前記造形データを生成または修正するデータ生成工程と、生成または修正された前記第n+1番目の層の前記造形データに基づいて、前記吐出部から前記造形材料を吐出させて前記第n+1番目の層を積層する第2積層工程と、を備え、前記第n番目の層は、第1領域および第2領域を有し、前記第1領域は、前記第2領域よりも温度の低い領域であり、前記データ生成工程において、前記第2領域の上方よりも前記第1領域の上方に先に前記造形材料が積層されるように、前記第n+1番目の層の前記造形データを生成または修正する。
【図面の簡単な説明】
【0006】
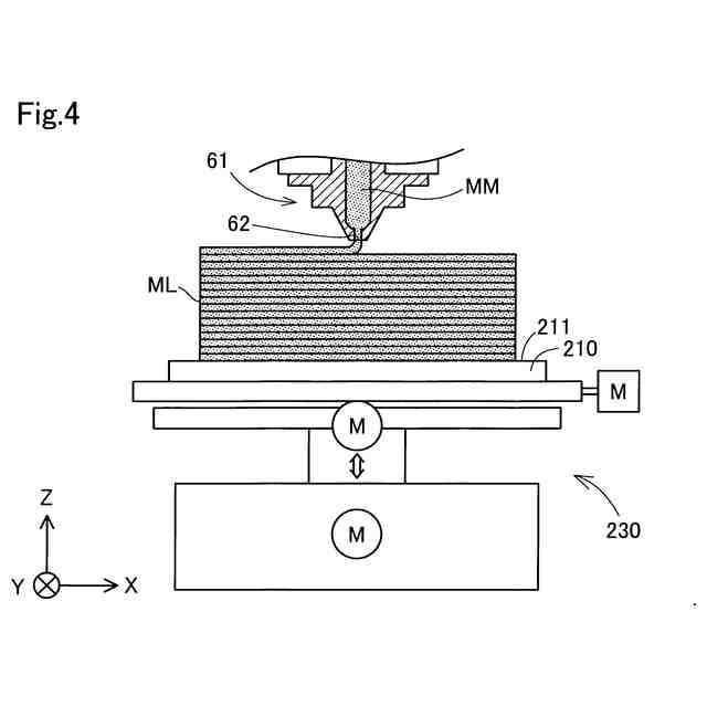
第1実施形態における三次元造形システムの概略構成を示す説明図。
スクリューの概略構成を示す斜視図。
バレルの概略平面図。
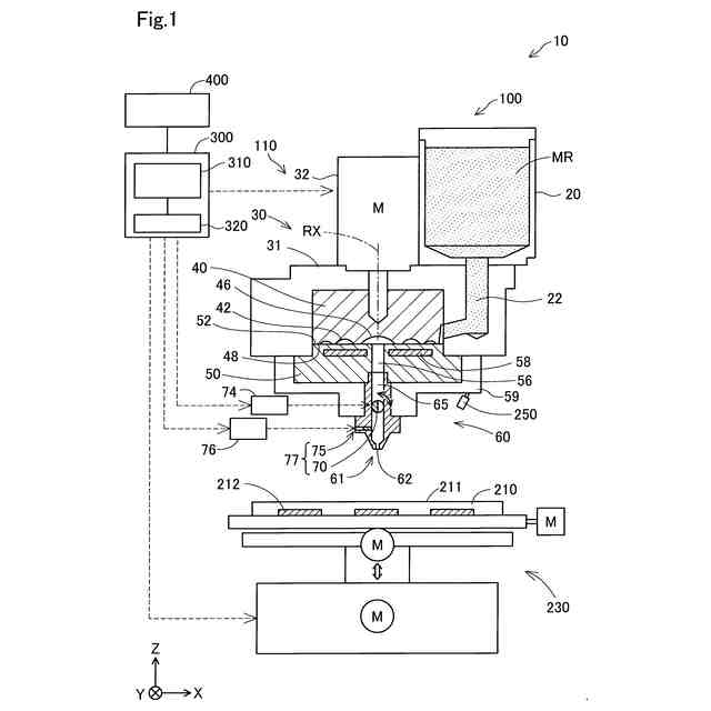
三次元造形装置が三次元造形物を造形する様子を模式的に示す説明図。
情報処理装置の概略構成を示す説明図。
造形処理のフローチャート。
ステップS40で生成される第n+1層の造形データに含まれる、ノズルの移動経路の例を示す図。
ステップS40で生成される第n+1層の造形データに含まれる、ノズルの移動経路の他の例を示す図。
ステップS90で修正された第n+1層の造形データに含まれる、ノズルの移動経路の例を示す図。
ステップS90で修正された第n+1層の造形データに含まれる、ノズルの移動経路の他の例を示す図。
第2実施形態における、造形処理のステップS40で生成される第n+1層の造形データに含まれる、ノズルの移動経路の例を示す図。
第2実施形態における、造形処理のステップS90で修正された第n+1層の造形データに含まれる、ノズルの移動経路の例を示す図。
第3実施形態における造形処理のフローチャート。
ステップS41で生成される第n+1層の造形データに含まれる、ノズル61の移動経路の例を示す図。
ステップS91で修正された第n+1層の造形データに含まれる、ノズル61の移動経路の例を示す図。
第4実施形態における造形処理のフローチャート。
第5実施形態における造形処理のフローチャート。
第6実施形態における造形処理のフローチャート。
第7実施形態における造形処理のフローチャート。
第8実施形態における造形処理のフローチャート。
【発明を実施するための形態】
【0007】
A.第1実施形態:
図1は、第1実施形態における三次元造形システム10の概略構成を示す説明図である。図1には、互いに直交するX,Y,Z方向を表す矢印が示されている。X方向およびY方向は、水平面に平行な方向である。Z方向は、鉛直方向に平行な方向である。図1におけるX,Y,Z方向と、他の図におけるX,Y,Z方向とは、同じ方向を指し示している。向きを特定する場合には、矢印の指し示す方向である正の方向を「+」、矢印の指し示す方向とは反対の方向である負の方向を「-」として、方向表記に正負の符号を併用する。
【0008】
三次元造形システム10は、三次元造形装置100と情報処理装置400とを備えている。本実施形態の三次元造形装置100は、材料押出方式によって三次元造形物を造形する装置である。三次元造形装置100は、三次元造形装置100の各部を制御するための制御部300を備えている。制御部300と情報処理装置400とは、相互に通信可能に接続されている。
【0009】
三次元造形装置100は、造形材料を生成して吐出する造形部110と、三次元造形物の基台となる造形用のステージ210と、造形材料の吐出位置を制御する移動機構230と、ステージ210上に吐出された造形材料の温度分布を測定する温度測定部250と、を備える。
【0010】
造形部110は、制御部300の制御下において、固体状態の材料を可塑化させた造形材料をステージ210上に吐出する。造形部110は、造形材料に転化される前の原材料の供給源である材料供給部20と、原材料を造形材料へと転化させる可塑化部30と、造形材料を吐出する吐出部60と、を備える。
(【0011】以降は省略されています)
この特許をJ-PlatPat(特許庁公式サイト)で参照する
関連特許
個人
気泡緩衝材減容装置
2か月前
豊田鉄工株式会社
金型
4か月前
CKD株式会社
型用台車
11か月前
シーメット株式会社
光造形装置
11か月前
グンゼ株式会社
ピン
12か月前
東レ株式会社
フィルムの製造方法
8か月前
東レ株式会社
フィルムの製造方法
5か月前
東レ株式会社
フィルムの製造方法
5か月前
株式会社 型善
射出成形型
20日前
個人
樹脂可塑化方法及び装置
10か月前
株式会社エフピコ
賦形シート
1か月前
株式会社FTS
ロッド
10か月前
日機装株式会社
加圧システム
7か月前
東レ株式会社
複合成形体の製造方法
1か月前
東レ株式会社
フィルムの製造方法。
4か月前
株式会社カワタ
計量混合装置
6か月前
東レ株式会社
樹脂フィルムの製造方法
6か月前
トヨタ自動車株式会社
射出装置
9か月前
NOK株式会社
樹脂ゴム複合体
3か月前
株式会社FTS
成形装置
11か月前
株式会社漆原
シートの成形方法
6か月前
東レ株式会社
炭素繊維シートの製造方法
7か月前
株式会社神戸製鋼所
混練機
9か月前
株式会社日本製鋼所
監視システム
11日前
株式会社不二越
射出成形機
8か月前
株式会社不二越
射出成形機
8か月前
株式会社不二越
射出成形機
6か月前
株式会社FTS
セパレータ
10か月前
株式会社コスメック
射出成形装置
6か月前
株式会社不二越
射出成形機
3か月前
株式会社不二越
射出成形機
8か月前
トヨタ自動車株式会社
真空成形装置
7か月前
ダイハツ工業株式会社
3Dプリンタ
1か月前
足立建設工業株式会社
製管機
25日前
日産自動車株式会社
成形装置
5か月前
東レ株式会社
溶融押出装置および押出方法
11か月前
続きを見る
他の特許を見る