TOP
|
特許
|
意匠
|
商標
特許ウォッチ
Twitter
他の特許を見る
公開番号
2025174806
公報種別
公開特許公報(A)
公開日
2025-11-28
出願番号
2024179538
出願日
2024-10-15
発明の名称
監視システム
出願人
株式会社日本製鋼所
代理人
個人
主分類
B29C
45/76 20060101AFI20251120BHJP(プラスチックの加工;可塑状態の物質の加工一般)
要約
【課題】遠隔地に設置された射出成形機によって成形された成形品の良否判定結果を速やかにユーザに提示することが可能な監視システムを提供すること。
【解決手段】本開示にかかる監視システムは、第1エリアに設置された第1射出成形機と、第1射出成形機とともに第1エリアに設置された第1管理装置と、監視装置と、を備え、第1管理装置は、第1射出成形機によって成形された成形品である第1成形品の成形条件及び測定データを取得する第1取得部と、第1成形品の測定データから第1成形品の良否を判定する第1判定部と、第1成形品の成形条件、測定データ、及び、良否判定結果を、ネットワーク上において管理されている記憶領域に送信する第1通信部と、を有し、監視装置は、記憶領域に記憶された第1成形品の成形条件、測定データ、及び、良否判定結果を、ネットワークを介して受信して、モニタに表示させる。
【選択図】図1
特許請求の範囲
【請求項1】
第1エリアに設置された第1射出成形機と、
前記第1射出成形機とともに前記第1エリアに設置された第1管理装置と、
監視装置と、
を備え、
前記第1管理装置は、
前記第1射出成形機によって成形された成形品である第1成形品の成形条件及び測定データを取得する第1取得部と、
前記第1成形品の測定データから当該第1成形品の良否を判定する第1判定部と、
前記第1成形品の成形条件、測定データ、及び、良否判定結果を、ネットワーク上において管理されている記憶領域に送信する第1通信部と、
を有し、
前記監視装置は、前記記憶領域に記憶された前記第1成形品の成形条件、測定データ、及び、良否判定結果を、前記ネットワークを介して受信して、モニタに表示させる、
監視システム。
続きを表示(約 1,200 文字)
【請求項2】
第2エリアに設置された第2射出成形機と、
前記第2射出成形機とともに前記第2エリアに設置された第2管理装置と、
をさらに備え、
前記第2管理装置は、
前記第2射出成形機によって成形された成形品である第2成形品の成形条件及び測定データを取得する第2取得部と、
前記第2成形品の測定データから当該第2成形品の良否を判定する第2判定部と、
前記第2成形品の成形条件、測定データ、及び、良否判定結果を、前記ネットワーク上において管理されている記憶領域に送信する第2通信部と、
を有し、
前記監視装置は、前記記憶領域に記憶された前記第2成形品の成形条件、測定データ、及び、良否判定結果を、前記ネットワークを介して受信して、前記モニタにさらに表示させる、
請求項1に記載の監視システム。
【請求項3】
前記監視装置は、不良品と判定された成形品の成形条件を強調表示させる、
請求項1に記載の監視システム。
【請求項4】
前記監視装置は、不良品と判定された成形品の成形条件と、良品と判定された成形品の成形条件と、を比較し、その比較結果に基づいて抽出された不良品と判定された成形品の成形条件についての改善点を、前記モニタに表示させる、
請求項1に記載の監視システム。
【請求項5】
成形品の成形条件には、成形品の原料を金型内に射出するのに用いられるスクリューの射出開始位置、前記金型内に射出される原料の射出時間、及び、前記金型内に射出される原料の温度、についての条件が少なくとも含まれる、
請求項1に記載の監視システム。
【請求項6】
前記第1通信部は、前記第1成形品の成形条件、測定データ、及び、良否判定結果のそれぞれについてのcsv形式のデータを前記記憶領域に送信し、
前記監視装置は、前記記憶領域においてcsv形式のデータから表形式のデータに変換された、前記第1成形品の成形条件、測定データ、及び、良否判定結果を、前記モニタに表示させる、
請求項1に記載の監視システム。
【請求項7】
前記第1通信部は、前記記憶領域に記憶された前記第1成形品の成形条件に関する情報を取得して、前記第1射出成形機に適用可能に構成されている、
請求項1に記載の監視システム。
【請求項8】
前記第1管理装置は、前記第1射出成形機に異常が発生した場合にアラームを出力する警報部をさらに備え、
前記第1通信部は、前記第1射出成形機に異常が発生したことを、前記記憶領域にさらに送信し、
前記監視装置は、前記第1射出成形機に異常が発生したことが前記記憶領域に登録された場合に、予め指定されたメールアドレス宛て又はアカウント宛てにその旨を通知する通知部をさらに備えた、
請求項1に記載の監視システム。
発明の詳細な説明
【技術分野】
【0001】
本開示は、監視システムに関する。
続きを表示(約 1,200 文字)
【背景技術】
【0002】
射出成形機により成形される成形品の歩留まりを向上させるため、射出成形機により成形された成形品の良否判定結果を速やかにユーザに提示することが求められている。
【0003】
射出成形機に関する技術は、例えば特許文献1に開示されている。
【先行技術文献】
【特許文献】
【0004】
特開2009-000929号公報
【発明の概要】
【発明が解決しようとする課題】
【0005】
さらに近年では、射出成形機の設置エリアと、射出成形機による成形品の成形状況を監視する監視エリアと、が離れている場合でも、射出成形機によって成形された成形品の良否判定結果を速やかにユーザ(監視者)に提示することが求められている。
【0006】
その他の課題と新規な特徴は、本明細書の記述および添付図面から明らかになるであろう。
【課題を解決するための手段】
【0007】
本開示にかかる監視システムは、第1エリアに設置された第1射出成形機と、前記第1射出成形機に取り付けられた第1管理装置と、監視装置と、を備え、前記第1管理装置は、前記第1射出成形機によって成形された成形品である第1成形品の成形条件及び測定データを取得する第1取得部と、前記第1成形品の測定データから当該第1成形品の良否を判定する第1判定部と、前記第1成形品の成形条件、測定データ、及び、良否判定結果を、ネットワーク上において管理されている記憶領域に送信する第1通信部と、を有し、前記監視装置は、前記記憶領域に記憶された前記第1成形品の成形条件、測定データ、及び、良否判定結果を、前記ネットワークを介して受信して、モニタに表示させる。
【発明の効果】
【0008】
本開示によれば、遠隔地に設置された射出成形機によって成形された成形品の良否判定結果を速やかにユーザに提示することが可能な監視システムを提供することができる。
【図面の簡単な説明】
【0009】
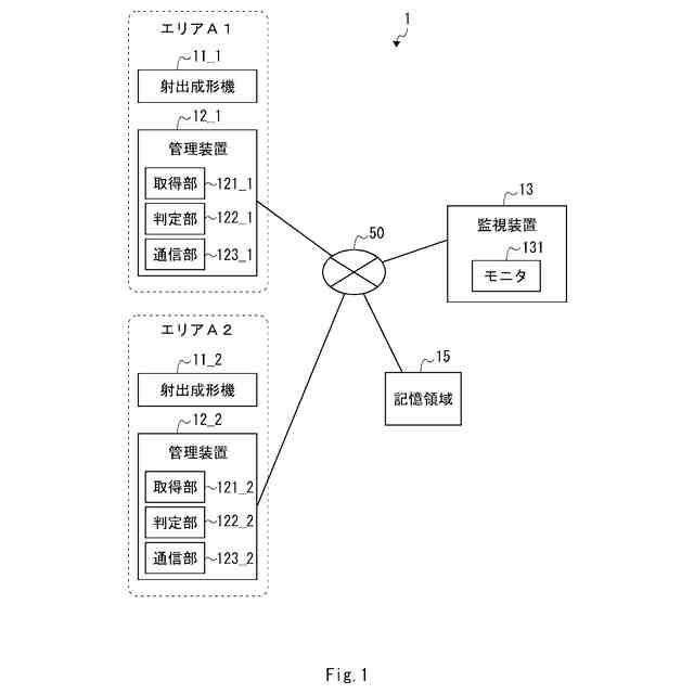
実施の形態1にかかる監視システムの構成例を示すブロック図である。
実施の形態1にかかる監視システムにおいて抽出されたデータの一例を示す図である。
実施の形態2にかかる監視システムの構成例を示すブロック図である。
【発明を実施するための形態】
【0010】
<実施の形態1>
図1は、実施の形態1にかかる監視システム1の構成例を示すブロック図である。監視システム1は、遠隔地に設置された射出成形機によって成形された成形品の良否判定結果を速やかにユーザに提示するシステムである。以下、具体的に説明する。
(【0011】以降は省略されています)
この特許をJ-PlatPat(特許庁公式サイト)で参照する
関連特許
株式会社日本製鋼所
監視システム
1日前
株式会社日本製鋼所
射出成形装置、その制御方法、及びプログラム
10日前
株式会社日本製鋼所
回転子を回転させる装置及び回転子を回転させる方法
22日前
株式会社日本製鋼所
射出成形機、射出装置、型締装置、およびデータ処理方法
24日前
株式会社日本製鋼所
押出機、押出機用のスクリュおよび押出機用のスクリュの分解方法
1か月前
株式会社日本製鋼所
竪型型締装置、竪型射出成形機および竪型型締装置のメンテナンス方法
1か月前
株式会社日本製鋼所
異常検知システム、成形機システム、異常検知装置、異常検知方法及びコンピュータプログラム
1か月前
個人
気泡緩衝材減容装置
2か月前
豊田鉄工株式会社
金型
4か月前
CKD株式会社
型用台車
11か月前
シーメット株式会社
光造形装置
11か月前
東レ株式会社
フィルムの製造方法
8か月前
東レ株式会社
フィルムの製造方法
4か月前
グンゼ株式会社
ピン
11か月前
株式会社 型善
射出成形型
10日前
東レ株式会社
フィルムの製造方法
4か月前
株式会社カワタ
計量混合装置
6か月前
東レ株式会社
フィルムの製造方法。
4か月前
株式会社FTS
ロッド
10か月前
株式会社エフピコ
賦形シート
24日前
東レ株式会社
複合成形体の製造方法
1か月前
日機装株式会社
加圧システム
7か月前
個人
樹脂可塑化方法及び装置
10か月前
トヨタ自動車株式会社
射出装置
8か月前
東レ株式会社
樹脂フィルムの製造方法
6か月前
NOK株式会社
樹脂ゴム複合体
2か月前
株式会社FTS
成形装置
11か月前
株式会社漆原
シートの成形方法
6か月前
株式会社不二越
射出成形機
6か月前
株式会社コスメック
射出成形装置
6か月前
株式会社FTS
セパレータ
10か月前
株式会社日本製鋼所
監視システム
1日前
株式会社不二越
射出成形機
3か月前
東レ株式会社
炭素繊維シートの製造方法
7か月前
株式会社不二越
射出成形機
7か月前
株式会社不二越
射出成形機
7か月前
続きを見る
他の特許を見る