TOP
|
特許
|
意匠
|
商標
特許ウォッチ
Twitter
他の特許を見る
10個以上の画像は省略されています。
公開番号
2025169826
公報種別
公開特許公報(A)
公開日
2025-11-14
出願番号
2024074996
出願日
2024-05-02
発明の名称
製管機
出願人
足立建設工業株式会社
代理人
個人
,
個人
主分類
B29C
63/32 20060101AFI20251107BHJP(プラスチックの加工;可塑状態の物質の加工一般)
要約
【課題】構造を簡素化でき、これにより軽量化できるとともに分割構造にし得て、管渠内の流水から受ける力を軽減できる製管機を提供する。
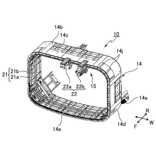
【解決手段】管渠11内に長尺材12を螺旋状に配置して隣り合う長尺材12同士を連結することで管状体13を構築する製管機10であって、管渠11の一部に移動可能に配置される環状の長尺材支持フレーム14と長尺材支持フレーム14に長尺材12を巻き付ける巻付装置15とを備え、長尺材支持フレーム14を、管状体13の内周面に対応した形状に形成して長尺材12を巻き付ける外周面14cを有し、外周面14cを管渠11の軸方向に平坦に形成する。さらに長尺材支持フレーム14を管渠11の底部11aから上昇させた位置に支持するリフト装置16を備える場合は、管状体13の外側から外周面14cを支持して長尺材支持フレーム14を上昇させることができる。
【選択図】図1
特許請求の範囲
【請求項1】
管渠内に長尺材を螺旋状に配置して隣り合う前記長尺材同士を連結して管状体を構築する製管機であって、
前記管渠内に移動可能に配置され、順次繰り出された長尺材を巻き付けて該長尺材同士を連結するための環状の長尺材支持フレームと、
前記長尺材支持フレームの外周に前記長尺材を巻き付ける巻付装置と、を備え、
前記巻付装置は、
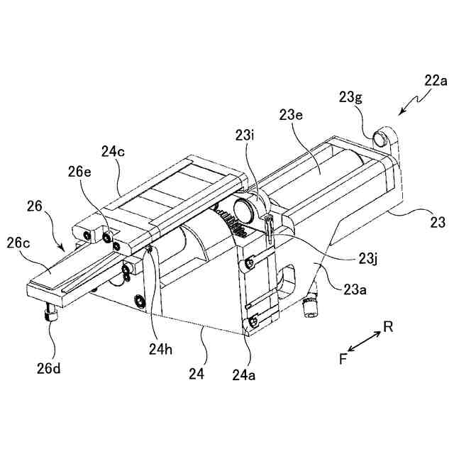
管渠の内周面に沿うように前記長尺材支持フレームの端部に固定して設けられた環状の移動ガイドと、
前記移動ガイドに沿って自走しつつ、連続した長尺材を順次前記長尺材支持フレームの外周に巻き付けつつ長尺材同士を連結するコースターと、を有する、製管機。
続きを表示(約 1,000 文字)
【請求項2】
前記移動ガイドは、前記長尺材支持フレームの端部の外周より内側に設置されて管渠の内周面に沿う形状のラックギアを有し、前記コースターは、前記ラックギアと噛合して回転駆動されるピニオンギアを有する、請求項1に記載の製管機。
【請求項3】
前記移動ガイドは、前記長尺材支持フレームの内側に前記コースターを支持するガイドレールを有する、請求項2に記載の製管機。
【請求項4】
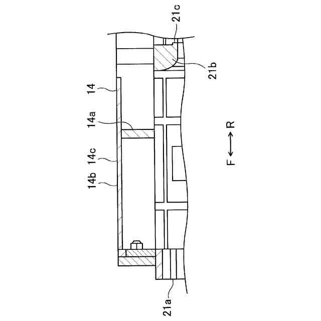
前記長尺材支持フレームの少なくとも端部には、前記長尺材を巻き付ける環状の外周面が前記長尺材支持フレームの最外側となるように設けられている、請求項1に記載の製管機。
【請求項5】
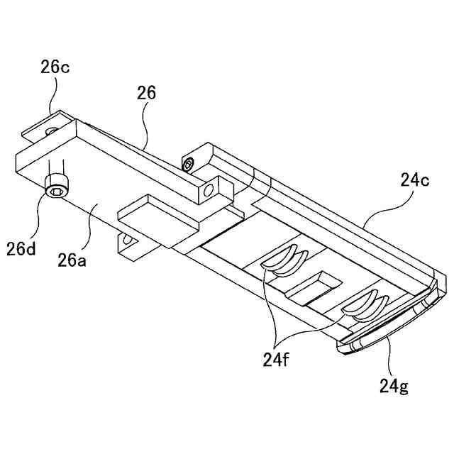
前記コースターは、前記長尺材を前記長尺材支持フレームに巻き付けつつ隣り合う長尺材同士を嵌合するための嵌合コースターと、導入された長尺材を前記嵌合コースターに向きを揃えて供給するためのガイドコースターと、を有し、前記嵌合コースターと前記ガイドコースターとは同じ前記移動ガイドを自走する、請求項1に記載の製管機。
【請求項6】
前記コースターを複数有し、前記複数のコースターは、同じ前記移動ガイドを自走するための駆動部を共通に有するとともに、前記駆動部に連結されて互いに異なる機能を実行する機能部をそれぞれ有している、請求項1に記載の製管機。
【請求項7】
前記長尺材支持フレーム及び前記移動ガイドは、複数の分割体からなり、前記複数の分割体は、それぞれ部分長尺材支持フレーム及び部分移動ガイドを一体に有し、前記複数の分割体が周方向に連結されることで、前記長尺材支持フレーム及び移動ガイドが環状に形成される、請求項1に記載の製管機。
【請求項8】
前記ラックギアにはギア歯が内向きに突出して設けられ、該ラックギアは、直線形状部と曲線形状部とを有し、前記曲線形状部は、前記直線形状部より厚く形成されている、請求項2に記載の製管機。
【請求項9】
前記ラックギアの厚みは、前記直線形状部と前記曲線形状部との間で徐々に変化するとともに、前記曲線形状部の曲率半径が小さい程大きくなるように変化する、請求項8に記載の製管機。
【請求項10】
前記ラックギアにはギア歯が内向きに突出して設けられ、前記コースターは前記ラックギアを前記ピニオンギアとの間で挟持する挟持部を有し、該挟持部がスプリングにより前記ピニオンギアとの間で弾性的に変位可能である、請求項8に記載の製管機。
発明の詳細な説明
【技術分野】
【0001】
本発明は、管渠内に管状体を構築するための製管機に関する。
続きを表示(約 1,800 文字)
【背景技術】
【0002】
従来、管渠内への管状体の構築工法として、既設の管渠内に長尺材を螺旋状に配置して隣り合う長尺材同士を連結して管状体を構築し、さらに、例えば裏込め材等により管状体と既設の管渠とを一体化して複合管を構築する工法が知られている。
【0003】
このような工法では、長尺材を螺旋状に配置して長尺材同士を連結するために製管機が用いられている。例えば特許文献1には、管渠内に配置された規制フレームと、規制フレームの外周囲全長を囲んで配置された屈撓自在な成形フレームと、を有する製管機が開示されている。
【0004】
このような製管機では、成形フレームは多数の内面ローラを有し、各内面ローラ間がリンク体で連結されることで形成されている。各内側ローラは案内子により規制フレームの外周囲に移動可能に支持されている。そして、成形フレームの一部に固定された駆動機構には外面ローラが設けられていて、この外面ローラと内面ローラとの間で、帯状部材を挟み込みながら成形フレームが規制フレームの外周囲を移動することで、帯状部材を螺旋状に配置しつつ連結して管状体を構築している。
【先行技術文献】
【特許文献】
【0005】
特開2019-214178号公報
【発明の概要】
【発明が解決しようとする課題】
【0006】
しかしながら、このような従来の製管機では、多数の内側ローラを連結した成形フレームが、案内子を介して規制フレームの周囲に移動可能に配置されているため、規制フレームは、複雑な構成の成形フレームを移動可能に支持しなければならず、十分な剛性を確保するために厚みが厚く重量が嵩んでいた。しかも、規制フレームの外周の全周囲に特殊な成形フレームが配置されているため、製管機全体の重量は一層重くなり、管渠内に設置したり、移動させたりするのに作業者の負担が大きかった。また複雑な構造で強度も確保するため分割構造にすることも容易でなかった。
さらに管渠内に設置した状態では、管渠の軸方向に対して直交して配置される規制フレーム及び成形フレームを含む製管機の厚みも厚かった。そのため、製管機が流水に対して直交する方向に配置されると、流水を阻害する面積が大きく、流水から受ける力も大きかった。
【0007】
そこで、本発明では、製管機の構造を簡素化でき、これにより大幅に軽量化できるとともに分割構造にすることが容易で、管渠内の流水から受ける力を軽減できる製管機を提供することを目的とする。
【課題を解決するための手段】
【0008】
上記課題を解決する本発明の製管機は、管渠内に長尺材を螺旋状に配置し、隣り合う長尺材同士を連結して管状体を構築する製管機において、管渠の軸方向の一部に移動可能に配置される環状の長尺材支持フレームと、長尺材支持フレームの外周に長尺材を巻き付ける巻付装置と、備え、この巻付装置は、管渠の内周面に沿うように長尺材支持フレームの端部に固定して設けられた環状の移動ガイドと、移動ガイドに沿って自走しつつ、連続した長尺材を順次長尺材支持フレームの外周に巻き付けるとともに長尺材同士を連結するコースターと、を備える構成にしたことを特徴としている。
【0009】
本発明の製管機によれば、環状の長尺材支持フレームの端部に環状の移動ガイドが固定して設けられている。そして、長尺材を長尺材支持フレームの外周に巻き付けて長尺材同士を連結するコースターは、移動ガイドに沿って自走することができる。よって、従来のように長尺材支持フレームに動作部分を設ける必要がなくなり、製管機の構造を簡素化することが可能である。
【0010】
本発明によれば、長尺材支持フレームを軽量化でき、また長尺材支持フレームの構造を簡素化及び軽量化することで分割構造にし得ることから、装置全体を小型化し得て管渠内への製管機の搬入が容易になる。さらに、長尺材支持フレームの外周に移動機構を設ける必要がないため長尺材支持フレームの厚みを薄くできて、管渠内の流水から受ける力を軽減することができる。
(【0011】以降は省略されています)
この特許をJ-PlatPat(特許庁公式サイト)で参照する
関連特許
足立建設工業株式会社
製管機
24日前
足立建設工業株式会社
管渠内ライニング施工における裏込め材の内圧対抗充填施工方法
2か月前
足立建設工業株式会社
管渠内ライニング施工における裏込め空間の仕切り施工方法及び該施工方法に使用される仕切り鉄板
10日前
個人
気泡緩衝材減容装置
2か月前
豊田鉄工株式会社
金型
4か月前
シーメット株式会社
光造形装置
11か月前
CKD株式会社
型用台車
11か月前
株式会社 型善
射出成形型
19日前
東レ株式会社
フィルムの製造方法
5か月前
東レ株式会社
フィルムの製造方法
5か月前
東レ株式会社
フィルムの製造方法
8か月前
グンゼ株式会社
ピン
12か月前
株式会社FTS
ロッド
10か月前
東レ株式会社
フィルムの製造方法。
4か月前
株式会社カワタ
計量混合装置
6か月前
日機装株式会社
加圧システム
7か月前
株式会社エフピコ
賦形シート
1か月前
個人
樹脂可塑化方法及び装置
10か月前
東レ株式会社
複合成形体の製造方法
1か月前
株式会社漆原
シートの成形方法
6か月前
東レ株式会社
樹脂フィルムの製造方法
6か月前
株式会社FTS
成形装置
11か月前
NOK株式会社
樹脂ゴム複合体
3か月前
トヨタ自動車株式会社
射出装置
9か月前
株式会社コスメック
射出成形装置
6か月前
株式会社不二越
射出成形機
6か月前
株式会社日本製鋼所
監視システム
10日前
株式会社FTS
セパレータ
10か月前
株式会社神戸製鋼所
混練機
9か月前
株式会社不二越
射出成形機
3か月前
株式会社不二越
射出成形機
8か月前
株式会社リコー
画像形成システム
12か月前
株式会社不二越
射出成形機
8か月前
株式会社不二越
射出成形機
8か月前
東レ株式会社
炭素繊維シートの製造方法
7か月前
三和合板株式会社
化粧板の製造装置
3か月前
続きを見る
他の特許を見る