TOP
|
特許
|
意匠
|
商標
特許ウォッチ
Twitter
他の特許を見る
10個以上の画像は省略されています。
公開番号
2025177083
公報種別
公開特許公報(A)
公開日
2025-12-05
出願番号
2024083603
出願日
2024-05-22
発明の名称
印刷装置、及び制御方法
出願人
セイコーエプソン株式会社
代理人
個人
,
個人
,
個人
,
個人
主分類
B65H
1/26 20060101AFI20251128BHJP(運搬;包装;貯蔵;薄板状または線条材料の取扱い)
要約
【課題】ユーザービリティーを向上させることができる印刷装置を提供すること。
【解決手段】印刷媒体へ画像を印刷する印刷部と、前記印刷媒体として利用されるロール紙の巻回体を収容可能な第1収容部と、前記印刷媒体として利用される1枚以上のカット紙を収容可能な第2収容部とを有し、予め決められた装着位置及び引出位置の間で、予め決められた引出方向と平行に摺動可能な給紙トレイと、前記第1収容部に収容された前記巻回体から前記ロール紙を前記印刷媒体として搬送する第1搬送部と、前記第2収容部に収容された前記1枚以上のカット紙を1枚ずつ前記印刷媒体として搬送する第2搬送部と、を備える印刷装置。
【選択図】図7
特許請求の範囲
【請求項1】
印刷媒体へ画像を印刷する印刷部と、
前記印刷媒体として利用されるロール紙の巻回体を収容可能な第1収容部と、前記印刷媒体として利用される1枚以上のカット紙を収容可能な第2収容部とを有し、予め決められた装着位置及び引出位置の間で、予め決められた引出方向と平行に摺動可能な給紙トレイと、
前記第1収容部に収容された前記巻回体から前記ロール紙を前記印刷媒体として搬送する第1搬送部と、
前記第2収容部に収容された前記1枚以上のカット紙を1枚ずつ前記印刷媒体として搬送する第2搬送部と、
を備える印刷装置。
続きを表示(約 1,500 文字)
【請求項2】
前記第1搬送部は、前記巻回体の軸周りに前記巻回体を回転させることによって前記ロール紙を前記印刷媒体として搬送する、
請求項1に記載の印刷装置。
【請求項3】
前記第1搬送部は、前記巻回体の外周面に当接して前記巻回体の軸周りに前記巻回体を回転させることによって前記ロール紙を前記印刷媒体として搬送する、
請求項2に記載の印刷装置。
【請求項4】
前記第1搬送部は、前記巻回体の軸方向における前記巻回体の両端のうちの少なくとも一方に当接して前記巻回体の軸周りに前記巻回体を回転させることによって前記ロール紙を前記印刷媒体として搬送する、
請求項2に記載の印刷装置。
【請求項5】
前記第2搬送部は、前記1枚以上のカット紙のうち最上段に位置する搬送対象カット紙の上面と当接し、前記搬送対象カット紙を搬送する、
請求項1に記載の印刷装置。
【請求項6】
前記第1収容部に収容された前記巻回体から引き出された前記ロール紙と、前記第2収容部に収容された前記1枚以上のカット紙のそれぞれとの両方が通過する共通の搬送経路が形成されており、
前記第1収容部に収容された前記巻回体から引き出された前記ロール紙は、前記第2収容部の下方を通って前記搬送経路に合流する、
請求項1に記載の印刷装置。
【請求項7】
前記給紙トレイは、
前記第2収容部に収容された前記1枚以上のカット紙を1枚ずつ分離する分離斜面と、
前記第1収容部に収容された前記巻回体から引き出された前記ロール紙を前記搬送経路に案内する案内部と、
を有し、
前記分離斜面は、前記印刷媒体の搬送方向において、前記案内部の下流に位置し、
前記案内部は、前記分離斜面に接続する湾曲形状を成している、
請求項6に記載の印刷装置。
【請求項8】
前記給紙トレイは、
前記第2収容部に収容された前記1枚以上のカット紙を1枚ずつ分離する分離斜面と、
前記第1収容部に収容された前記巻回体から引き出された前記ロール紙を前記搬送経路に案内する案内部と、
を有し、
前記搬送経路は、前記印刷媒体の搬送方向において、前記分離斜面及び前記案内部の下流に位置し、
前記案内部は、前記分離斜面と接続しておらず、前記搬送経路に接続する湾曲形状を成している、
請求項6に記載の印刷装置。
【請求項9】
前記案内部は、前記分離斜面よりも前記印刷媒体の摺動負荷が小さい、
請求項7に記載の印刷装置。
【請求項10】
前記第1収容部への前記巻回体の収容の有無を検出する第1検出部と、
前記第2収容部への前記1枚以上のカット紙の収容の有無を検出する第2検出部と、
制御部と、
を備え、
前記制御部は、
前記第1検出部が前記巻回体の収容を検出しており、且つ、前記巻回体から引き出された前記ロール紙への画像の印刷を要求する印刷ジョブを受け付けた場合、前記第1搬送部によって前記ロール紙を前記印刷媒体として搬送し、
前記第2検出部が前記1枚以上のカット紙の収容を検出しており、且つ、前記1枚以上のカット紙のうちの少なくとも1枚への画像の印刷を要求する印刷ジョブを受け付けた場合、前記第2搬送部によって前記1枚以上のカット紙のうちの少なくとも1枚を前記印刷媒体として搬送する、
請求項1から9のうちいずれか一項に記載の印刷装置。
(【請求項11】以降は省略されています)
発明の詳細な説明
【技術分野】
【0001】
この開示は、印刷装置、及び制御方法に関する。
続きを表示(約 2,200 文字)
【背景技術】
【0002】
印刷媒体に画像を印刷する印刷装置についての研究、開発が行われている。
【0003】
これに関し、ロール紙の巻回体と、1枚以上のカット紙との両方を収容可能な給紙トレイを備え、巻回体が給紙トレイに収容されており、且つ、1枚以上のカット紙が給紙トレイに収容されていない場合、巻回体から引き出されたロール紙への画像の印刷を要求する印刷ジョブに基づく印刷を行い、巻回体が給紙トレイに収容されておらず、且つ、1枚以上のカット紙が給紙トレイに収容されている場合、1枚以上のカット紙のうちの少なくとも1枚への画像の印刷を要求する印刷ジョブに基づく印刷を行う印刷装置が知られている(特許文献1参照)。
【先行技術文献】
【特許文献】
【0004】
特開2022-183989号公報
【発明の概要】
【発明が解決しようとする課題】
【0005】
ここで、特許文献1に記載されたような印刷装置は、巻回体から引き出されたロール紙と、1枚以上のカット紙とのうち、受け付けた印刷ジョブに適した一方の紙が給紙トレイに収容されており、且つ他方の紙が給紙トレイに収容されていない状態でなければ、印刷を行うことができなかった。これは、印刷装置のユーザービリティーを低下させてしまうため、望ましいことではない。
【課題を解決するための手段】
【0006】
上記課題を解決するために本開示の一態様は、印刷媒体へ画像を印刷する印刷部と、前記印刷媒体として利用されるロール紙の巻回体を収容可能な第1収容部と、前記印刷媒体として利用される1枚以上のカット紙を収容可能な第2収容部とを有し、予め決められた装着位置及び引出位置の間で、予め決められた引出方向と平行に摺動可能な給紙トレイと、前記第1収容部に収容された前記巻回体から前記ロール紙を前記印刷媒体として搬送する第1搬送部と、前記第2収容部に収容された前記1枚以上のカット紙を1枚ずつ前記印刷媒体として搬送する第2搬送部と、を備える印刷装置である。
【0007】
また、本開示の一態様は、印刷媒体へ画像を印刷する印刷部と、前記印刷媒体として利用されるロール紙の巻回体を収容可能な第1収容部と、前記印刷媒体として利用される1枚以上のカット紙を収容可能な第2収容部とを有し、予め決められた装着位置及び引出位置の間で、予め決められた引出方向と平行に摺動可能な給紙トレイと、前記第1収容部に収容された前記巻回体から前記ロール紙を前記印刷媒体として搬送する第1搬送部と、前記第2収容部に収容された前記1枚以上のカット紙を1枚ずつ前記印刷媒体として搬送する第2搬送部と、を備える印刷装置の制御方法であって、前記巻回体が前記第1収容部に収容されているか否かを検出し、前記1枚以上のカット紙が前記第2収容部に収容されているか否かを検出し、画像の印刷を要求する印刷ジョブを受け付け、前記巻回体の収容を検出しており、且つ、前記巻回体から引き出された前記ロール紙への画像の印刷を要求する前記印刷ジョブを受け付けた場合、前記第1搬送部によって前記ロール紙を前記印刷媒体として搬送し、前記1枚以上のカット紙の収容を検出しており、且つ、前記1枚以上のカット紙のうちの少なくとも1枚への画像の印刷を要求する前記印刷ジョブを受け付けた場合、前記第2搬送部によって前記1枚以上のカット紙のうちの少なくとも1枚を前記印刷媒体として搬送する、制御方法である。
【図面の簡単な説明】
【0008】
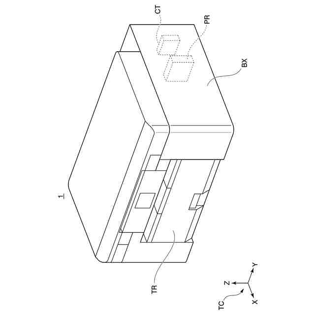
第1実施形態に係る印刷装置1の前面を含む外観の一例を示す斜視図である。
図1に示した印刷装置1の後面を含む外観の一例を示す斜視図である。
開閉カバーBDが後面開口を開いている場合の印刷装置1の一例を示す斜視図である。
切断部CTの構成の一例を示す側面図である。
図4に示した切断部CTの斜視図である。
給紙トレイTRの構成の一例を示す斜視図である。
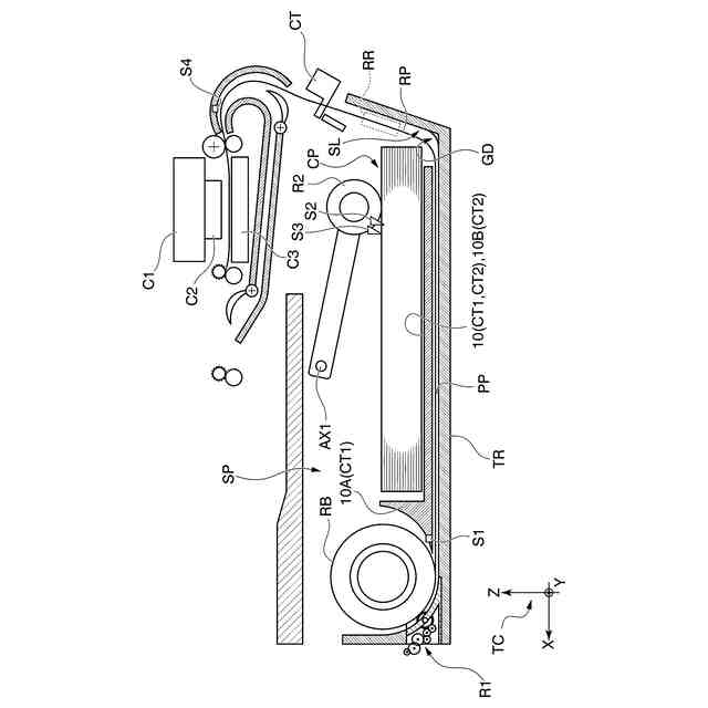
図6に示した給紙トレイTRの側面断面図である。
図7に示した第1搬送部R1の拡大図である。
印刷装置1による印刷媒体の収容状況の検出結果の一覧を示す図である。
印刷装置1のハードウェア構成の一例を示す図である。
印刷ジョブを受け付けた場合に印刷装置1が行う処理の流れの一例を示す図である。
第1搬送部R1の変形例を示す斜視図である。
第2実施形態に係る給紙トレイTR2の構成の一例を示す斜視図である。
複数のカット紙CPが第2領域RR2に積載されている場合の給紙トレイTR2の一例を示す斜視図である。
第2実施形態の変形例1に係る給紙トレイTR2の一例を示す斜視図である。
第2状態の給紙トレイTR2の一例を示す図である。
第2実施形態の変形例2に係る給紙トレイTR2の一例を示す側面断面図である。
【発明を実施するための形態】
【0009】
<第1実施形態>
以下、本開示の第1実施形態について、図面を参照して説明する。
【0010】
<第1実施形態に係る印刷装置の概要>
まず、第1実施形態に係る印刷装置の概要について説明する。
(【0011】以降は省略されています)
この特許をJ-PlatPat(特許庁公式サイト)で参照する
関連特許
セイコーエプソン株式会社
微細化装置
6日前
セイコーエプソン株式会社
微細化装置
6日前
セイコーエプソン株式会社
フィルター装置
11日前
セイコーエプソン株式会社
シート製造装置
4日前
セイコーエプソン株式会社
時計用部品及び時計
4日前
セイコーエプソン株式会社
成形方法及び成形装置
4日前
セイコーエプソン株式会社
印刷装置、及び制御方法
4日前
セイコーエプソン株式会社
三次元造形物の製造方法
4日前
セイコーエプソン株式会社
電気光学装置および電子機器
4日前
セイコーエプソン株式会社
振動素子、振動子、及び発振器
5日前
セイコーエプソン株式会社
媒体搬送装置及び画像読取装置
5日前
セイコーエプソン株式会社
印刷装置及び印刷装置の制御方法
4日前
セイコーエプソン株式会社
巻取装置、及び印刷巻取システム
5日前
セイコーエプソン株式会社
記録装置、及びクリーニング装置
4日前
セイコーエプソン株式会社
容器供給装置、容器供給方法および蓋閉め装置
4日前
セイコーエプソン株式会社
電気光学装置、電気光学パネル及びドライバー
4日前
セイコーエプソン株式会社
材料吐出装置、三次元造形装置、及び射出成形装置
4日前
セイコーエプソン株式会社
記録装置
4日前
セイコーエプソン株式会社
記録装置
4日前
セイコーエプソン株式会社
液体吐出装置
4日前
セイコーエプソン株式会社
固定状態判定方法、固定状態判定装置および固定状態判定システム
4日前
セイコーエプソン株式会社
粒子被覆膜厚記録ユニット、粒子被覆装置および粒子被覆膜厚管理方法
4日前
セイコーエプソン株式会社
エンコーダーの故障診断方法、ロボット監視装置およびロボットシステム
4日前
セイコーエプソン株式会社
プルーフ画像データを作成する方法、プルーフ画像データ作成装置、および、コンピュータープログラム
4日前
セイコーエプソン株式会社
プルーフ画像データを作成する方法、プルーフ画像データ作成装置、および、コンピュータープログラム
4日前
セイコーエプソン株式会社
プルーフ画像データを作成する方法、プルーフ画像データ作成装置、および、コンピュータープログラム
4日前
セイコーエプソン株式会社
振動素子、物理量センサー、慣性計測装置、電子機器および移動体
4日前
個人
束ね具
28日前
個人
収容箱
4か月前
個人
コンベア
6か月前
個人
ゴミ収集器
8か月前
個人
段ボール箱
8か月前
個人
段ボール箱
8か月前
個人
容器
10か月前
個人
宅配システム
8か月前
個人
テープ引出機
28日前
続きを見る
他の特許を見る