TOP
|
特許
|
意匠
|
商標
特許ウォッチ
Twitter
他の特許を見る
10個以上の画像は省略されています。
公開番号
2025176874
公報種別
公開特許公報(A)
公開日
2025-12-05
出願番号
2024083244
出願日
2024-05-22
発明の名称
プルーフ画像データを作成する方法、プルーフ画像データ作成装置、および、コンピュータープログラム
出願人
セイコーエプソン株式会社
代理人
弁理士法人明成国際特許事務所
主分類
H04N
1/46 20060101AFI20251128BHJP(電気通信技術)
要約
【課題】滲みの影響をプルーフ画像データに反映する技術を提供する。
【解決手段】プルーフ画像データを作成する方法は、(a)入力画像データに応じて印刷機を用いて印刷媒体上に印刷物を印刷する際の各画素のインク量を表すインク量画像データを求める工程と、(b)各画素のインク量に応じて各画素の滲みパラメーターを決定する工程と、(c)入力画像データの色空間を印刷機用の出力色空間に変換した本印刷用画像データと、入力画像データと、のいずれかに対して滲みパラメーターに応じて滲み付与処理を適用することによって、滲み付与画像データを作成する工程と、(d)滲み付与画像データの色空間をプルーフ出力装置用の出力色空間に変換する処理を実行することによって、滲み付与プルーフ画像データを作成する工程と、を含む。
【選択図】図3
特許請求の範囲
【請求項1】
プルーフ画像データを作成する方法であって、
(a)入力画像データに応じて印刷機を用いて印刷媒体上に印刷物を印刷する際の各画素のインク量を表すインク量画像データを求める工程と、
(b)前記各画素の前記インク量に応じて前記各画素の滲みパラメーターを決定する工程と、
(c)前記入力画像データと、前記入力画像データの色空間を前記印刷機用の出力色空間に変換した本印刷用画像データと、のいずれかに対して前記滲みパラメーターに応じて滲み付与処理を適用することによって、滲み付与画像データを作成する工程と、
(d)前記滲み付与画像データの色空間をプルーフ出力装置用の出力色空間に変換する処理を実行することによって、滲み付与プルーフ画像データを作成する工程と、
を含む方法。
続きを表示(約 1,800 文字)
【請求項2】
請求項1に記載の方法であって、
前記滲みパラメーターは、前記滲み付与処理に使用されるぼかしフィルターのフィルタータイプを含み、
前記工程(b)は、前記インク量が多いほどぼかし効果が大きいフィルタータイプを選択する工程を含む、方法。
【請求項3】
請求項2に記載の方法であって、
前記工程(c)は、更に、
(c1)個々の画素の前記インク量に応じて選択された前記フィルタータイプのぼかしフィルターの中心を前記個々の画素に仮配置し、仮配置された前記ぼかしフィルターのフィルター領域に含まれる全画素に対して前記ぼかしフィルターを適用することを仮決定することによって、前記個々の画素に対して1つ以上の前記ぼかしフィルターを適用することを仮決定する工程と、
(c2)前記個々の画素について前記工程(c1)で適用することが仮決定された1つ以上の前記ぼかしフィルターのうちで、前記ぼかし効果が最も大きな1つのぼかしフィルターを当該画素に適用することを決定する工程と、
(c3)前記工程(c2)で決定された前記ぼかしフィルターを前記個々の画素に適用することによって、前記滲み付与画像データを作成する工程と、
を含む、方法。
【請求項4】
請求項3に記載の方法であって、
前記工程(c3)は、
前記個々の画素を処理対象画素として前記ぼかしフィルターの中心を配置したときに、前記ぼかしフィルターの前記フィルター領域内の各画素のうちで、前記処理対象画素よりも前記インク量の少ない画素に対するフィルター値を、前記インク量が前記処理対象画素と等量以上である場合のフィルター値よりも小さく変更する工程と、
前記変更後の前記ぼかしフィルターを前記処理対象画素に適用してフィルター処理を実行する工程と、
を含む、方法。
【請求項5】
請求項1に記載の方法であって、
前記工程(b)は、
前記印刷機による前記印刷物の印刷時に使用される複数種類のインクのうちで、前記印刷物における前記滲みの要因となる一部のインクを選択する工程と、
前記選択されたインクの前記インク量に応じて前記滲みパラメーターを決定する工程と、
を含む、方法。
【請求項6】
請求項5に記載の方法であって、
前記選択されたインクは、浸透液を含む、方法。
【請求項7】
プルーフ画像データ作成装置であって、
入力画像データに応じて印刷機を用いて印刷媒体上に印刷物を印刷する際の各画素のインク量を表すインク量画像データを求めるインク量算出部と、
前記各画素の前記インク量に応じて前記各画素の滲みパラメーターを決定する滲みパラメーター決定部と、
前記入力画像データの色空間を前記印刷機用の出力色空間に変換した本印刷用画像データと、前記入力画像データと、のいずれかに対して前記滲みパラメーターに応じて滲み付与処理を適用することによって、滲み付与画像データを作成する滲み付与部と、
前記滲み付与画像データの色空間をプルーフ出力装置用の出力色空間に変換する処理を実行することによって、滲み付与プルーフ画像データを作成する色変換部と、
を備えるプルーフ画像データ作成装置。
【請求項8】
プルーフ画像データを作成するコンピュータープログラムであって、
(a)入力画像データに応じて印刷機を用いて印刷媒体上に印刷物を印刷する際の各画素のインク量を表すインク量画像データを求める処理と、
(b)前記各画素の前記インク量に応じて前記各画素の滲みパラメーターを決定する処理と、
(c)前記入力画像データの色空間を前記印刷機用の出力色空間に変換した本印刷用画像データと、前記入力画像データと、のいずれかに対して前記滲みパラメーターに応じて滲み付与処理を適用することによって、滲み付与画像データを作成する処理と、
(d)前記滲み付与画像データの色空間をプルーフ出力装置用の出力色空間に変換する処理を実行することによって、滲み付与プルーフ画像データを作成する処理と、
をコンピューターに実行させるコンピュータープログラム。
発明の詳細な説明
【技術分野】
【0001】
本開示は、プルーフ画像データを作成する方法、プルーフ画像データ作成装置、および、コンピュータープログラムに関する。
続きを表示(約 2,800 文字)
【背景技術】
【0002】
特許文献1には、印刷物を校正するためのプルーフ画像を作成する方法が開示されている。この従来技術では、プルーフの各網点の大きさと印刷物の各網点の大きさとが同一となるようにするとともに、色調を印刷物との違いが認識されない程度に近似させることによって、信頼性の高いプルーフ画像を作成する。
【先行技術文献】
【特許文献】
【0003】
特開2006-30277号公報
【発明の概要】
【発明が解決しようとする課題】
【0004】
しかしながら、本開示の発明者は、布地などの特定の印刷媒体に印刷した印刷物ではインクの滲みの影響が大きいため、プルーフ画像の作成時に滲みの影響を考慮すべきことを見出した。滲みは、印刷媒体上に着弾したインクが印刷媒体に染み込む前に、インクが広がったり、隣接する別のインクと混ざったり、印刷媒体の凹凸の影響を受けてインクが流れたりして生じる。そこで、印刷物の状態を忠実に再現するためには、滲みの影響をプルーフ画像データに反映することが望まれる。
【課題を解決するための手段】
【0005】
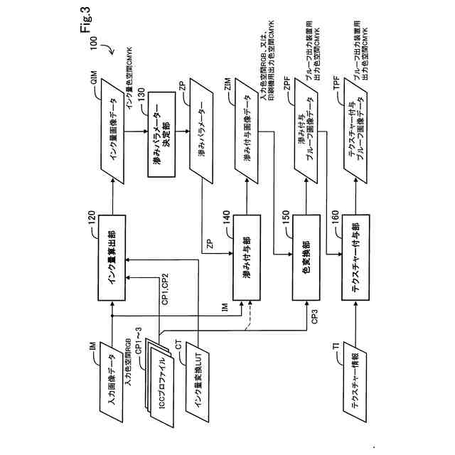
本開示の第1の形態によれば、プルーフ画像データを作成する方法が提供される。この方法は、(a)入力画像データに応じて印刷機を用いて印刷媒体上に印刷物を印刷する際の各画素のインク量を表すインク量画像データを求める工程と、(b)前記各画素の前記インク量に応じて前記各画素の滲みパラメーターを決定する工程と、(c)前記入力画像データの色空間を前記印刷機用の出力色空間に変換した本印刷用画像データと、前記入力画像データと、のいずれかに対して前記滲みパラメーターに応じて滲み付与処理を適用することによって、滲み付与画像データを作成する工程と、(d)前記滲み付与画像データの色空間をプルーフ出力装置用の出力色空間に変換する処理を実行することによって、滲み付与プルーフ画像データを作成する工程と、を含む。
【0006】
本開示の第2の形態によれば、プルーフ画像データ作成装置が提供される。このプルーフ画像データ作成装置は、入力画像データに応じて印刷機を用いて印刷媒体上に印刷物を印刷する際の各画素のインク量を表すインク量画像データを求めるインク量算出部と、前記各画素の前記インク量に応じて前記各画素の滲みパラメーターを決定する滲みパラメーター決定部と、前記入力画像データの色空間を前記印刷機用の出力色空間に変換した本印刷用画像データと、前記入力画像データと、のいずれかに対して前記滲みパラメーターに応じて滲み付与処理を適用することによって、滲み付与画像データを作成する滲み付与部と、前記滲み付与画像データの色空間をプルーフ出力装置用の出力色空間に変換する処理を実行することによって、滲み付与プルーフ画像データを作成する色変換部と、を備える。
【0007】
本開示の第3の形態によれば、プルーフ画像データを作成するコンピュータープログラムが提供される。このコンピュータープログラムは、(a)入力画像データに応じて印刷機を用いて印刷媒体上に印刷物を印刷する際の各画素のインク量を表すインク量画像データを求める処理と、(b)前記各画素の前記インク量に応じて前記各画素の滲みパラメーターを決定する処理と、(c)前記入力画像データの色空間を前記印刷機用の出力色空間に変換した本印刷用画像データと、前記入力画像データと、のいずれかに対して前記滲みパラメーターに応じて滲み付与処理を適用することによって、滲み付与画像データを作成する処理と、(d)前記滲み付与画像データの色空間をプルーフ出力装置用の出力色空間に変換する処理を実行することによって、滲み付与プルーフ画像データを作成する処理と、をコンピューターに実行させる。
【図面の簡単な説明】
【0008】
印刷物の校正を行う印刷システムを示す説明図。
プルーフ画像データ作成装置の構成を示すブロック図。
プルーフ画像作成処理の流れを示す説明図。
入力画像の例を示す説明図。
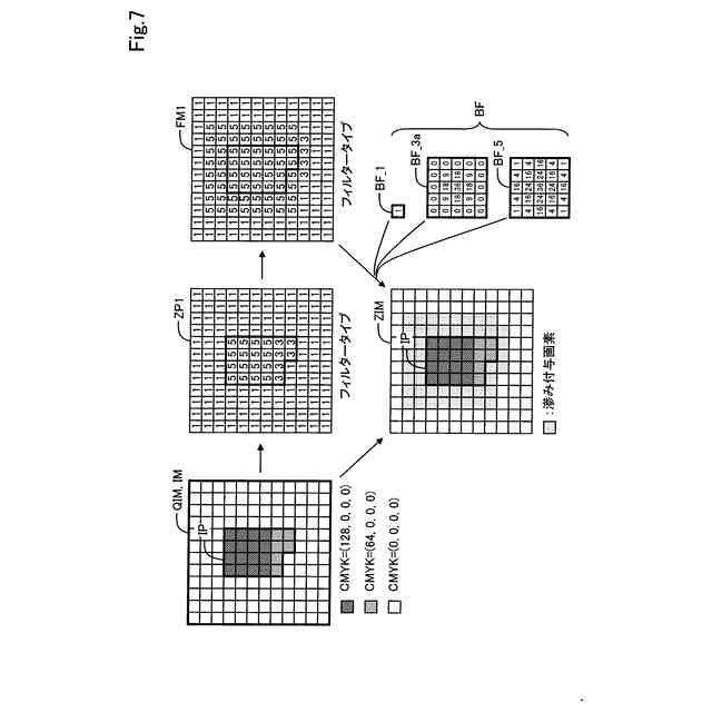
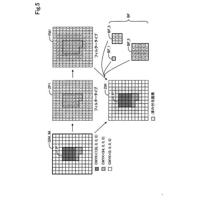
第1実施形態における滲み付与処理の一例を示す説明図。
第1実施形態で使用されるぼかしフィルターを示す説明図。
第1実施形態における滲み付与処理の他の例を示す説明図。
プルーフ画像作成処理の手順を示すフローチャート。
第2実施形態における滲み付与処理の一例を示す説明図。
第2実施形態で使用されるぼかしフィルターを示す説明図。
第3実施形態におけるぼかしフィルターの調整方法を示す説明図。
【発明を実施するための形態】
【0009】
A.第1実施形態:
図1は、印刷物の校正を行う印刷システム500を示す説明図である。この印刷システム500は、入力画像データIMに従って印刷物PMの印刷を行う印刷機300と、入力画像データIMを用いてプルーフ画像データを作成するプルーフ画像データ作成装置100と、校正用印刷装置200とを備える。校正には、校正用印刷装置200を用いて校正刷りHPを印刷するハードプルーフと、プルーフ画像データに従って表示装置110にプルーフ画像SPを表示するソフトプルーフとがある。ハードプルーフでは、校正用印刷装置200が「プルーフ出力装置」に相当し、ソフトプルーフでは表示装置110が「プルーフ出力装置」に相当する。プルーフ出力装置から出力される画像を、「出力画像」とも呼ぶ。ハードプルーフでは校正刷りHPが「出力画像」に相当し、ソフトプルーフではプルーフ画像SPが「出力画像」に相当する。
【0010】
プルーフ画像データ作成装置100は、ハードプルーフとソフトプルーフのうちの少なくとも一方を実行可能に構成される。ハードプルーフでは、プルーフ画像データ作成装置100で作成されたプルーフ画像データに従って校正用印刷装置200が校正刷りHPを印刷する。校正用印刷装置200がインクジェットプリンターである場合には、プルーフ画像データ作成装置100は、プルーフ画像データに色変換処理やハーフトーン処理を適用して印刷用のドットデータを作成し、このドットデータを校正用印刷装置200に供給して校正刷りHPの印刷を実行させる。ソフトプルーフでは、プルーフ画像データ作成装置100で作成されたプルーフ画像データに従って表示装置110にプルーフ画像SPが表示される。本開示は、ハードプルーフとソフトプルーフのいずれにも適用可能である。
(【0011】以降は省略されています)
この特許をJ-PlatPat(特許庁公式サイト)で参照する
関連特許
セイコーエプソン株式会社
治療機器
11日前
セイコーエプソン株式会社
電子時計
19日前
セイコーエプソン株式会社
記録装置
1か月前
セイコーエプソン株式会社
記録装置
27日前
セイコーエプソン株式会社
電子時計
1か月前
セイコーエプソン株式会社
記録装置
11日前
セイコーエプソン株式会社
微細化装置
6日前
セイコーエプソン株式会社
微細化装置
6日前
セイコーエプソン株式会社
半導体装置
19日前
セイコーエプソン株式会社
流体デバイス
11日前
セイコーエプソン株式会社
液体吐出装置
今日
セイコーエプソン株式会社
画像記録装置
12日前
セイコーエプソン株式会社
ダイオード回路
19日前
セイコーエプソン株式会社
プロジェクター
1か月前
セイコーエプソン株式会社
シート製造装置
12日前
セイコーエプソン株式会社
フィルター装置
11日前
セイコーエプソン株式会社
三次元造形装置
1か月前
セイコーエプソン株式会社
プロジェクター
1か月前
セイコーエプソン株式会社
シート製造装置
25日前
セイコーエプソン株式会社
シート製造装置
4日前
セイコーエプソン株式会社
文字板及び時計
19日前
セイコーエプソン株式会社
トルク伝達機構
1か月前
セイコーエプソン株式会社
時計用部品及び時計
4日前
セイコーエプソン株式会社
表示装置の制御方法
1か月前
セイコーエプソン株式会社
成形方法及び成形装置
4日前
セイコーエプソン株式会社
三次元造形物の製造方法
1か月前
セイコーエプソン株式会社
三次元造形物の製造方法
4日前
セイコーエプソン株式会社
印刷装置、及び制御方法
4日前
セイコーエプソン株式会社
媒体搬送装置及び記録装置
1か月前
セイコーエプソン株式会社
媒体搬送装置及び記録装置
27日前
セイコーエプソン株式会社
乾燥装置及び印刷システム
1か月前
セイコーエプソン株式会社
電気光学装置および電子機器
4日前
セイコーエプソン株式会社
振動素子、振動子、及び発振器
12日前
セイコーエプソン株式会社
緩衝材および緩衝材の製造方法
11日前
セイコーエプソン株式会社
振動素子、振動子、及び発振器
5日前
セイコーエプソン株式会社
光源装置およびプロジェクター
11日前
続きを見る
他の特許を見る