TOP
|
特許
|
意匠
|
商標
特許ウォッチ
Twitter
他の特許を見る
公開番号
2025177616
公報種別
公開特許公報(A)
公開日
2025-12-05
出願番号
2024084621
出願日
2024-05-24
発明の名称
時計用部品及び時計
出願人
セイコーエプソン株式会社
代理人
個人
,
個人
,
個人
主分類
G04B
19/06 20060101AFI20251128BHJP(時計)
要約
【課題】所望の色を有する時計用部品及び時計を提供する。
【解決手段】時計用部品3は、PVDで多層膜50を形成し、その上に透光性樹脂層60を形成した時計用文字板であって、透光性樹脂層60の厚みTは、所定の厚みTである。
【選択図】図3
特許請求の範囲
【請求項1】
PVDで多層膜を形成し、その上に透光性樹脂層を形成した時計用文字板であって、
前記透光性樹脂層の厚みは、所定の厚みである、
時計用部品。
続きを表示(約 270 文字)
【請求項2】
前記所定の厚みは、10μm以上100μm以下である、
請求項1に記載の時計用部品。
【請求項3】
前記所定の厚みは、30μm以上70μm以下である、
請求項2に記載の時計用部品。
【請求項4】
前記時計用部品は、文字板である、
請求項1又は請求項2に記載の時計用部品。
【請求項5】
PVDで多層膜を形成し、その上に透光性樹脂層を形成した時計用文字板を有する時計であって、
前記透光性樹脂層の厚みは、所定の厚みである、
時計。
発明の詳細な説明
【技術分野】
【0001】
本発明は、時計用部品及び時計に関する。
続きを表示(約 1,400 文字)
【背景技術】
【0002】
時計には、実用品としての機能に加えて、装飾品として優れた審美性が求められている。外観の質感を高めるために、文字板や、ケース等の時計部品に貴金属材料を用いることが知られているが、貴金属材料は、一般に高価であり、また、埋蔵量等の関係から、過剰な使用を抑制することが求められている。
【0003】
例えば、特許文献1では、金属光沢を有する基材の上に、複数の酸化膜からなる調色層を積層することにより、貴金属材料を用いた場合と同等の外観の質感を有する時計部品を実現している。これは、複数の酸化膜を積層して、光の反射率や、色あいを調整することにより、基材の金属光沢を活かしながら、所期の明度、彩度、色相を有する色調を得るものである。また、積層された酸化膜を保護する目的で、酸化膜の最表面にクリア層が配置されている。
【先行技術文献】
【特許文献】
【0004】
特開2023-4622号公報
【発明の概要】
【発明が解決しようとする課題】
【0005】
しかしながら、特許文献1に記載の時計部品は、酸化膜保護用のクリア層がクリア層の厚みに依存し変色してしまい、調色層による所望の色を得ることができないという課題があった。
【課題を解決するための手段】
【0006】
時計用部品は、PVDで多層膜を形成し、その上に透光性樹脂層を形成した時計用文字板であって、前記透光性樹脂層の厚みは、所定の厚みである。
【0007】
時計は、PVDで多層膜を形成し、その上に透光性樹脂層を形成した時計用文字板を有する時計であって、前記透光性樹脂層の厚みは、所定の厚みである。
【図面の簡単な説明】
【0008】
第1実施形態に係る時計用部品を備えた時計の概略構造を示す正面図。
第1実施形態に係る時計用部品を備えた時計の概略構造を示す断面図。
図2のA部の拡大図。
多層膜の色変化量と透光性樹脂層の厚みとの関係を示す図。
透光性樹脂層及び多層膜の厚み及び屈折率を示す表。
【発明を実施するための形態】
【0009】
先ず、本実施形態に係る時計用部品3を備えた時計1として腕時計を一例として挙げ、図1及び図2を参照して説明する。
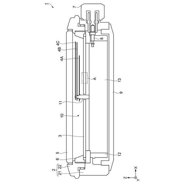
尚、説明の便宜上、以降の各図には、互いに直交する3つの軸として、X軸、Y軸、及びZ軸を図示している。また、X軸に沿った方向を「X方向」、Y軸に沿った方向を「Y方向」、Z軸に沿った方向を「Z方向」と言う。また、各軸方向の矢印先端側を「プラス側」、基端側を「マイナス側」、Z方向プラス側を「表」、Z方向マイナス側を「裏」とも言う。
【0010】
本実施形態に係る時計1は、図1及び図2に示すように、外装ケース2と、裏蓋9と、風防ガラス5と、時計用部品3と、を備えている。外装ケース2は、金属で形成された円筒状のケース本体21に、セラミック又は金属で形成されたベゼル22が嵌合されて構成されている。このベゼル22の内周側に、プラスチックで形成された円環状のダイヤルリング6を介して、円盤状の時計用部品3が配置されている。外装ケース2の側面には、時計表示で3時の位置にリューズ7が設けられている。
(【0011】以降は省略されています)
この特許をJ-PlatPat(特許庁公式サイト)で参照する
関連特許
株式会社ジークエスト
経過年数表示ラベル
5日前
個人
ワイヤレス給電を使用した針が光るアナログ式時計
1か月前
セイコーエプソン株式会社
電子時計
1か月前
セイコーエプソン株式会社
電子時計
19日前
オメガ・エス アー
交換可能なベゼルを備える計時器
27日前
セイコーエプソン株式会社
文字板及び時計
19日前
シチズン時計株式会社
時計
4日前
日本電気株式会社
時刻維持装置および時刻維持方法
1か月前
日本電波株式会社
電波時計レピータ
1か月前
セイコーエプソン株式会社
時計用部品及び時計
4日前
コマデュール ソシエテ アノニム
エナメル彫刻及び模様付け方法
1か月前
セイコーエプソン株式会社
時計用部品および時計用部品の製造方法
11日前
モントレー ブレゲ・エス アー
環状振動質量及びこのような振動質量を備える時計
19日前
カシオ計算機株式会社
時計
1か月前
コマデュール ソシエテ アノニム
プリカジュールエナメル装飾を施した物品及びその製造方法
26日前
コマデュール ソシエテ アノニム
バックライト付きプリカジュールエナメル装飾部を有する物品およびその製造方法
1か月前
カシオ計算機株式会社
電子時計及びソーラパネルの製造方法
6日前
リシュモン アンテルナシオナル ソシエテ アノニム
時計用電子ムーブメントのためのステッピングモータの制御装置
11日前
ザ・スウォッチ・グループ・リサーチ・アンド・ディベロップメント・リミテッド
特に計時器用回転モーターのための、バランスばね式圧電共振器
1か月前
ブラウン ユニバーシティ
筋再生および筋成長
1か月前
東京都公立大学法人
陳列装置
20日前
株式会社ビズリーチ
求職支援システム、求職支援方法及びプログラム
19日前
株式会社ビズリーチ
求職支援システム、求職支援方法及びプログラム
19日前
ギリアード サイエンシーズ, インコーポレイテッド
GP120 V3グリカン指向性抗体による療法に感受性であるHIV患者を同定する方法
11日前
他の特許を見る