TOP
|
特許
|
意匠
|
商標
特許ウォッチ
Twitter
他の特許を見る
公開番号
2025168556
公報種別
公開特許公報(A)
公開日
2025-11-07
出願番号
2025148197,2023206695
出願日
2025-09-08,2023-12-07
発明の名称
特に計時器用回転モーターのための、バランスばね式圧電共振器
出願人
ザ・スウォッチ・グループ・リサーチ・アンド・ディベロップメント・リミテッド
代理人
個人
主分類
G04C
3/12 20060101AFI20251030BHJP(時計)
要約
【課題】消費電力と体積を小さく維持しつつ高電磁場に耐えることができるような圧電共振器を提供する。
【解決手段】回転式圧電モーターのための、圧電共振器1に関し、共振器は、 固定されたベース3と、縦軸のまわりに延在している振動錘2とを備え、振動錘には、慣性ブロック4、好ましくは反対側にある2つの慣性ブロック、があり、圧電共振器は、振動錘をベースに接続するフレキシブルブレードガイドを備え、振り子運動をするように振動錘を回転中心を中心に振動させることができ、フレキシブルブレードガイドは、ベース及び/又は振動錘に接続される第1のフレキシブルブレード6を備え、ベースに対して振動錘が変位することを可能にし、ベース及び/又は振動錘に接続されるらせんばね5を備え、らせんばねには、少なくとも部分的に、電気的にアクチュエート可能な圧電材料があり、これによって、らせんばねを変形させて、振動錘を振動させる。
【選択図】 図1
特許請求の範囲
【請求項1】
特に回転式圧電モーターのための、圧電共振器(1、10、20)であって、
前記共振器(1、10、20)は、固定されたベース(3、13)と、縦軸のまわりに
延在している振動錘(2、12)とを備え、
前記振動錘(2、12)には、少なくとも1つの慣性ブロック(4、14)、好ましく
は反対側にある2つの慣性ブロック(4、14)、があり、
前記圧電共振器は、前記振動錘(2、12)を前記ベース(3、13)に接続するフレ
キシブルブレードガイドを備え、これによって、振り子運動をするように振動錘(2、1
2)を回転中心を中心に振動させることができ、
前記フレキシブルブレードガイドは、前記ベース(3、13)及び/又は前記振動錘(
2、12)に接続される少なくとも1つの第1のフレキシブルブレード(6、16、26
)を備え、これによって、前記ベース(3、13)に対して前記振動錘(2、12)が変
位することを可能にし、
前記フレキシブルブレードガイドは、前記ベース(3、13)及び/又は前記振動錘(
2、12)に接続されるらせんばね(5、15、24)を備え、
前記らせんばね(5、15、24)には、少なくとも部分的に、電気的にアクチュエー
ト可能な圧電材料があり、これによって、前記らせんばね(5)を変形させて、前記振動
錘(2、12)を振動させる
ことを特徴とする圧電共振器。
続きを表示(約 1,300 文字)
【請求項2】
前記フレキシブルガイドは、前記振動錘(2)を前記ベース(3)に接続する第2のフ
レキシブルブレード(7)を備え、
前記第1のフレキシブルブレード(6)は、前記ベース(3)を前記振動錘(2)に接
続する
ことを特徴とする請求項1に記載の圧電共振器。
【請求項3】
前記第1のフレキシブルブレード(6、16)と前記第2のフレキシブルブレード(7
)は、交差しておらず、前記振動錘(2)の中央部分から前記ベース(13)の偏心部分
まで移るに従って互いに離れる
ことを特徴とする請求項2に記載の圧電共振器。
【請求項4】
前記第1のフレキシブルブレード(6)と前記第2のフレキシブルブレード(7)は、
30°~150°の範囲内、好ましくは60°~130°の範囲内、さらに好ましくは9
0°~120°の範囲内、の角度を形成するように構成している
ことを特徴とする請求項2に記載の圧電共振器。
【請求項5】
前記第1のフレキシブルブレード(6)と前記第2のフレキシブルブレード(7)は、
互いに軸対称に構成している
ことを特徴とする請求項3に記載の圧電共振器。
【請求項6】
前記らせんばね(5)は、前記振動錘(2)に接続されており、これによって、前記振
動をアクチュエートする
ことを特徴とする請求項2に記載の圧電共振器。
【請求項7】
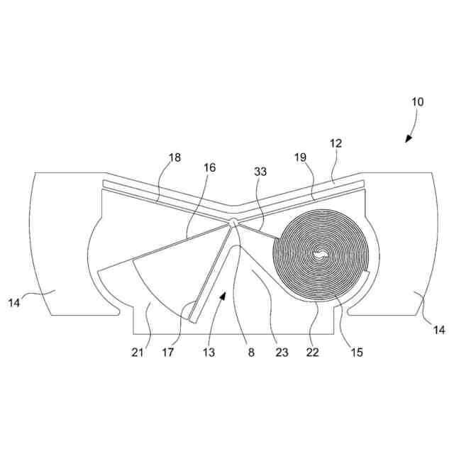
前記フレキシブルガイドには、2つのRCCタイプのフレキシブルピボットがあり、
前記フレキシブルガイドは、中間可動要素(8)と、前記第1のフレキシブルブレード
(16)と第2のフレキシブルブレード(17)があり前記ベース(13)を前記中間可
動要素(8)に接続す る第1の対のフレキシブルブレード(16、17)と、前記中間
可動要素(8)を前記振動錘(12)に接続する第2の対のフレキシブルブレード(16
、17)とを備える
ことを特徴とする請求項1に記載の圧電共振器。
【請求項8】
前記第1のフレキシブルブレード(6)と前記第2のフレキシブルブレード(7)は、
交差しておらず、前記中間可動要素(8)から前記ベース(13)へと移るに従って互い
に離れる
ことを特徴とする請求項7に記載の圧電共振器。
【請求項9】
前記第1のフレキシブルブレード(16)と前記第2のフレキシブルブレード(17)
は、30°~100°の範囲内、好ましくは40°~80°の範囲内、の角度を形成する
ことを特徴とする請求項8に記載の圧電共振器。
【請求項10】
前記第1のフレキシブルブレード(16)と前記第2のフレキシブルブレード(17)
は、互いに軸対称に構成している
ことを特徴とする請求項6に記載の圧電共振器。
(【請求項11】以降は省略されています)
発明の詳細な説明
【技術分野】
【0001】
本発明は、特に回転式圧電モーターのための、圧電共振器の技術分野に関する。本発明
は、さらに、前記のような回転式圧電モーターを備える計時器の技術分野に関する。
続きを表示(約 1,500 文字)
【背景技術】
【0002】
携行型時計(例、腕時計、懐中時計)の製造において通常用いられる電気モーターは、
電磁物理的原理で動作する「Lavet」タイプの回転モーターである。この種のモータ
ーは、一般的には、コイルがある固定子と、コイルの位相シフトアクチュエーションによ
って回転する、磁化されたローターとを備える。
【0003】
しかし、このようなモーターにおいては、高磁場に対する耐性が限定される。特定の磁
場値よりも大きいと、モーターは止まる。一般的には、磁場が2mTよりも大きいとモー
ターが止まる。
【0004】
したがって、この問題を避けるには、他の物理的原理で動作するモーターを設計する必
要がある。
【0005】
例えば、スイス特許CH709512に記載されているような、静電的な櫛部を利用す
るモーターがある。しかし、櫛部は空間を占め、「Lavet」タイプのモーターよりも
大きいエネルギーを消費してしまう。
【0006】
圧電効果に基づくモーターも、例えば欧州特許EP0587031において、開発され
ている。しかし、これは、日付のアクチュエートに限定される。また、電力消費が大きい
ことと早期摩耗のリスクがあることによって、通常最も大きいエネルギーを必要とする秒
針を駆動させることができない。
【発明の概要】
【発明が解決しようとする課題】
【0007】
本発明は、消費電力と体積を小さく維持しつつ高電磁場に耐えることができるような、
特に回転式圧電モーターのための、圧電共振器を提供することを目的とする。
【課題を解決するための手段】
【0008】
このために、本発明は、特に回転式圧電モーターのための、圧電共振器に関し、前記共
振器は、固定されたベースと、縦軸のまわりに延在している振動錘とを備え、前記振動錘
には、少なくとも1つの慣性ブロック、好ましくは反対側にある2つの慣性ブロック、が
ある。
【0009】
前記圧電共振器は、前記振動錘を前記ベースに接続するフレキシブルブレードガイドを
備え、これによって、振り子運動をするように振動錘を回転中心を中心に振動させること
ができ、前記フレキシブルブレードガイドは、前記ベース及び/又は前記振動錘に接続さ
れる少なくとも1つの第1のフレキシブルブレードを備え、これによって、前記ベースに
対して前記振動錘が変位することを可能にし、前記フレキシブルブレードガイドは、前記
ベース及び/又は前記振動錘に接続されるらせんばねを備え、前記らせんばねには、少な
くとも部分的に、電気的にアクチュエート可能な圧電材料があり、これによって、前記ら
せんばねを変形させて、前記振動錘を振動させる点で、本発明は画期的である。
【0010】
このような構成の共振器は、効率的な運動を提供することができる。実際に、らせんば
ねの圧電材料をアクチュエートすることによって、らせんばねは収縮したり伸びたりして
、フレキシブルガイドのフレキシブルブレードのおかげで、回転中心を中心に回転するこ
とによって振動錘が振動する。このように、フレキシブルブレードのアクチュエートには
エネルギーが少ししか必要ではないため、共振器は、ほとんどエネルギーを消費せずに、
振動錘に振動運動させる。
(【0011】以降は省略されています)
この特許をJ-PlatPat(特許庁公式サイト)で参照する
関連特許
株式会社ジークエスト
経過年数表示ラベル
6日前
セイコーウオッチ株式会社
時計
2か月前
セイコーエプソン株式会社
電子時計
1か月前
セイコーエプソン株式会社
電子時計
2か月前
セイコーエプソン株式会社
電子時計
20日前
個人
ワイヤレス給電を使用した針が光るアナログ式時計
1か月前
ローム株式会社
時間測定回路
2か月前
オメガ・エス アー
交換可能なベゼルを備える計時器
28日前
セイコーエプソン株式会社
文字板及び時計
20日前
シチズン時計株式会社
時計
5日前
シチズン時計株式会社
腕時計
2か月前
日本電波株式会社
電波時計レピータ
1か月前
日本電気株式会社
時刻維持装置および時刻維持方法
1か月前
セイコーエプソン株式会社
時計用部品及び時計
5日前
セイコーエプソン株式会社
時計および風防部材の製造方法
2か月前
コマデュール ソシエテ アノニム
エナメル彫刻及び模様付け方法
1か月前
セイコーウオッチ株式会社
スイッチ機構、時計用ムーブメントおよび時計
2か月前
シチズン時計株式会社
表示車、時計用ムーブメント及び時計
2か月前
セイコーエプソン株式会社
時計用部品および時計用部品の製造方法
12日前
モントレー ブレゲ・エス アー
環状振動質量及びこのような振動質量を備える時計
20日前
カシオ計算機株式会社
時計
1か月前
カシオ計算機株式会社
スイッチ装置および時計
1か月前
ロレックス・ソシエテ・アノニム
時計カレンダーシステム
1か月前
ロレックス・ソシエテ・アノニム
時計カレンダーシステム
1か月前
ザ・スウォッチ・グループ・リサーチ・アンド・ディベロップメント・リミテッド
機械的時計ムーブメント
1か月前
コマデュール ソシエテ アノニム
プリカジュールエナメル装飾を施した物品及びその製造方法
27日前
ロレックス・ソシエテ・アノニム
時計組立体の製造方法、及び時計組立体
2か月前
セイコーウオッチ株式会社
時計部品、ムーブメント、時計用外装、時計、及び時計部品の製造方法
2か月前
コマデュール ソシエテ アノニム
バックライト付きプリカジュールエナメル装飾部を有する物品およびその製造方法
1か月前
カシオ計算機株式会社
電子時計及びソーラパネルの製造方法
7日前
パテック フィリップ ソシエテ アノニム ジュネーブ
表示機構
2か月前
有限会社ナオトフカサワデザイン
腕時計及び腕時計型表示装置
1か月前
ザ・スウォッチ・グループ・リサーチ・アンド・ディベロップメント・リミテッド
可撓性回転案内体を有し、保持手段を備える測時器共振器機構
1か月前
リシュモン アンテルナシオナル ソシエテ アノニム
時計用電子ムーブメントのためのステッピングモータの制御装置
12日前
ウーテーアー・エス・アー・マニファクチュール・オロロジェール・スイス
表示部材を保持する歯車セットを備え、防振装置を備えた電気機械式時計ムーブメント
2か月前
ザ・スウォッチ・グループ・リサーチ・アンド・ディベロップメント・リミテッド
特に計時器用回転モーターのための、バランスばね式圧電共振器
1か月前
続きを見る
他の特許を見る