TOP
|
特許
|
意匠
|
商標
特許ウォッチ
Twitter
他の特許を見る
公開番号
2025169467
公報種別
公開特許公報(A)
公開日
2025-11-13
出願番号
2025048130
出願日
2025-03-24
発明の名称
プリカジュールエナメル装飾を施した物品及びその製造方法
出願人
コマデュール ソシエテ アノニム
代理人
個人
,
個人
,
個人
主分類
G04B
37/22 20060101AFI20251106BHJP(時計)
要約
【課題】プリカジュールエナメル装飾を施した部品を、低コストでかつエナメル強度を高めて大規模なシリーズで製造することを可能にする方法を提供する。
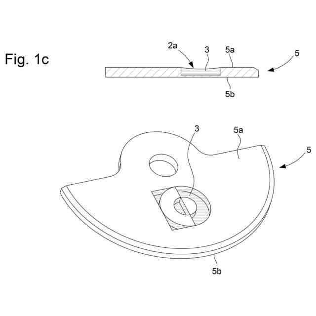
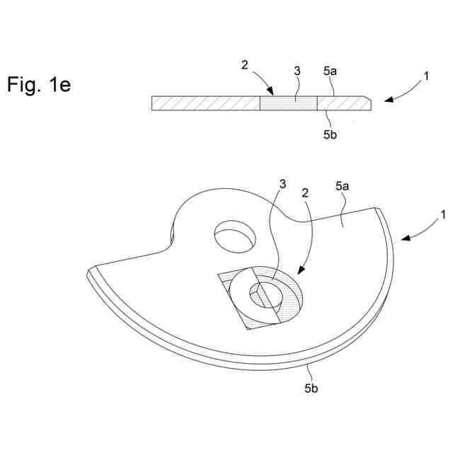
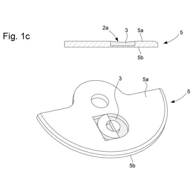
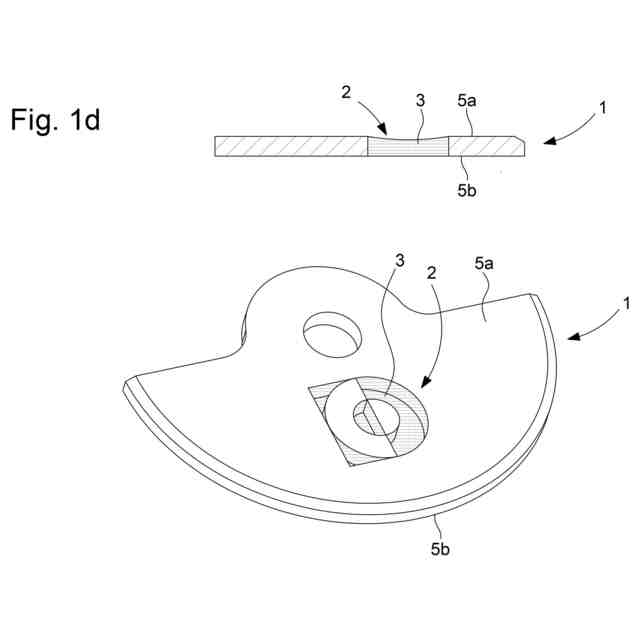
【解決手段】プリカジュールエナメルを形成するためにエナメルで満たされた貫通装飾を備える物品を製造する方法であって、上面5aと上面5aの反対側の下面5bとで画定されるブランク5を得るステップと、上面5aからブランク5の一部を除去して、下面5bまで貫通しない装飾2aを生成するか、代わりに前のステップで非貫通装飾2aを備えるブランク5を直接得るステップと、非貫通装飾2a内に1層以上のエナメル3を堆積させ、各層を堆積させた後にエナメル3を焼成するステップと、エナメル3を露出させ、エナメル3で満たされた貫通装飾を備える物品を製造するために、好ましくは研磨により、下面5bを機械加工するステップとを含むとを含む方法である。
【選択図】図1c
特許請求の範囲
【請求項1】
いわゆるプリカジュールエナメルを形成するためにエナメル(3)で満たされた貫通装飾(2)を備える物品(1)を製造する方法であって、
・上面(5a)と前記上面(5a)と反対側の下面(5b)とで画定されるブランク(5)を得るステップと、
・前記上面(5a)から前記ブランク(5)の一部を除去して前記下面(5b)まで貫通しない装飾(2a)を形成するか、代わりに前のステップで前記非貫通装飾(2a)を備える前記ブランク(5)を直接得るステップと、
・前記非貫通装飾(2a)内に1層以上のエナメル(3)を堆積させ、各層を堆積させた後に前記エナメル(3)を焼成するステップと、
・前記エナメル(3)を露出させ、前記エナメル(3)で満たされた前記貫通装飾(2)を備える物品(1)を製造するために、好ましくは研削により、前記下面(5b)を機械加工するステップと
を含む方法。
続きを表示(約 840 文字)
【請求項2】
前記上面(5a)と同一平面上のエナメル装飾を得るために、好ましくは前記上面(5a)のエナメル(3)を研削することによる更なる機械加工ステップを含み、前記更なるステップは、前記下面(5b)を機械加工するステップと同時に行うことができる、請求項1に記載の方法。
【請求項3】
前記機械加工ステップ及び/又は前記更なる機械加工ステップの後に前記上面(5a)及び/又は前記下面(5b)を研磨するステップを含む、請求項2に記載の方法。
【請求項4】
前記ブランク(5)は、650℃以上の融点を有する材料で作られる、請求項1に記載の方法。
【請求項5】
前記1層以上のエナメル(3)の堆積は、液体噴霧、ブラシの使用、又は粉末の散布によって行われる、請求項1に記載の方法。
【請求項6】
前記堆積させるエナメル(3)の層数は、2から15の間、好ましくは3から10の間である、請求項1に記載の方法。
【請求項7】
前記1層以上のエナメル(3)を堆積させるステップ中に、異なる色のエナメル(3)の層を堆積させかつ/又は同一層内の色を変化させる、請求項1に記載の方法。
【請求項8】
前記エナメル(3)は、前記機械加工ステップ中及び/又は更なる機械加工ステップ中に、透明度の高い領域又は低い領域のグラデーションを形成するために傾斜面に従って機械加工される、請求項2に記載の方法。
【請求項9】
上面(5a)と、前記上面(5a)の反対側の下面(5b)とを備える物品(1)であって、0.5mm以上、好ましくは0.8mm以上のエナメル厚さを有するプリカジュールエナメルで作られた貫通装飾(2)を備える物品(1)。
【請求項10】
前記物品(1)は時計の外装部品又はムーブメントの部品である、請求項9に記載の物品。
(【請求項11】以降は省略されています)
発明の詳細な説明
【技術分野】
【0001】
本発明は、プリカジュールエナメル装飾を施した物品を製造する方法に関する。本発明による方法は、大規模なシリーズを低コストで製造することを可能にする。本発明はさらに、この方法によって製造される物品に関する。
続きを表示(約 1,400 文字)
【背景技術】
【0002】
プリカジュールは、エナメルの高さに底面を持たない基材にエナメルを塗布する技術である。底面を持たないことにより、透明又は半透明のエナメルを通して光が流れ込むことができる。その結果、ミニチュアのステンドグラスのような効果が得られる。
【0003】
従来のプリカジュール技術は、エナメル焼成時に安定した状態を保つ金属で溶接された仕切りを作成することから成る。1つずつ堆積した層を連続的に焼成する際に、主にイエローゴールド又はホワイトゴールドで作られた金属の仕切りは、それらの特性上、変形したり、基材から離れたりする可能性があり、窯の通路の数と製造できるデザインが大幅に制限される。
【0004】
また、エナメルが仕切りを越えて流れ出ないようにするために堆積と焼成の際には基材が必要とされる。基材が石英で作られるため、非平面形状に対してこの作業を行うことは非常に困難である。従来のエナメルは、ブラシやオイラーを用いて手作業で堆積される。これらの方法を用いて堆積された層は非常に薄く、通常0.5mm未満の総厚を達成するために数十層の堆積を必要とする。その薄さのために、得られるエナメルは非常に壊れやすい。
【0005】
この技術は面倒で再現性が低いため、プリカジュール文字盤を備えた時計は、一点物であるか、極めて限定されたシリーズで法外なコストをかけて製造される。今日まで、この技術の再現性の欠如が、時計製造業者による時計の大量生産を妨げている。
【発明の概要】
【発明が解決しようとする課題】
【0006】
本発明の目的は、プリカジュールエナメル装飾を施した部品を低コストでかつエナメル強度を高めて大規模なシリーズで製造することを可能にする製造方法を提案することにより、上記の欠点を克服することである。
【課題を解決するための手段】
【0007】
この目的のために、本発明は、いわゆるプリカジュールエナメルを形成するためにエナメルで満たされた貫通装飾を備える物品を製造する方法であって、
・上面と上面の反対側の下面とで画定されるブランクを得るステップと、
・上面からブランクの一部を除去して下面まで貫通しない装飾を形成するか、代わりに前のステップで非貫通装飾を備えるブランクを直接得るステップと、
・非貫通装飾内に1層以上のエナメルを堆積させ、各層を堆積させた後にエナメルを焼成するステップと、
・エナメルを露出させ、エナメルで満たされた貫通装飾を備える物品を製造するために、好ましくは研削により、下面を機械加工するステップと
を含む方法に関する。
【0008】
好ましくは、貫通装飾はその後研磨される。
【0009】
この方法は再現性が高く、大量生産を非常に低コストで実現することができる。複雑な形状は、焼成時又は衝撃時の基材材料の抵抗によってのみ制限される。
【0010】
この方法により、エナメルの厚い層を堆積させることができ、通常は10層未満の限られた層数で総厚0.5mm以上のエナメルを得ることができる。従来技術のエナメルの厚さに比べてより大きいこのエナメルの厚さは、それがより脆くないため、大きな応力を受けるベゼルなどの外装部品を作るのに使用できることを意味する。
(【0011】以降は省略されています)
この特許をJ-PlatPat(特許庁公式サイト)で参照する
関連特許
個人
砂時計
2か月前
個人
時刻同期システム
2か月前
株式会社ジークエスト
経過年数表示ラベル
5日前
セイコーウオッチ株式会社
時計
2か月前
セイコーエプソン株式会社
電子時計
19日前
セイコーエプソン株式会社
電子時計
1か月前
個人
ワイヤレス給電を使用した針が光るアナログ式時計
1か月前
セイコーエプソン株式会社
電子時計
2か月前
ローム株式会社
時間測定回路
2か月前
オメガ・エス アー
交換可能なベゼルを備える計時器
27日前
シチズン時計株式会社
時計
4日前
セイコーエプソン株式会社
文字板及び時計
19日前
株式会社村田製作所
光学的パターン表示物品
2か月前
日本電波株式会社
電波時計レピータ
1か月前
日本電気株式会社
時刻維持装置および時刻維持方法
1か月前
シチズン時計株式会社
腕時計
2か月前
セイコーエプソン株式会社
電子制御式機械時計
2か月前
セイコーエプソン株式会社
時計用部品及び時計
4日前
シチズン時計株式会社
電子時計
3か月前
シチズン時計株式会社
機械式時計
3か月前
カシオ計算機株式会社
装飾板及び時計
2か月前
セイコーエプソン株式会社
機械式時計
2か月前
カシオ計算機株式会社
制御装置、制御方法、及びプログラム
2か月前
セイコータイムクリエーション株式会社
からくり時計
2か月前
カシオ計算機株式会社
機器ケース及び時計
3か月前
セイコーエプソン株式会社
時計および風防部材の製造方法
2か月前
セイコーエプソン株式会社
インデックス、文字板、及び時計
3か月前
カシオ計算機株式会社
電子時計及び電子時計本体
2か月前
カシオ計算機株式会社
外装部品ユニット及び時計
2か月前
セイコーウオッチ株式会社
時計、音声再生方法およびプログラム
3か月前
コマデュール ソシエテ アノニム
エナメル彫刻及び模様付け方法
1か月前
カシオ計算機株式会社
電子時計、外装部材及びバンド
2か月前
カシオ計算機株式会社
指針、時計、及び指針の製造方法
3か月前
セイコーエプソン株式会社
時計用部品、および、時計
3か月前
カシオ計算機株式会社
時計、表示制御方法及びプログラム
2か月前
セイコーウオッチ株式会社
スイッチ機構、時計用ムーブメントおよび時計
2か月前
続きを見る
他の特許を見る