TOP
|
特許
|
意匠
|
商標
特許ウォッチ
Twitter
他の特許を見る
10個以上の画像は省略されています。
公開番号
2025177253
公報種別
公開特許公報(A)
公開日
2025-12-05
出願番号
2024083901
出願日
2024-05-23
発明の名称
電気光学装置および電子機器
出願人
セイコーエプソン株式会社
代理人
個人
,
個人
,
個人
主分類
G02F
1/1368 20060101AFI20251128BHJP(光学)
要約
【課題】微細化に適した電気光学装置を提供すること。
【解決手段】電気光学装置は、複数のデータ線6と、複数のサンプリングトランジスター23を有するデータ線駆動回路20と、表示領域A1とデータ線駆動回路20との間に配置され、データ線6とサンプリングトランジスター23とを電気的に接続する引回し配線51と、を備え、一端に配置されたデータ線6aと他端に配置されたデータ線6bとの間隔6Dは、データ線駆動回路20における一端に配置されたサンプリングトランジスター231と他端に配置されたサンプリングトランジスター232との間隔20Dよりも狭く、隣り合う引回し配線511と引回し配線513との間隔513D1,513D2は、データ線駆動回路20側の間隔513D1よりも表示領域A1側の間隔513D2の方が狭い。
【選択図】図7A
特許請求の範囲
【請求項1】
表示領域において、第1方向に沿って配置された複数の第1配線と、
前記表示領域の外側において、前記第1方向に交差する第2方向に沿って配置され、複数の第1単位回路を有する第1駆動回路と、
前記表示領域と前記第1駆動回路との間に配置され、それぞれが、前記複数の第1配線のうちの一の第1配線と前記複数の第1単位回路のうちの一の第1単位回路とを電気的に接続する複数の第1引回し配線と、を備え、
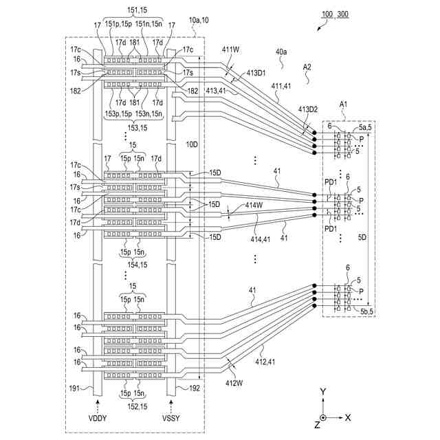
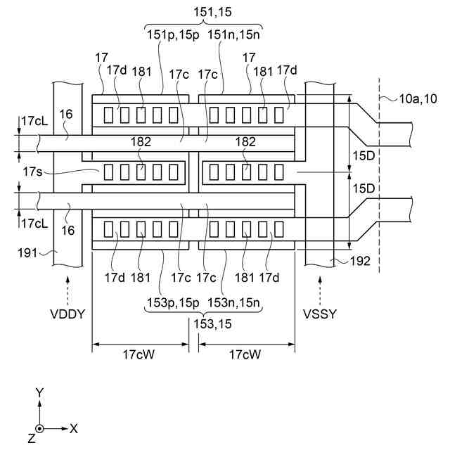
前記複数の第1配線のうちの一端に配置された第1配線と他端に配置された第1配線との間隔は、前記複数の第1単位回路のうちの一端に配置された第1単位回路と他端に配置された第1単位回路との間隔よりも狭く、
前記複数の第1引回し配線のうちの隣り合う第1引回し配線間の間隔は、前記第1駆動回路側よりも前記表示領域側の方が狭い、
電気光学装置。
続きを表示(約 1,600 文字)
【請求項2】
前記複数の第1引回し配線のうちの前記一端に配置された第1引回し配線の配線幅及び前記他端に配置された第1引回し配線の配線幅は、それぞれ前記一端に配置された前記第1引回し配線と前記他端に配置された前記第1引回し配線との間に配置された第1引回し配線の配線幅よりも広い、
請求項1に記載の電気光学装置。
【請求項3】
前記複数の第1引回し配線のうちの前記表示領域側の前記隣り合う前記第1引回し配線間の間隔は、前記複数の第1単位回路のうちの隣り合う第1単位回路の間隔よりも狭い、
請求項1に記載の電気光学装置。
【請求項4】
前記表示領域に配置され、前記第1配線に電気的に接続された第1トランジスターと、
前記表示領域の外側に配置され、前記第1単位回路を構成する第2トランジスターと、を備え、
前記第1トランジスターのチャネル長は、前記第2トランジスターのチャネル長よりも短い、
請求項1に記載の電気光学装置。
【請求項5】
前記表示領域に配置され、前記第1配線に電気的に接続された第1トランジスターと、
前記表示領域の外側に配置され、前記第1単位回路を構成する第2トランジスターと、を備え、
前記第1トランジスターのチャネル幅は、前記第2トランジスターのチャネル幅よりも狭い、
請求項1に記載の電気光学装置。
【請求項6】
前記表示領域において、前記第2方向に沿って配置された複数の第2配線と、
前記表示領域の外側において、前記第1方向に沿って配置され、複数の第2単位回路を有する第2駆動回路と、
前記表示領域と前記第2駆動回路との間に配置され、それぞれが、前記複数の第2配線のうちの一の第2配線と前記複数の第2単位回路のうちの一の第2単位回路とを電気的に接続する複数の第2引回し配線と、を備え、
前記複数の第2配線のうちの一端に配置された第2配線と他端に配置された第2配線との間隔は、前記複数の第2単位回路のうちの一端に配置された第2単位回路と他端に配置された第2単位回路との間隔よりも狭く、
前記複数の第2引回し配線のうちの隣り合う第2引回し配線間の間隔は、前記第2駆動回路側よりも前記表示領域側の方が狭い、
請求項1に記載の電気光学装置。
【請求項7】
前記複数の第2引回し配線のうちの前記一端に配置された第2引回し配線の配線幅及び前記他端に配置された第2引回し配線の配線幅は、それぞれ前記一端に配置された前記第2引回し配線と前記他端に配置された前記第2引回し配線との間に配置された第2引回し配線の配線幅よりも広い、
請求項6に記載の電気光学装置。
【請求項8】
前記複数の第2引回し配線のうちの前記表示領域側の前記隣り合う第2引回し配線間の間隔は、前記複数の第2単位回路のうちの隣り合う第2単位回路の間隔よりも狭い、
請求項6に記載の電気光学装置。
【請求項9】
前記表示領域に配置され、前記第2配線に電気的に接続された第3トランジスターと、
前記表示領域の外側に配置され、前記第2単位回路を構成する第4トランジスターと、を備え、
前記第3トランジスターのチャネル長は、前記第4トランジスターのチャネル長よりも短い、
請求項6に記載の電気光学装置。
【請求項10】
前記表示領域に配置され、前記第2配線に電気的に接続された第3トランジスターと、
前記表示領域の外側に配置され、前記第2単位回路を構成する第4トランジスターと、を備え、
前記第3トランジスターのチャネル幅は、前記第4トランジスターのチャネル幅よりも狭い、
請求項6に記載の電気光学装置。
(【請求項11】以降は省略されています)
発明の詳細な説明
【技術分野】
【0001】
本発明は、電気光学装置および電気光学装置を備えた電子機器に関する。
続きを表示(約 1,800 文字)
【背景技術】
【0002】
従来の電気光学装置としては、例えば、特許文献1に記載されたものが知られている。
特許文献1の電気光学装置は、表示領域に設けられた画素と、表示領域の外側に設けられた駆動回路とを有する。特許文献1の電気光学装置では、駆動回路として、データ線駆動回路と、2つの走査線駆動回路とを備える。
【先行技術文献】
【特許文献】
【0003】
特開2019-8150号公報
【発明の概要】
【発明が解決しようとする課題】
【0004】
このような電気光学装置では、高解像度化およびまたは小型化の要望が高く、画素回路および駆動回路の微細化が課題であった。しかし、駆動回路を構成するトランジスターは、画素回路を構成するトランジスターよりも駆動負荷の要求が大きく、微細化に伴う狭ピッチ化が難しい。つまり、電気光学装置の微細化では、特に、駆動回路の扱いが課題であった。
【課題を解決するための手段】
【0005】
本願の一態様に係る電気光学装置は、表示領域において、第1方向に沿って配置された複数の第1配線と、前記表示領域の外側において、前記第1方向に交差する第2方向に沿って配置され、複数の第1単位回路を有する第1駆動回路と、前記表示領域と前記第1駆動回路との間に配置され、それぞれが、前記複数の第1配線のうちの一の第1配線と前記複数の第1単位回路のうちの一の第1単位回路とを電気的に接続する複数の第1引回し配線と、を備え、前記複数の第1配線のうちの一端に配置された第1配線と他端に配置された第1配線との間隔は、前記複数の第1単位回路のうちの一端に配置された第1単位回路と他端に配置された第1単位回路との間隔よりも狭く、前記複数の第1引回し配線のうちの隣り合う第1引回し配線間の間隔は、前記第1駆動回路側よりも前記表示領域側の方が狭い。
【0006】
本願の一態様に係る電子機器は、上記に記載の電気光学装置を備える。
【図面の簡単な説明】
【0007】
実施形態1に係る電気光学装置の平面図。
図1のII-II線に沿う電気光学装置の断面図。
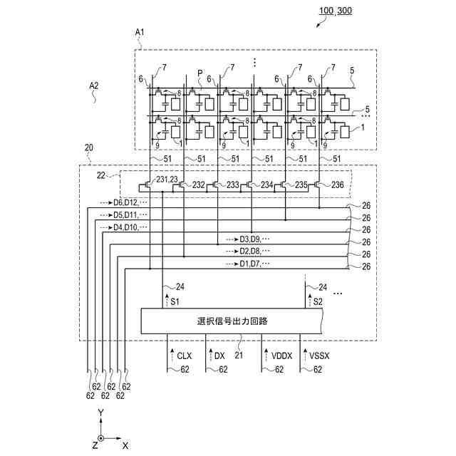
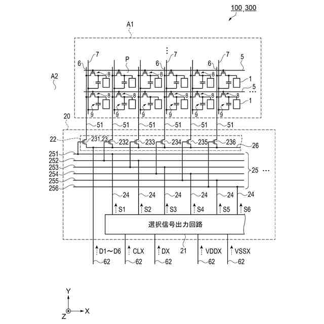
電気光学装置の回路構成を示す配線図。
走査線駆動回路の回路構成を示す配線図。
データ線駆動回路の回路構成の一例を示す配線図。
データ線駆動回路の回路構成の他の一例を示す配線図。
走査線駆動回路、引回し配線、および走査線の配置を示す平面図。
図6Aの部分拡大平面図。
データ線駆動回路、引回し配線、およびデータ線の配置を示す平面図。
図7Aの部分拡大平面図。
表示領域の部分拡大平面図。
実施形態2に係る電子機器の一例を示す模式図。
【発明を実施するための形態】
【0008】
以下、本発明の実施形態を、図面を参照して説明する。
なお、以下の各図面においては各構成要素を見やすくするため、構成要素によって寸法の縮尺を異ならせて示すことがある。
また、以下では、説明の便宜上、互いに直交する3つの軸をX軸、Y軸およびZ軸とし、X軸に平行な方向を「X軸方向」、Y軸に平行な方向を「Y軸方向」、Z軸に平行な方向を「Z軸方向」ともいう。また、各軸の矢印方向先端側を「プラス側」とも言い、反対側を「マイナス側」とも言う。
また、以下では、Z軸方向に見ることを「平面視」とする。
【0009】
さらに、以下の説明において、例えば基体に対して、「基体上に」との記載は、基体の上に接して配置される場合、基体の上に他の構造物を介して配置される場合、または基体の上に一部が接して配置され、一部が他の構造物を介して配置される場合のいずれかを表すものとする。
【0010】
1.実施形態1
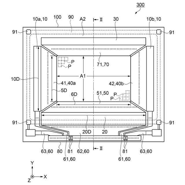
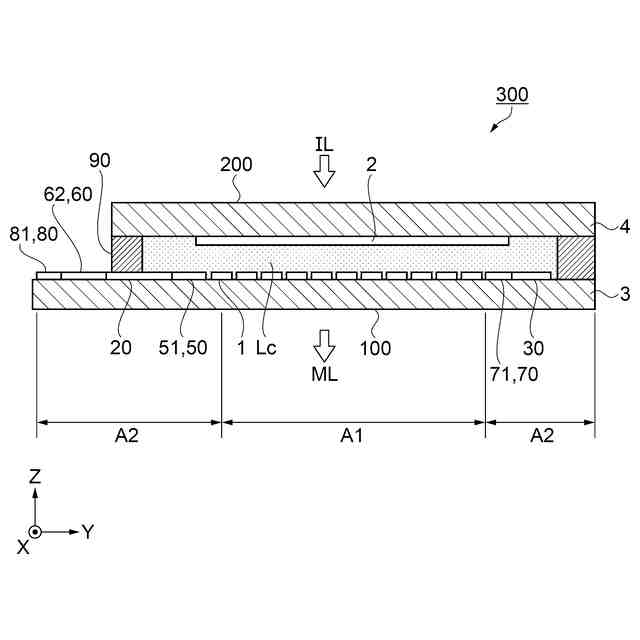
本実施形態では、電気光学装置として、液晶装置300の例を説明する。
液晶装置300は、画素Pごとにスイッチング素子としてTFT(Thin Film Transistor)を備えたアクティブ駆動型の透過型液晶装置である。液晶装置300は、例えば、後述する投射型表示装置1000において、光変調装置として用いられる。なお、本実施形態において、投射型表示装置1000は、電子機器の一例である。
(【0011】以降は省略されています)
この特許をJ-PlatPat(特許庁公式サイト)で参照する
関連特許
株式会社シグマ
結像光学系
1か月前
日本精機株式会社
ミラーユニット
1か月前
アイカ工業株式会社
反射防止フィルム
6日前
日東電工株式会社
導光部材
1か月前
株式会社コシナ
投射ズームレンズ
25日前
豊田合成株式会社
調光装置
19日前
京セラ株式会社
光学系
1か月前
日東電工株式会社
光学積層体
1か月前
日本精機株式会社
ヘッドアップディスプレイ
1か月前
日本精機株式会社
ヘッドアップディスプレイ
1か月前
キヤノン株式会社
表示装置
11日前
キヤノン株式会社
表示装置
4日前
マクセル株式会社
映像表示装置
25日前
日本精機株式会社
ヘッドアップディスプレイ装置
1か月前
住友化学株式会社
複合偏光板
4日前
京セラ株式会社
アイソレータ
11日前
矢崎総業株式会社
光ケーブル
今日
古河電気工業株式会社
光ファイバケーブル
4日前
日本精機株式会社
ヘッドアップディスプレイ装置
1か月前
古河電気工業株式会社
光ファイバケーブル
4日前
株式会社タムロン
ズームレンズ及び撮像装置
1か月前
株式会社リコー
光走査装置及び画像形成装置
1か月前
株式会社タムロン
ズームレンズ及び撮像装置
4日前
住友ベークライト株式会社
光学部品の製造方法
4日前
古河電気工業株式会社
融着機、ピッチ変換部材
4日前
レーザーテック株式会社
光学装置及び調整方法
1か月前
スタンレー電気株式会社
透光性樹脂部材
1か月前
ウシオ電機株式会社
反射型位相差構造体
今日
株式会社小糸製作所
画像表示装置
1か月前
マクセル株式会社
空中浮遊映像表示装置
1か月前
マクセル株式会社
空中浮遊映像表示装置
19日前
日東電工株式会社
光学積層体
4日前
日東電工株式会社
光学積層体
4日前
日東電工株式会社
光学積層体
4日前
株式会社小糸製作所
画像生成装置
27日前
株式会社小糸製作所
画像生成装置
13日前
続きを見る
他の特許を見る