TOP
|
特許
|
意匠
|
商標
特許ウォッチ
Twitter
他の特許を見る
公開番号
2025177252
公報種別
公開特許公報(A)
公開日
2025-12-05
出願番号
2024083900
出願日
2024-05-23
発明の名称
成形方法及び成形装置
出願人
セイコーエプソン株式会社
代理人
個人
,
個人
,
個人
主分類
B29C
33/46 20060101AFI20251128BHJP(プラスチックの加工;可塑状態の物質の加工一般)
要約
【課題】成形材料の種類や硬化後の成形体の形状によっては、金型の表面に密着したままとなる場合がある。すなわち、硬化後の成形体が金型から離型し難くなる場合がある。
【解決手段】型開きが可能な第1型321及び第2型341が互いに型締めされることによってキャビティー33が区画される金型31を用いて成形体1を成形する成形方法であって、第1型321に設けられたガス導入孔326からキャビティー33に加圧ガスを導入し、加圧ガスが導入されている状態で、可塑化した成形材料11をキャビティー33に注入する。
【選択図】図3
特許請求の範囲
【請求項1】
型開きが可能な第1型及び第2型が互いに型締めされることによってキャビティーが区画される金型を用いて成形体を成形する成形方法であって、
前記第1型に設けられたガス導入孔から前記キャビティーに加圧ガスを導入し、
前記加圧ガスが導入されている状態で、可塑化した成形材料を前記キャビティーに注入することを特徴とする成形方法。
続きを表示(約 950 文字)
【請求項2】
前記成形材料を注入した後、前記金型を型開きする前に、
前記ガス導入孔から前記キャビティーに負圧を付与する、
ことを特徴とする請求項1に記載の成形方法。
【請求項3】
前記成形材料を注入した後、前記金型を型開きする前に、
前記第1型において、前記ガス導入孔とは異なる位置に設けられたガス吸気孔から前記キャビティーに負圧を付与する、
ことを特徴とする請求項1に記載の成形方法。
【請求項4】
前記金型の型開きを行った後、前記キャビティーに前記加圧ガスを導入する、
ことを特徴とする請求項1に記載の成形方法。
【請求項5】
前記成形体が前記第1型から離型されたことを検知する、
ことを特徴とする請求項4に記載の成形方法。
【請求項6】
前記成形体が離型されたことが検知されなかった場合は、さらに、前記キャビティーに前記加圧ガスを導入する、
ことを特徴とする請求項5に記載の成形方法。
【請求項7】
前記ガス導入孔の前記キャビティーに隣接する位置には、多孔質部材が配置され、前記加圧ガスは、前記多孔質部材を介して導入される、
ことを特徴とする請求項1に記載の成形方法。
【請求項8】
前記ガス吸気孔の前記キャビティーに隣接する位置には、多孔質部材が配置され、前記キャビティーへの負圧の付与は、前記多孔質部材を介して行われる、
ことを特徴とする請求項3に記載の成形方法。
【請求項9】
前記多孔質部材は、積層造形で作成される、
ことを特徴とする請求項7又は8に記載の成形方法。
【請求項10】
型開きが可能な第1型及び第2型が互いに型締めされることによってキャビティーが区画される金型と、成形動作を制御する制御部と、を備える成形装置であって、
前記第1型は、加圧ガスが導入されるガス導入孔を有し、
前記制御部は、前記ガス導入孔から前記キャビティーに前記加圧ガスを導入させている状態で、可塑化した成形材料を前記キャビティーに注入させることを特徴とする成形装置。
発明の詳細な説明
【技術分野】
【0001】
本開示は、成形方法及び成形装置に関する。
続きを表示(約 1,600 文字)
【背景技術】
【0002】
従来、特許文献1に示すように、金型のキャビティー内に溶融した樹脂を射出して成形体を成形した後に、キャビティー内に高圧エアを噴出して成形体を金型から離型する成形方法が開示されている。
【先行技術文献】
【特許文献】
【0003】
特開2003-117967号公報
【発明の概要】
【発明が解決しようとする課題】
【0004】
しかしながら、特許文献1に記載の成形方法では、成形材料の種類や硬化後の成形体の形状によっては、金型の表面に密着したままとなる場合がある。すなわち、硬化後の成形体が金型から離型し難くなる場合がある。
【課題を解決するための手段】
【0005】
成形方法は、型開きが可能な第1型及び第2型が互いに型締めされることによってキャビティーが区画される金型を用いて成形体を成形する成形方法であって、前記第1型に設けられたガス導入孔から前記キャビティーに加圧ガスを導入し、前記加圧ガスが導入されている状態で、可塑化した成形材料を前記キャビティーに注入する。
【0006】
成形装置は、型開きが可能な第1型及び第2型が互いに型締めされることによってキャビティーが区画される金型と、成形動作を制御する制御部と、を備える成形装置であって、前記第1型は、加圧ガスが導入されるガス導入孔を有し、前記制御部は、前記ガス導入孔から前記キャビティーに前記加圧ガスを導入させている状態で、可塑化した成形材料を前記キャビティーに注入させる。
【図面の簡単な説明】
【0007】
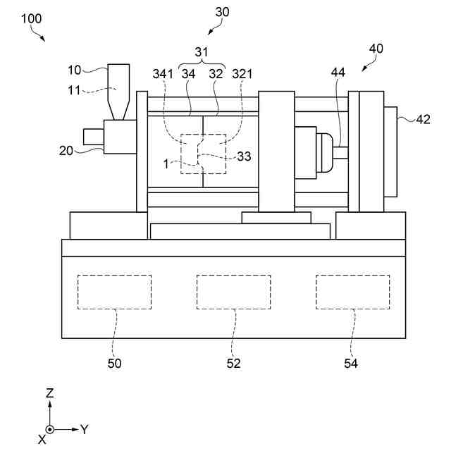
射出成形装置を模式的に示す側面図。
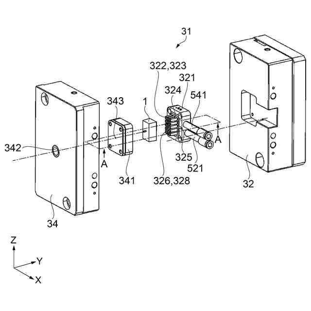
金型の構成を模式的に示す分解斜視図。
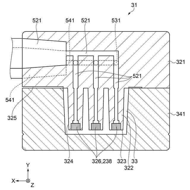
図2中のA-A線断面図。
成形方法の制御を示すフローチャート。
成形方法の制御を示すタイミングチャート。
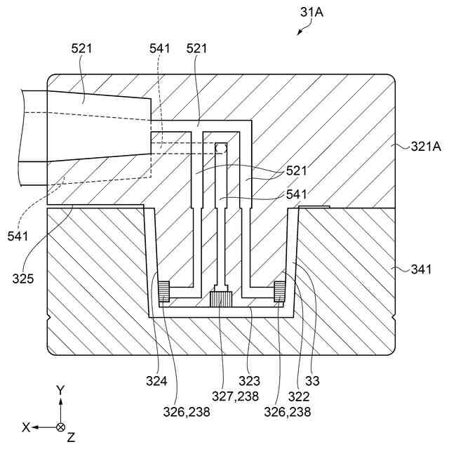
第2実施形態における図2中のA-A線断面図。
【発明を実施するための形態】
【0008】
1.第1実施形態
***射出成形装置の概要***
図1に示す射出成形装置100は、材料供給部10と、射出部20と、型部30と、型締部40と、制御部50と、加圧部52と、吸気部54と、を備える。射出成形装置100は、射出部20から注入された成形材料11を成形することによって成形体1を成形する。射出成形装置100は、「成形装置」の一例である。
【0009】
図1を含む複数の図は、互いに直交する3つの軸として、X軸、Y軸、及びZ軸を示している。X軸は、射出成形装置100の設置面に対して平行な軸である。X軸に平行な+X方向は、図1に示す射出成形装置100の奥から手前に向かう方向である。-X方向は、+X方向の反対の方向である。Y軸は、射出成形装置100の設置面に対して平行で、X軸に垂直な軸である。Y軸に平行な+Y方向は、図1に示す射出成形装置100の射出部20から型部30へ向かう方向である。-Y方向は、+Y方向の反対の方向である。Z軸は、射出成形装置100の設置面に対して垂直な軸である。Z軸に平行な+Z方向は、設置面から上方に向かう方向である。-Z方向は、設置面から下方に向かう方向である。Z軸は、射出成形装置100の設置面が水平な面である場合、鉛直方向に沿う軸である。
【0010】
材料供給部10は、射出部20に原料となる成形材料11を供給する。材料供給部10は、例えば、ホッパーによって構成される。材料供給部10から供給される成形材料11の形状は、ペレット状、又は粉末状などである。材料供給部10によって供給される成形材料11としては、ABS(アクリロニトリルブタジエンスチレン)、PP(ポリプロピレン)、PS(ポリスチレン)、又はエラストマーなどの樹脂を用いることができる。
(【0011】以降は省略されています)
この特許をJ-PlatPat(特許庁公式サイト)で参照する
関連特許
セイコーエプソン株式会社
電子時計
19日前
セイコーエプソン株式会社
記録装置
11日前
セイコーエプソン株式会社
治療機器
11日前
セイコーエプソン株式会社
微細化装置
6日前
セイコーエプソン株式会社
微細化装置
6日前
セイコーエプソン株式会社
半導体装置
19日前
セイコーエプソン株式会社
流体デバイス
11日前
セイコーエプソン株式会社
画像記録装置
12日前
セイコーエプソン株式会社
文字板及び時計
19日前
セイコーエプソン株式会社
シート製造装置
12日前
セイコーエプソン株式会社
フィルター装置
11日前
セイコーエプソン株式会社
シート製造装置
4日前
セイコーエプソン株式会社
ダイオード回路
19日前
セイコーエプソン株式会社
時計用部品及び時計
4日前
セイコーエプソン株式会社
成形方法及び成形装置
4日前
セイコーエプソン株式会社
三次元造形物の製造方法
4日前
セイコーエプソン株式会社
印刷装置、及び制御方法
4日前
セイコーエプソン株式会社
電気光学装置および電子機器
4日前
セイコーエプソン株式会社
振動素子、振動子、及び発振器
5日前
セイコーエプソン株式会社
光源装置およびプロジェクター
11日前
セイコーエプソン株式会社
光源装置およびプロジェクター
11日前
セイコーエプソン株式会社
緩衝材および緩衝材の製造方法
11日前
セイコーエプソン株式会社
媒体搬送装置及び画像読取装置
5日前
セイコーエプソン株式会社
振動素子、振動子、及び発振器
12日前
セイコーエプソン株式会社
巻取装置、及び印刷巻取システム
5日前
セイコーエプソン株式会社
印刷装置及び印刷装置の制御方法
4日前
セイコーエプソン株式会社
記録装置、及びクリーニング装置
4日前
セイコーエプソン株式会社
液体吐出ヘッドおよび液体吐出装置
11日前
セイコーエプソン株式会社
液体吐出ヘッド、および液体吐出装置
11日前
セイコーエプソン株式会社
液体吐出ヘッド、および液体吐出装置
11日前
セイコーエプソン株式会社
時計用部品および時計用部品の製造方法
11日前
セイコーエプソン株式会社
触媒構造体および触媒構造体の製造方法
11日前
セイコーエプソン株式会社
容器供給装置、容器供給方法および蓋閉め装置
4日前
セイコーエプソン株式会社
電気光学装置、電気光学パネル及びドライバー
4日前
セイコーエプソン株式会社
材料吐出装置、三次元造形装置、及び射出成形装置
4日前
セイコーエプソン株式会社
記録装置
4日前
続きを見る
他の特許を見る