TOP
|
特許
|
意匠
|
商標
特許ウォッチ
Twitter
他の特許を見る
10個以上の画像は省略されています。
公開番号
2025176831
公報種別
公開特許公報(A)
公開日
2025-12-05
出願番号
2024083181
出願日
2024-05-22
発明の名称
記録装置、及びクリーニング装置
出願人
セイコーエプソン株式会社
代理人
個人
,
個人
,
個人
主分類
B41J
2/165 20060101AFI20251128BHJP(印刷;線画機;タイプライター;スタンプ)
要約
【課題】実行された記録部のメンテナンスが良好であったか否かが確認されないまま、記録部のメンテナンスが終了する虞がある。
【解決手段】記録装置1は、インクLiが収容される液室17内の圧力を吐出素子15の駆動により変化させることで液室17に通じるノズルNからインクLiを吐出する記録部10と、メンテナンス液Lcの液滴をノズルNに着弾させることで記録部10のメンテナンスを行う噴射体71と、噴射体71による記録部10のメンテナンスが行われた後に、吐出素子15の駆動により液室17に発生する残留振動を検出する検出部95と、制御部90と、を備え、制御部90は、検出部95の検出結果に基づいて、記録部10のメンテナンスの良否判定を行う。
【選択図】図1
特許請求の範囲
【請求項1】
液体が収容される液室内の圧力を吐出素子の駆動により変化させることで、前記液室に通じるノズルから前記液体を吐出する記録部と、
前記ノズルが開口するノズル面に向けてメンテナンス液を噴射ノズルから液柱状態で噴射する噴射体であって、前記メンテナンス液の液滴を前記ノズルに着弾させることで前記記録部のメンテナンスを行う前記噴射体と、
前記ノズル面に沿う方向の、前記記録部に対する前記噴射体の相対位置を移動させる相対移動部と、
前記噴射体による前記記録部のメンテナンスが行われた後に、前記吐出素子の駆動により前記液室に発生する残留振動を検出する検出部と、
制御部と、
を備え、
前記制御部は、前記検出部の検出結果に基づいて、前記記録部のメンテナンスの良否判定を行う、
ことを特徴とする記録装置。
続きを表示(約 1,100 文字)
【請求項2】
前記制御部は、
前記記録部のメンテナンスの良否判定において前記記録部のメンテナンスが不良であると判断した場合、前記記録部のメンテナンスの仕様を変更し、
変更された前記仕様で、前記記録部のメンテナンスを再度行う、
ことを特徴とする請求項1に記載の記録装置。
【請求項3】
前記仕様の変更は、前記記録部に対する前記噴射体の相対位置を移動させる移動速度を遅くすることである、
ことを特徴とする請求項2に記載の記録装置。
【請求項4】
前記仕様の変更は、前記記録部に対する前記噴射体の相対位置を移動させる移動回数を増やすことである、
ことを特徴とする請求項2に記載の記録装置。
【請求項5】
前記仕様の変更は、前記噴射体から前記メンテナンス液を噴射する噴射圧を高くすることである、
ことを特徴とする請求項2に記載の記録装置。
【請求項6】
前記仕様の変更は、前記メンテナンス液の液滴の大きさを大きくすることである、
ことを特徴とする請求項2に記載の記録装置。
【請求項7】
前記噴射ノズルを第1噴射ノズルとするとき、前記噴射体は、前記第1噴射ノズルと仕様の異なる第2噴射ノズルをさらに有し、
前記仕様の変更は、前記第1噴射ノズルによる前記メンテナンス液の噴射を、前記第2噴射ノズルによる前記メンテナンス液の噴射に切り替えることを含む、
ことを特徴とする請求項2に記載の記録装置。
【請求項8】
前記噴射体が前記ノズルに向けて前記メンテナンス液を噴射するときに、前記ノズル面と前記噴射体とを含む閉空間を形成するカバーをさらに備える、
ことを特徴とする請求項1に記載の記録装置。
【請求項9】
液体が収容される液室内の圧力を吐出素子の駆動により変化させることで前記液室に通じるノズルから前記液体を吐出する記録部を、着脱可能に搭載するキャリッジと、
前記ノズルが開口するノズル面に向けてメンテナンス液を噴射ノズルから液柱状態で噴射する噴射体であって、前記メンテナンス液の液滴を前記ノズルに着弾させることで前記記録部のメンテナンスを行う前記噴射体と、
前記ノズル面に沿う方向の、前記記録部に対する前記噴射体の相対位置を移動させる相対移動部と、
前記噴射体による前記記録部のメンテナンスが行われた後に、前記吐出素子の駆動により前記液室に発生する残留振動を検出する検出部と、
制御部と、
を備え、
前記制御部は、前記検出部の検出結果に基づいて、前記記録部のメンテナンスの良否判定を行う、
ことを特徴とするクリーニング装置。
発明の詳細な説明
【技術分野】
【0001】
本開示は、記録装置、及びクリーニング装置に関する。
続きを表示(約 2,300 文字)
【背景技術】
【0002】
特許文献1には、液滴吐出面に設けられるノズルからインク液滴を吐出するインクジェットヘッドと、インクジェットヘッドの液滴吐出面を洗浄するヘッド洗浄機構と、を有する画像記録装置が開示されている。ヘッド洗浄機構は、液滴吐出面に洗浄液を噴射する噴射手段及び液滴吐出面をワイピングするワイピング手段を有するクリーニングユニットと、クリーニングユニットとインクジェットヘッドとを相対的に移動させる移動手段とを有する。画像記録装置は、クリーニングユニットによる液滴吐出面のクリーニングを行うことで、ノズルからのインク液滴の吐出不良を適正にする。
【先行技術文献】
【特許文献】
【0003】
特開2009-233896号公報
【発明の概要】
【発明が解決しようとする課題】
【0004】
しかしながら、特許文献1の画像記録装置では、クリーニングユニットによる液滴吐出面のクリーニングによって、ノズルからのインク液滴の吐出が適正になったか否かが確認されない。この場合、実行された液滴吐出面のクリーニングが良好であったか否かが確認されないまま、クリーニングユニットによる液滴吐出面のクリーニングが終了する虞がある。
【課題を解決するための手段】
【0005】
記録装置は、液体が収容される液室内の圧力を吐出素子の駆動により変化させることで、前記液室に通じるノズルから前記液体を吐出する記録部と、前記ノズルが開口するノズル面に向けてメンテナンス液を噴射ノズルから液柱状態で噴射する噴射体であって、前記メンテナンス液の液滴を前記ノズルに着弾させることで前記記録部のメンテナンスを行う前記噴射体と、前記ノズル面に沿う方向の、前記記録部に対する前記噴射体の相対位置を移動させる相対移動部と、前記噴射体による前記記録部のメンテナンスが行われた後に、前記吐出素子の駆動により前記液室に発生する残留振動を検出する検出部と、制御部と、を備え、前記制御部は、前記検出部の検出結果に基づいて、前記記録部のメンテナンスの良否判定を行う。
【0006】
クリーニング装置は、液体が収容される液室内の圧力を吐出素子の駆動により変化させることで前記液室に通じるノズルから前記液体を吐出する記録部を、着脱可能に搭載するキャリッジと、前記ノズルが開口するノズル面に向けてメンテナンス液を噴射ノズルから液柱状態で噴射する噴射体であって、前記メンテナンス液の液滴を前記ノズルに着弾させることで前記記録部のメンテナンスを行う前記噴射体と、前記ノズル面に沿う方向の、前記記録部に対する前記噴射体の相対位置を移動させる相対移動部と、前記噴射体による前記記録部のメンテナンスが行われた後に、前記吐出素子の駆動により前記液室に発生する残留振動を検出する検出部と、制御部と、を備え、前記制御部は、前記検出部の検出結果に基づいて、前記記録部のメンテナンスの良否判定を行う。
【図面の簡単な説明】
【0007】
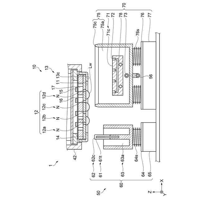
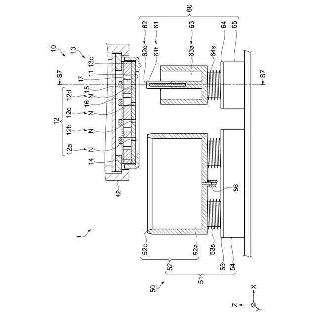
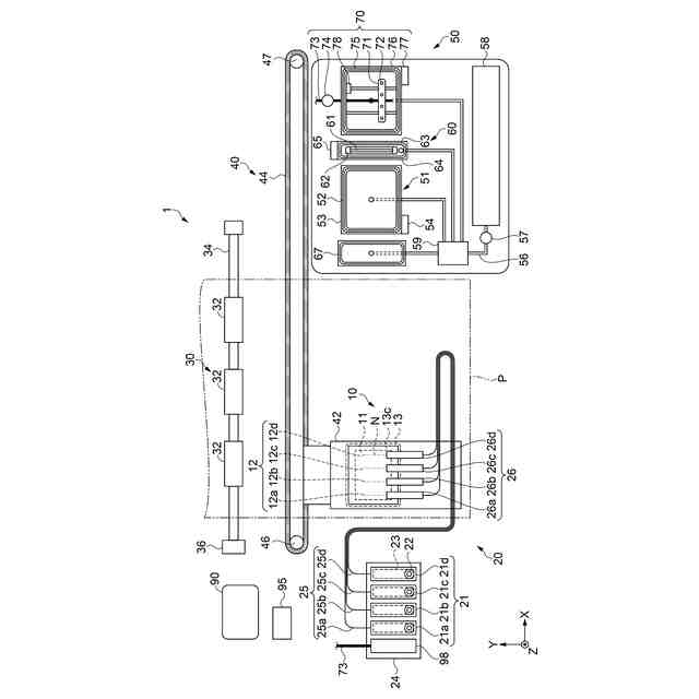
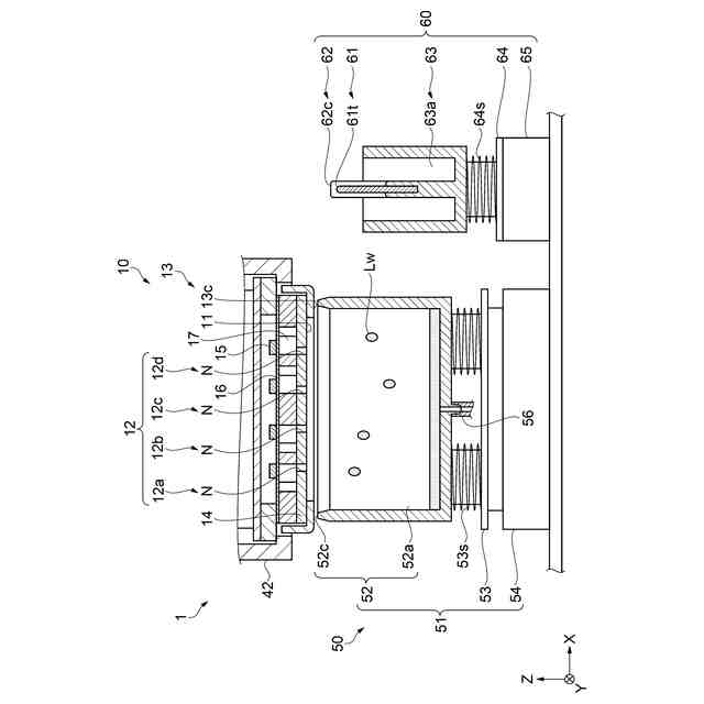
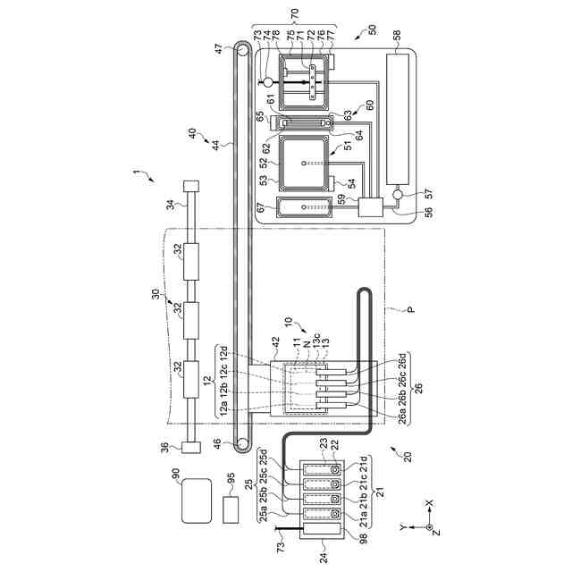
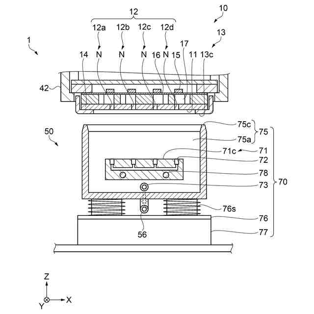
実施形態に係る記録装置の概略構成を示す模式平面図。
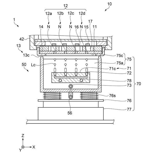
実施形態に係るメンテナンス部を示す部分断面図。
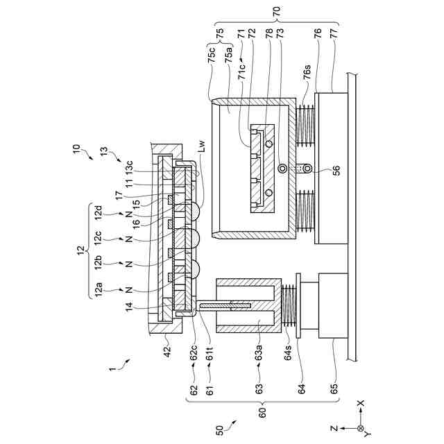
実施形態に係るメンテナンス部を示す部分断面図。
実施形態に係るメンテナンス部を示す部分断面図。
実施形態に係るメンテナンス部を示す部分断面図。
実施形態に係るメンテナンス部を示す部分断面図。
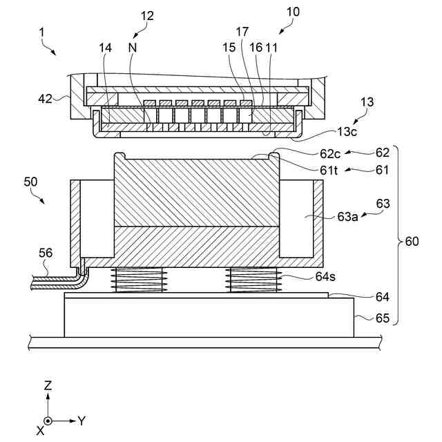
図2に示したS7-S7断面を示す断面図。
実施形態に係るメンテナンス部を示す部分断面図。
実施形態に係るメンテナンス部を示す部分断面図。
実施形態に係るメンテナンス部を示す部分断面図。
実施形態に係るメンテナンス部を示す部分断面図。
実施形態に係るメンテナンス部を示す部分断面図。
記録部の液室に発生する残留振動に基づく信号を示すグラフ。
記録部のメンテナンスを行うときの処理を示すフローチャート。
他の実施形態に係る噴射部を示す模式平面図。
他の実施形態に係る噴射部を示す模式平面図。
【発明を実施するための形態】
【0008】
以下、実施形態に基づいて本開示が説明される。各図において同一部材には同一符号を付し、重複する説明は省略する。尚、本明細書において、「同じ」、「同一」、「同時」とは、完全に同じであることのみを指さない。例えば、本明細書において、「同じ」、「同一」、「同時」とは、測定誤差を考慮して同じである場合を含むものとする。例えば、本明細書において、「同じ」、「同一」、「同時」とは、部材の製造ばらつきを考慮して同じである場合を含むものとする。
【0009】
例えば、本明細書において、「同じ」、「同一」、「同時」とは、機能を損なわない範囲で同じである場合を含むものとする。よって、例えば、「両者の寸法が同じである」とは、測定誤差、部材の製造ばらつきを考慮し、両者の寸法差が、一方の寸法の±5パーセント以内、特に好ましくは±3パーセント以内であることを指す。
【0010】
1.実施形態1
本実施形態において、記録装置1は、インクジェット式プリンターとして構成され、媒体Pの一例である記録用紙にインクLiを吐出して画像を形成する。インクLiは液体の一例である。尚、記録用紙に代えて、樹脂フィルム、布帛等の任意の種類の媒体Pを、インクLiの吐出対象としてもよい。以下、図を参照しながら記録装置1について説明がされる。
(【0011】以降は省略されています)
この特許をJ-PlatPat(特許庁公式サイト)で参照する
関連特許
個人
印鑑
4日前
個人
箔熱転写装置
3か月前
シヤチハタ株式会社
印判
6か月前
東レ株式会社
凸版印刷版原版
12か月前
シヤチハタ株式会社
反転式印判
11か月前
独立行政法人 国立印刷局
印刷物
9か月前
キヤノン株式会社
記録装置
2か月前
三光株式会社
感熱記録材料
8か月前
キヤノン株式会社
電子機器
1か月前
独立行政法人 国立印刷局
貼付機構
3か月前
株式会社リコー
液体吐出装置
6か月前
株式会社リコー
画像形成装置
2か月前
独立行政法人 国立印刷局
貼付装置
3か月前
株式会社リコー
液体吐出装置
3か月前
株式会社リコー
液体吐出装置
9か月前
株式会社リコー
画像形成装置
2か月前
株式会社リコー
印刷システム
2か月前
株式会社リコー
液体吐出装置
7か月前
株式会社リコー
液体吐出装置
6か月前
日本製紙株式会社
感熱記録体
9か月前
株式会社リコー
液体吐出装置
9か月前
独立行政法人 国立印刷局
記録媒体
10か月前
株式会社リコー
液体吐出装置
10か月前
株式会社リコー
画像形成装置
3か月前
株式会社リコー
液体吐出装置
7か月前
ブラザー工業株式会社
プリンタ
9か月前
独立行政法人 国立印刷局
潜像形成体
2か月前
ブラザー工業株式会社
プリンタ
10か月前
ブラザー工業株式会社
プリンタ
6か月前
キヤノン株式会社
印刷制御装置
12か月前
キヤノン株式会社
画像形成装置
10か月前
フジコピアン株式会社
中間転写シート
11か月前
理想科学工業株式会社
印刷装置
8か月前
キヤノン株式会社
画像形成装置
5か月前
キヤノン株式会社
印刷システム
19日前
独立行政法人 国立印刷局
潜像印刷物
3か月前
続きを見る
他の特許を見る