TOP
|
特許
|
意匠
|
商標
特許ウォッチ
Twitter
他の特許を見る
10個以上の画像は省略されています。
公開番号
2025177254
公報種別
公開特許公報(A)
公開日
2025-12-05
出願番号
2024083902
出願日
2024-05-23
発明の名称
印刷装置及び印刷装置の制御方法
出願人
セイコーエプソン株式会社
代理人
個人
,
個人
,
個人
主分類
B41J
2/01 20060101AFI20251128BHJP(印刷;線画機;タイプライター;スタンプ)
要約
【課題】搬送負荷の増大による搬送不良を防ぎ、媒体を精度よく搬送することができる印刷装置を提供する。
【解決手段】印刷装置1は、印刷媒体Sの搬送が停止している停止時間が所定時間以上経過した後に、印刷媒体Sの搬送を実施する場合は、印刷媒体Sを第1加速度V1で搬送し、停止時間が所定時間を経過するよりも前に、印刷媒体Sの搬送を実施する場合は、印刷媒体Sを第1加速度V1よりも大きい第2加速度V2で搬送させる制御部100を備える。
【選択図】図1
特許請求の範囲
【請求項1】
媒体を所定距離だけ搬送方向に搬送する動作と、前記媒体の搬送を停止する動作とを繰り返す間欠搬送を実行する搬送部と、
前記間欠搬送における前記媒体の搬送を停止している間に、前記媒体に液体を吐出して印刷する印刷部と、
前記印刷部が前記媒体に吐出した前記液体を乾燥させる乾燥部と、
制御部と、
を備え、
前記乾燥部は、
接触加熱部と、
前記接触加熱部と対向する位置に配置され、気流噴射口から気流を噴射する気流噴射部と、
を有し、
前記接触加熱部は、
前記印刷部が前記液体を吐出する前記媒体の面である印刷面とは反対の裏面に接触する接触加熱面を備え、
前記気流噴射口は、前記接触加熱面と対向し、
前記制御部は、
前記搬送部による前記媒体の搬送が停止している停止時間が所定時間以上経過した後に、前記媒体の搬送を実施する場合は、前記媒体を第1加速度で搬送し、
前記停止時間が前記所定時間を経過するよりも前に、前記媒体の搬送を実施する場合は、前記媒体を前記第1加速度よりも大きい第2加速度で搬送し、
前記間欠搬送における前記媒体の停止時間は前記所定時間未満である、
印刷装置。
続きを表示(約 1,800 文字)
【請求項2】
前記制御部は、
前記搬送部が前記間欠搬送を実施するときに、前記間欠搬送を実施する前に前記媒体の搬送が停止している停止時間が前記所定時間以上経過している場合に、
前記間欠搬送の1回目の前記媒体の搬送において、前記媒体を前記第1加速度で搬送し、
前記間欠搬送の2回目以降の前記媒体の搬送において、前記媒体を前記第2加速度で搬送する、
請求項1記載の印刷装置。
【請求項3】
前記制御部は、
前記搬送部による前記媒体の搬送が停止している停止時間が前記所定時間以上経過した後に、前記媒体の搬送を実施する場合、
前記媒体を前記第1加速度で搬送を開始した後に、前記媒体を第1減速度で減速させて停止し、
前記第1減速度の傾きの絶対値は、前記第1加速度の傾きの絶対値よりも大きい、
請求項1又は2記載の印刷装置。
【請求項4】
前記制御部は、
前記搬送部による前記媒体の搬送が停止している停止時間が前記所定時間に達する前に、前記媒体の搬送を実施する場合、前記媒体を前記第2加速度で搬送を開始した後に、前記媒体を第2減速度で減速させて停止し、
前記第1加速度で加速した後に前記第1減速度で減速させることで前記媒体を搬送した時の前記媒体の搬送距離は、前記第2加速度で加速した後に前記第2減速度で減速させることで前記媒体を搬送したときの前記媒体の搬送距離と等しい、
請求項3に記載の印刷装置。
【請求項5】
前記印刷装置は、
前記媒体を挟んで前記印刷部と対向する位置に、前記媒体を支持する支持部と、
前記媒体の搬送方向において、前記支持部と前記乾燥部との間に、前記媒体を搬送する際に前記媒体に駆動力を与える第1駆動ローラーと、
前記媒体の搬送方向において、前記乾燥部の下流に前記媒体を搬送する際に前記媒体に駆動力を与える第2駆動ローラーと、
をさらに備え、
前記制御部は、前記媒体の搬送を行わない時間が前記所定時間以上になる場合に、
前記支持部と前記乾燥部との間に位置する前記媒体にかかるテンションが、前記媒体を搬送中に前記支持部と前記乾燥部との間に位置する前記媒体にかかるテンションよりも小さくなるように前記第1駆動ローラーを制御し、
前記乾燥部と前記第2駆動ローラーとの間に位置する前記媒体にかかるテンションが、前記媒体を搬送中に前記乾燥部と前記第2駆動ローラーとの間に位置する前記媒体にかかるテンションよりも小さくなるように前記第2駆動ローラーを制御する
請求項1又は2に記載の印刷装置。
【請求項6】
前記乾燥部は、前記気流噴射口から前記媒体の前記印刷面に噴射される気流を供給する気流供給部を備え、
前記制御部は、前記媒体の搬送を行わない時間が前記所定時間以上になる場合に、前記気流供給部が供給する前記気流の量を、前記媒体の搬送中に前記気流供給部が供給する前記気流の量よりも少なくなるように前記気流供給部を制御する、
請求項1又は2記載の印刷装置。
【請求項7】
媒体を所定距離だけ搬送方向に搬送する動作と、前記媒体の搬送を停止する動作とを繰り返す間欠搬送を実行する搬送部と、前記間欠搬送における前記媒体の搬送を停止している間に、前記媒体に液体を吐出して印刷する印刷部と、前記印刷部が前記媒体に吐出した前記液体を乾燥させる乾燥部と、を備え、
前記乾燥部は、接触加熱部と、前記接触加熱部と対向する位置に配置され、気流噴射口から気流を噴射する気流噴射部と、を有し、前記接触加熱部は、前記印刷部が前記液体を吐出する前記媒体の面である印刷面とは反対の裏面に接触する接触加熱面を備え、前記気流噴射口は、前記接触加熱面と対向する印刷装置の制御方法であって、
前記搬送部による前記媒体の搬送が停止している停止時間が所定時間以上経過した後に、前記媒体の搬送を実施する場合は、前記媒体を第1加速度で搬送し、
前記停止時間が前記所定時間を経過するよりも前に、前記媒体の搬送を実施する場合は、前記媒体を前記第1加速度よりも大きい第2加速度で搬送し、
前記間欠搬送における前記媒体の停止時間は前記所定時間未満である、
印刷装置の制御方法。
発明の詳細な説明
【技術分野】
【0001】
本発明は、印刷装置及び印刷装置の制御方法に関する。
続きを表示(約 2,300 文字)
【背景技術】
【0002】
従来、媒体の印刷面に印刷された画像を乾燥させる機構を備えた印刷装置が知られている。例えば、特許文献1は、印刷媒体の裏面に接触させて印刷媒体を加熱する背面ヒーターと、背面ヒーターに対向して配置され印刷媒体の表面に熱風を送風する送風部とを乾燥炉内に有する印刷装置を開示する。
【先行技術文献】
【特許文献】
【0003】
特開2023-133808号公報
【発明の概要】
【発明が解決しようとする課題】
【0004】
しかしながら、媒体が所定時間以上、乾燥炉内に滞留すると、媒体と背面ヒーターとの間に貼り付きが発生し、この貼り付きによって媒体の搬送負荷が増大し搬送に不具合が生じることがある。
【課題を解決するための手段】
【0005】
本開示は、媒体を所定距離だけ搬送方向に搬送する動作と、前記媒体の搬送を停止する動作とを繰り返す間欠搬送を実行する搬送部と、前記間欠搬送における前記媒体の搬送を停止している間に、前記媒体に液体を吐出して印刷する印刷部と、前記印刷部が前記媒体に吐出した前記液体を乾燥させる乾燥部と、制御部と、を備え、前記乾燥部は、接触加熱部と、前記接触加熱部と対向する位置に配置され、気流噴射口から気流を噴射する気流噴射部と、を有し、前記接触加熱部は、前記印刷部が前記液体を吐出する前記媒体の面である印刷面とは反対の裏面に接触する接触加熱面を備え、前記気流噴射口は、前記接触加熱面と対向し、前記制御部は、前記搬送部による前記媒体の搬送が停止している停止時間が所定時間以上経過した後に、前記媒体の搬送を実施する場合は、前記媒体を第1加速度で搬送し、前記停止時間が前記所定時間を経過するよりも前に、前記媒体の搬送を実施する場合は、前記媒体を前記第1加速度よりも大きい第2加速度で搬送し、前記間欠搬送における前記媒体の停止時間は前記所定時間未満である印刷装置である。
【0006】
本開示は、媒体を所定距離だけ搬送方向に搬送する動作と、前記媒体の搬送を停止する動作とを繰り返す間欠搬送を実行する搬送部と、前記間欠搬送における前記媒体の搬送を停止している間に、前記媒体に液体を吐出して印刷する印刷部と、前記印刷部が前記媒体に吐出した前記液体を乾燥させる乾燥部と、を備え、前記乾燥部は、接触加熱部と、前記接触加熱部と対向する位置に配置され、気流噴射口から気流を噴射する気流噴射部と、を有し、前記接触加熱部は、前記印刷部が前記液体を吐出する前記媒体の面である印刷面とは反対の裏面に接触する接触加熱面を備え、前記気流噴射口は、前記接触加熱面と対向する印刷装置の制御方法であって、前記搬送部による前記媒体の搬送が停止している停止時間が所定時間以上経過した後に、前記媒体の搬送を実施する場合は、前記媒体を第1加速度で搬送し、前記停止時間が前記所定時間を経過するよりも前に、前記媒体の搬送を実施する場合は、前記媒体を前記第1加速度よりも大きい第2加速度で搬送し、前記間欠搬送における前記媒体の停止時間は前記所定時間未満である、印刷装置の制御方法である。
【図面の簡単な説明】
【0007】
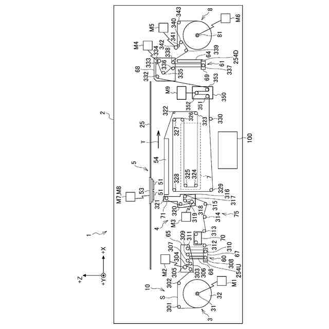
印刷装置の構成を示す図。
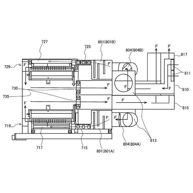
乾燥部の構成を示す図。
印刷装置の乾燥部周辺を背面側から見た斜視図。
印刷装置の乾燥部周辺を背面側から見た断面図。
印刷装置の制御系を示すブロック図。
印刷媒体の1フレームを示す図。
制御部が制御する複数の制御項目の各値を示す図。
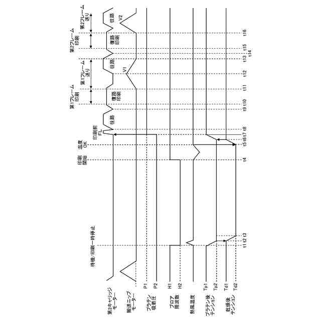
印刷装置の動作を示すタイミングチャート。
印刷装置の動作を示すフローチャート。
変形例1の制御部が制御する複数の制御項目の各値を示す図。
変形例2の第1加速度の変化を示す図。
【発明を実施するための形態】
【0008】
[1.第1実施形態の印刷装置の全体構成]
以下、図面を参照しながら本発明の実施形態について説明する。
図1は、第1実施形態の印刷装置1の概略構成を示す模式図である。図1及び以下に説明する各図には、印刷装置1の設置状態における方向を説明するため、XYZ直交座標を図示する。
Z軸は印刷装置1の設置状態における鉛直方向を示し、高さ方向ということができる。鉛直方向の上向きを+Z方向と定義し、鉛直方向の下向きを-Z方向と定義する。
X軸は印刷装置1の左右方向を示す。図面視で右方向を+X方向と定義し、図面視で左方向を-X方向と定義する。
Y軸はX軸に直交する方向であり、前後方向ということができる。図面視で奥側から手前側の方向を+Y方向と定義し、図面視で手前側から奥側の方向を-Y方向と定義する。
【0009】
印刷装置1は、印刷部5によって印刷媒体Sに印刷を行う。印刷装置1で使用される印刷媒体Sとしては各種のシートを用いることができる。以下の説明では、印刷媒体Sとして、裏面に粘着剤が付されたラベルを剥離紙に並べてロール状に巻いたラベル用紙を用いる構成を示す。印刷装置1の印刷方式に制限はないが、本実施形態では、印刷部5によって印刷媒体Sにインクを吐出するインクジェット式のプリンターを、印刷装置1の一例として示す。
【0010】
印刷装置1は、筐体2に媒体供給部3、印刷部5、乾燥部7、媒体回収部8及び制御部100が配置された構成を備える。筐体2は、印刷装置1の不図示のフレームに取り付けられ、上記の各部を収容する。
(【0011】以降は省略されています)
この特許をJ-PlatPat(特許庁公式サイト)で参照する
関連特許
個人
印鑑
4日前
個人
箔熱転写装置
3か月前
シヤチハタ株式会社
印判
6か月前
キヤノン株式会社
電子機器
1か月前
キヤノン株式会社
記録装置
2か月前
独立行政法人 国立印刷局
印刷物
9か月前
三光株式会社
感熱記録材料
8か月前
独立行政法人 国立印刷局
貼付機構
3か月前
株式会社リコー
画像形成装置
2か月前
株式会社リコー
液体吐出装置
6か月前
株式会社リコー
画像形成装置
3か月前
株式会社リコー
液体吐出装置
7か月前
株式会社リコー
液体吐出装置
3か月前
株式会社リコー
液体吐出装置
7か月前
独立行政法人 国立印刷局
貼付装置
3か月前
株式会社リコー
画像形成装置
2か月前
株式会社リコー
液体吐出装置
6か月前
株式会社リコー
印刷システム
2か月前
シャープ株式会社
画像形成装置
1か月前
理想科学工業株式会社
印刷装置
2か月前
ブラザー工業株式会社
プリンタ
8か月前
ブラザー工業株式会社
プリンタ
3か月前
カシオ計算機株式会社
印刷装置
1か月前
ブラザー工業株式会社
プリンタ
3か月前
ブラザー工業株式会社
液体吐出ヘッド
2か月前
キヤノン株式会社
画像記録装置
2か月前
キヤノン株式会社
画像形成装置
1か月前
独立行政法人 国立印刷局
潜像印刷物
3か月前
キヤノン株式会社
画像形成装置
5か月前
ブラザー工業株式会社
プリンタ
8か月前
キヤノン株式会社
画像形成装置
8か月前
キヤノン株式会社
画像形成装置
3か月前
キヤノン株式会社
印刷システム
9か月前
キヤノン株式会社
画像形成装置
7か月前
キヤノン株式会社
画像処理装置
6か月前
キヤノン株式会社
画像形成装置
4日前
続きを見る
他の特許を見る