TOP
|
特許
|
意匠
|
商標
特許ウォッチ
Twitter
他の特許を見る
公開番号
2025176830
公報種別
公開特許公報(A)
公開日
2025-12-05
出願番号
2024083180
出願日
2024-05-22
発明の名称
シート製造装置
出願人
セイコーエプソン株式会社
代理人
個人
,
個人
,
個人
主分類
D04H
1/732 20120101AFI20251128BHJP(組みひも;レース編み;メリヤス編成;縁とり;不織布)
要約
【課題】シート製造装置において、シートを形成するための材料が材料を搬送する配管の経路に付着する虞がある。
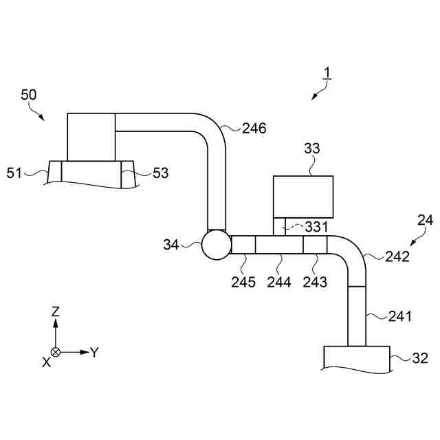
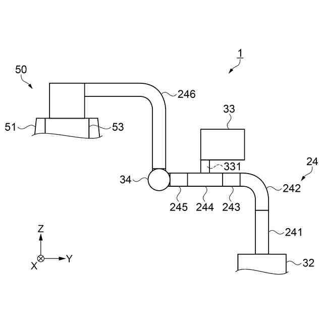
【解決手段】シート製造装置1は、紙片Cを解繊して繊維を含む解繊物を得る解繊部31と、解繊部31から供給される解繊物から繊維を分離する分離部32と、繊維を堆積させてウェブWを形成する堆積部50と、ウェブWを圧縮することでシートP1を成形するシート成形部70と、分離部32と堆積部50とを接続し、分離部32から堆積部50に、繊維を搬送する配管24と、を備える。配管24において繊維が搬送される経路は、導電性を有する部材で構成され、経路の屈曲部は、経路の他の部分を構成する部材より表面抵抗率が高い中抵抗部材で構成される。
【選択図】図2
特許請求の範囲
【請求項1】
繊維を含む材料を解繊して前記繊維を含む解繊物を得る解繊部と、
前記解繊部から供給される前記解繊物から前記繊維を分離する分離部と、
前記繊維を堆積させてウェブを形成する堆積部と、
前記ウェブを圧縮することでシートを成形するシート成形部と、
前記分離部と前記堆積部とを接続し、前記分離部から前記堆積部に、前記繊維を搬送する配管と、
を備え、
前記配管において前記繊維が搬送される経路は、導電性を有する部材で構成され、
前記経路の屈曲部は、前記経路の他の部分を構成する部材より表面抵抗率が高い中抵抗部材で構成される、
ことを特徴とするシート製造装置。
続きを表示(約 280 文字)
【請求項2】
前記配管は、前記経路の他の部分として直線部を有する、
ことを特徴とする請求項1に記載のシート製造装置。
【請求項3】
前記中抵抗部材の表面抵抗率は、10^6Ω/SQ以上10^12Ω/SQ以下である、
ことを特徴とする請求項1に記載のシート製造装置。
【請求項4】
前記中抵抗部材は、導電性樹脂である、
ことを特徴とする請求項1に記載のシート製造装置。
【請求項5】
前記経路の他の部分を構成する部材は、金属である、
ことを特徴とする請求項1に記載のシート製造装置。
発明の詳細な説明
【技術分野】
【0001】
本開示は、シート製造装置に関する。
続きを表示(約 1,500 文字)
【背景技術】
【0002】
特許文献1には、解繊部と、分離装置と、ウェブ形成部と、シート形成部と、を備えるシート製造装置が開示されている。解繊部は、繊維を含む原料を解繊する。分離装置は、解繊部で解繊された解繊物から異物を除去する。ウェブ形成部は、分離装置で異物が除去された解繊物を堆積させることでウェブを形成する。シート形成部は、ウェブ形成部で形成されたウェブからシートを形成する。
【先行技術文献】
【特許文献】
【0003】
特開2020-121294号公報
【発明の概要】
【発明が解決しようとする課題】
【0004】
特許文献1のシート製造装置では、分離装置で異物が除去された解繊物は、分離装置とウェブ形成部とを接続する管の中をウェブ形成部に向けて気流で搬送される。この場合、解繊物が気流で搬送されることで帯電し、解繊物が管の内壁に付着する虞がある。
【課題を解決するための手段】
【0005】
シート製造装置は、繊維を含む材料を解繊して前記繊維を含む解繊物を得る解繊部と、前記解繊部から供給される前記解繊物から前記繊維を分離する分離部と、前記繊維を堆積させてウェブを形成する堆積部と、前記ウェブを圧縮することでシートを成形するシート成形部と、前記分離部と前記堆積部とを接続し、前記分離部から前記堆積部に、前記繊維を搬送する配管と、を備え、前記配管において前記繊維が搬送される経路は、導電性を有する部材で構成され、前記経路の屈曲部は、前記経路の他の部分を構成する部材より表面抵抗率が高い中抵抗部材で構成される。
【図面の簡単な説明】
【0006】
実施形態に係るシート製造装置の構成を示す模式図。
分離部と堆積部とを接続する配管の構成を示す模式図。
【発明を実施するための形態】
【0007】
以下の実施形態では、本発明のシート製造装置として、繊維を含む材料である古紙などを乾式にてシートに再生するシート製造装置1を例示する。以下、シート製造装置1について、図面を参照して説明が行われる。本発明のシート製造装置は、乾式であることに限定されず、湿式であってもよい。本明細書において乾式とは、液体中で実施されずに、大気などの空気中で実施されることをいう。
【0008】
各図において同一部材には同一符号を付し、重複する説明は省略する。本明細書に記載する場合の「同じ」、「同一」、「同時」は、完全に同じであることのみを指さない。例えば、本明細書において、「同じ」、「同一」、「同時」と記載する場合には、測定誤差を考慮して同じである場合を含むものとする。また、例えば、本明細書において、「同じ」、「同一」、「同時」と記載する場合には、部材の製造ばらつきを考慮して同じである場合を含むものとする。
【0009】
本明細書において、「同じ」、「同一」、「同時」と記載する場合には、機能を損なわない範囲で同じである場合を含むものとする。よって、例えば、「両者の寸法が同じである」とは、測定誤差、部材の製造ばらつきを考慮し、両者の寸法差が、一方の寸法の±5パーセント以内、特に好ましくは±3パーセント以内であることを指す。
【0010】
各図においてX、Y、Zは、互いに直交する3つの空間軸を表している。本明細書では、これらの軸に沿った方向をX軸方向、Y軸方向及びZ軸方向とする。向きを特定する場合には、正の方向を「+」、負の方向を「-」として、方向表記に正負の符合を併用し、各図の矢印が向かう向きを+方向、矢印の反対方向を-方向として説明する。
(【0011】以降は省略されています)
この特許をJ-PlatPat(特許庁公式サイト)で参照する
関連特許
セイコーエプソン株式会社
微細化装置
6日前
セイコーエプソン株式会社
微細化装置
6日前
セイコーエプソン株式会社
液体吐出装置
今日
セイコーエプソン株式会社
流体デバイス
11日前
セイコーエプソン株式会社
シート製造装置
4日前
セイコーエプソン株式会社
フィルター装置
11日前
セイコーエプソン株式会社
時計用部品及び時計
4日前
セイコーエプソン株式会社
成形方法及び成形装置
4日前
セイコーエプソン株式会社
三次元造形物の製造方法
4日前
セイコーエプソン株式会社
印刷装置、及び制御方法
4日前
セイコーエプソン株式会社
電気光学装置および電子機器
4日前
セイコーエプソン株式会社
光源装置およびプロジェクター
11日前
セイコーエプソン株式会社
振動素子、振動子、及び発振器
5日前
セイコーエプソン株式会社
媒体搬送装置及び画像読取装置
5日前
セイコーエプソン株式会社
光源装置およびプロジェクター
11日前
セイコーエプソン株式会社
記録装置、及びクリーニング装置
4日前
セイコーエプソン株式会社
印刷装置及び印刷装置の制御方法
4日前
セイコーエプソン株式会社
巻取装置、及び印刷巻取システム
5日前
セイコーエプソン株式会社
時計用部品および時計用部品の製造方法
11日前
セイコーエプソン株式会社
流体デバイスの駆動方法、及び流体デバイス
今日
セイコーエプソン株式会社
容器供給装置、容器供給方法および蓋閉め装置
4日前
セイコーエプソン株式会社
電気光学装置、電気光学パネル及びドライバー
4日前
セイコーエプソン株式会社
材料吐出装置、三次元造形装置、及び射出成形装置
4日前
セイコーエプソン株式会社
記録装置
4日前
セイコーエプソン株式会社
記録装置
4日前
セイコーエプソン株式会社
液体吐出装置
4日前
セイコーエプソン株式会社
固定状態判定方法、固定状態判定装置および固定状態判定システム
4日前
セイコーエプソン株式会社
レシートシステム、レシートシステムの制御方法、及び、サーバー
11日前
セイコーエプソン株式会社
粒子被覆膜厚記録ユニット、粒子被覆装置および粒子被覆膜厚管理方法
4日前
セイコーエプソン株式会社
エンコーダーの故障診断方法、ロボット監視装置およびロボットシステム
4日前
セイコーエプソン株式会社
プルーフ画像データを作成する方法、プルーフ画像データ作成装置、および、コンピュータープログラム
4日前
セイコーエプソン株式会社
プルーフ画像データを作成する方法、プルーフ画像データ作成装置、および、コンピュータープログラム
4日前
セイコーエプソン株式会社
プルーフ画像データを作成する方法、プルーフ画像データ作成装置、および、コンピュータープログラム
4日前
セイコーエプソン株式会社
振動素子、物理量センサー、慣性計測装置、電子機器および移動体
4日前
東レ株式会社
編地
5か月前
東レ株式会社
不織布の製造装置
2か月前
続きを見る
他の特許を見る